Водонагреватели Zanussi ZWH/S 100 Splendore XP (Silver) - инструкция пользователя по применению, эксплуатации и установке на русском языке. Мы надеемся, она поможет вам решить возникшие у вас вопросы при эксплуатации техники.
Если остались вопросы, задайте их в комментариях после инструкции.
"Загружаем инструкцию", означает, что нужно подождать пока файл загрузится и можно будет его читать онлайн. Некоторые инструкции очень большие и время их появления зависит от вашей скорости интернета.

5
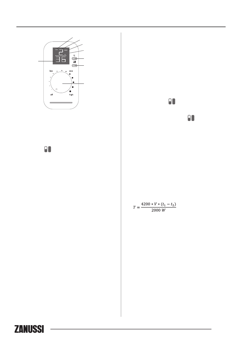
Панель управления
1
2
7
3
4
5
6
8
power
on/off
3
4
2
1
Splendore XP (Silver)
1. Кнопка «°С» — микропереключатель,
при нажатии на экране отображается
установленная температура нагрева
2. Кнопка «
» — микропереключатель
(без фиксации) при нажатии поочередно
переключает мощность нагрева.
1 step — половинная мощность — 1300 Вт,
2 step — полная мощность — 2000 Вт,
на экране соответственно отображается
1 или 2.
3. Дисплей
4. Индикатор "Power" — загорается когда
идет нагрев.
5. Ступень мощности нагрева (1 — поло
винная, 2 — полная);
6. Индикатор «
ECO
» загорается при уста
новленной температуре в диапазоне от
50 до 55 градусов;
7. Текущая температура воды в баке
8. Ручка регулировки температуры
o f f — метка соответствует отключению
водонагревателя, переводя руко
ятку в положение off раздается
характерный щелчок.
low — метка соответствует минимальной
температуре нагрева воды в водо
нагревателе (включение нагрева).
ECO
— метка экономичного режима соот
ветствует температуре нагрева
воды в водонагревателе до 55 °С.
high — метка справа соответствует мак
симальной температуре нагрева
воды в водонагревателе (75 °С)
9. Функция таймер или отложенный запуск
Система может установить время подго
товки горячей воды на время заданное на
часы или сутки:
Установка таймера часов: При зажатии
верхней кнопки «°С» на 5 сек, нижняя
цифра начинает мигать 00, при повторном
нажатии верхней кнопки «°С» увеличива
ется на 1 час, при зажатии верхней кнопки
«°С» увеличивает часы +1 час каждые 0,5
сек, диапазон настройки от 1 до 99 часов.
Установка таймера дней: При зажатии
нижней кнопки «
» на 5 сек, нижняя
цифра начинает мигать 00, при повторном
нажатии увеличивается на 1 день, при
зажатии нижней кнопки «
» увеличивает
дни на 1 день каждые 0.5 сек, диапазон
настройки от 1 до 99 дней.
Через 5 секунд после последнего нажа
тия, система принимает установленное
время, в режим ожидания, нагрев отклю
чен экран отображает текущую температу
ру в баке.
Обнуление таймера производится путем
поворота регулятора в положение OFF.
При подготовке горячей воды, нагрев
производится на 2 ступени мощности
нагрева, нагреватели включаются забла
говременно и рассчитывается по фор
муле:
T — время включения нагревателей;
V — объем бака водонагревателя;
t1 — установленная температура
на термостате;
t2 — температура воды в баке
на момент включения;
2000 W — мощность нагревательного
элемента.
Содержание
- 2 Мы благодарим Вас за сделанный выбор!; Содержание
- 3 Правила безопасности
- 4 Устройство прибора; температуры около 55 °С; Назначение
- 5 Панель управления; ECO
- 7 Тройник подсоединения холодной воды в; Под клю че ние к во до про во ду
- 8 Запрещенныйобъем; – это про стран ство,; Защитныйобъем; – это про стран ство, ог ра
- 9 Устранение неполадок; Наполнениеводой
- 10 Модель; Технические характеристики; • 100% предотвращение поражения
- 11 Уход и техническое обслуживание
- 12 Срок службы прибора — 8 лет.; SN XXXXXXX XXXX XXXXXX XXXXX
- 13 С и относительной влажности; Сертификация; Орган по сертификации:
- 14 Га ран тий ный та лон