Водонагреватели WERTRUS 10LT white W2016 - инструкция пользователя по применению, эксплуатации и установке на русском языке. Мы надеемся, она поможет вам решить возникшие у вас вопросы при эксплуатации техники.
Если остались вопросы, задайте их в комментариях после инструкции.
"Загружаем инструкцию", означает, что нужно подождать пока файл загрузится и можно будет его читать онлайн. Некоторые инструкции очень большие и время их появления зависит от вашей скорости интернета.

4
- 4 -
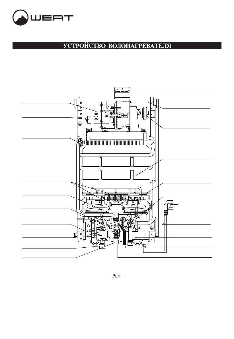
З а п а л ь н ы е с веч и
Эл е к то рд и о н и з а ц и и
Го р ел к а
Ш н ур эл е к т р о п и та н и я
П р е с с о с тат
Д ат ч и к т я г и
В е н т и л я то р
Д ы м о от вод я щ а я т ру ба
Те п л о о бм е н н и к
Вход вод ы
С б р о с н о й к л а п а н
М и к р о в ы к л юч ател ъ
О с н о ва н и е п р и б о р а
Вход газ а
Д ат ч и к п е р е г р е ва
Ре г ул я то р п од ач и газ а
Ъ л о к р оз ж и га
Эл е к т р о м а г н и т н ы й к л а п а н
В ы ход го ря ч е й вод ы