Водонагреватели TIMBERK RE19, 100 л, SWH RE19 100 V - инструкция пользователя по применению, эксплуатации и установке на русском языке. Мы надеемся, она поможет вам решить возникшие у вас вопросы при эксплуатации техники.
Если остались вопросы, задайте их в комментариях после инструкции.
"Загружаем инструкцию", означает, что нужно подождать пока файл загрузится и можно будет его читать онлайн. Некоторые инструкции очень большие и время их появления зависит от вашей скорости интернета.

IM2019
7
5.
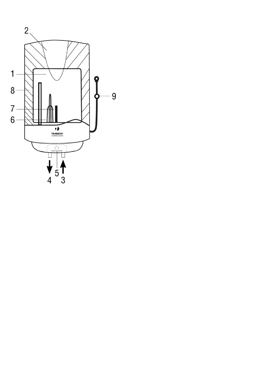
ОПИСАНИЕ ВОДОНАГРЕВАТЕЛЯ
Рисунок 2*
*
Изображение приведено в качестве справочной информации и может отличаться от реального
прибора
1. Внутренний резервуар
2. Внешний корпус
3. Входной патрубок
4. Патрубок выхода горячей воды
5. Электронная панель управления
6. «Сухой» нагревательный элемент (ТЭН)
7. Защитный магниевый анод
8. Теплоизоляция
9. Сетевой шнур с УЗО
6.
КОМПЛЕКТ ПОСТАВКИ
1. Водонагреватель – 1 шт.
2. Анкерный болт – 2 шт.
3. Предохранительный клапан – 1 шт.
4. Руководство по эксплуатации – 1 шт.
5.
Гарантийный талон – 1 шт.
6
. Упаковка – 1 шт.













