Водонагреватели Timberk Intelligent T-WSS50-FS51D-H - инструкция пользователя по применению, эксплуатации и установке на русском языке. Мы надеемся, она поможет вам решить возникшие у вас вопросы при эксплуатации техники.
Если остались вопросы, задайте их в комментариях после инструкции.
"Загружаем инструкцию", означает, что нужно подождать пока файл загрузится и можно будет его читать онлайн. Некоторые инструкции очень большие и время их появления зависит от вашей скорости интернета.

IM2021
46
9.
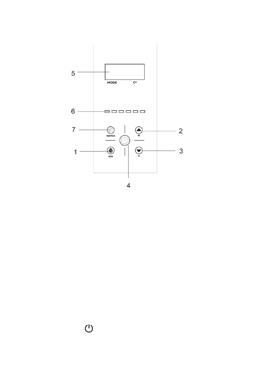
УПРАВЛІННЯ ВОДОНАГРІВАЧЕМ
Панель управління
* Зображення приведено в якості довідкової інформації й може відрізнятися від
реальної панелі управління.
1. Режим «ECO»
2. Збільшення температури нагрівання води
3.
Зменшення температури нагрівання води
4. Кнопка увімкнення/вимкнення: для увімкнення та вимкнення приладу
5. Дисплей
6. Світловий індикатор
7. Кнопка вибору режиму потужності
Експлуатація водонагрівача
1.
Спочатку відкрийте один з кранів виходу гарячої води, потім відкрийте кран
подачі холодної води. Електричний водонагрівач почне наповнюватися водою.
Коли з крана гарячої води вільно витікає вода, це означає, що водонагрівач
повністю наповнився водою та кран виходу гарячої води можна закрити.
ПРИМІТКА!
Під час звичайної роботи кран подачі холодної води повинен бути у положенні
«open» («відкрито»).
2. Вставте електричну вилку в розетку.
3. За допомогою кнопки «
» увімкніть водонагрівач. При увімкненні на дисплеї
з’явиться актуальна температура води та режим нагрівання.
Содержание
- 4 НАЗНАЧЕНИЕ ПРИБОРА
- 5 РАБОЧИЕ ХАРАКТЕРИСТИКИ
- 6 типа
- 7 *Изображение приведено в качестве справочной информации и может
- 8 КОМПЛЕКТ ПОСТАВКИ; изменять содержимое комплекта поставки данного прибора; УСТАНОВКА ВОДОНАГРЕВАТЕЛЯ
- 9 стены, что может привести к его повреждению и даже к серьёзным; Рисунок 3 Рисунок 4; давление воды в водонагревателе, соответствует давлению воды в
- 10 повторное использование старых шлангов не допускается; Подключение к электрической сети
- 11 В местах или на стене, куда может попасть вода, высота установки
- 13 » включите водонагреватель. При включении на
- 14 Вилка и розетка не должны чрезмерно нагреваться.
- 17 УТИЛИЗАЦИЯ, СРОК СЛУЖБЫ, ГАРАНТИЙНЫЙ СРОК













