Водонагреватели Thermex MK 100V - инструкция пользователя по применению, эксплуатации и установке на русском языке. Мы надеемся, она поможет вам решить возникшие у вас вопросы при эксплуатации техники.
Если остались вопросы, задайте их в комментариях после инструкции.
"Загружаем инструкцию", означает, что нужно подождать пока файл загрузится и можно будет его читать онлайн. Некоторые инструкции очень большие и время их появления зависит от вашей скорости интернета.

10
9.
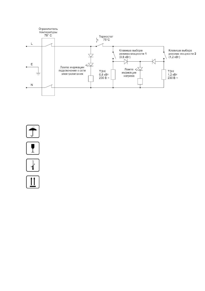
СХЕМА ЭЛЕКТРИЧЕСКИХ СОЕДИНЕНИЙ
10.
ТРАНСПОРТИРОВКА И ХРАНЕНИЕ ЭЛЕКТРОВОДОНАГРЕВАТЕЛЕЙ
Транспортировка и хранение электроводонагревателей осуществляется в со-
ответствии с манипуляционными знаками на упаковке:
Необходимость защиты груза от воздействия влаги
Хрупкость груза, условие осторожного обращения
Рекомендованный температурный диапазон хранения груза:
от +4°С до +40°С
Правильное вертикальное положение груза;
11.
УТИЛИЗАЦИЯ
При соблюдении правил установки, эксплуатации и технического обслужива-
ния ЭВН и соответствии качества используемой воды действующим стандартом
изготовитель устанавливает на него срок службы 7 лет от даты покупки ЭВН. Все
составные части водонагревателя изготовлены из материалов, допускающих, в
случае необходимости, экологически безопасную его утилизацию, которая должна
происходить в соответствии с нормами и правилами той страны, где эксплуатиру-
ется водонагреватель.
Содержание
- 6 При монтаже и эксплуатации ЭВН не допускается:
- 9 ЭКСПЛУАТАЦИЯ И ТЕХНИЧЕСКОЕ ОБСЛУЖИВАНИЕ
- 11 ются потребителем самостоятельно или за его счет.; Рисунок 3. Схема расположения кнопки термовыключателя
- 12 ответствии с манипуляционными знаками на упаковке:; УТИЛИЗАЦИЯ
- 13 ГАРАНТИИ ИЗГОТОВИТЕЛЯ; исключить замерзание воды в ЭВН
- 15 Торговое унитарное предприятие «АКВАТЕРМЕКС»; Служба гарантийной и сервисной поддержки в РБ:
- 16 ОТМЕТКА О ПРОДАЖЕ; Подпись представителя; продавца
- 19 Модели; COMBI; Серия напольных комбинированных
- 20 ДОВЕРЬТЕ
Характеристики
Остались вопросы?Не нашли свой ответ в руководстве или возникли другие проблемы? Задайте свой вопрос в форме ниже с подробным описанием вашей ситуации, чтобы другие люди и специалисты смогли дать на него ответ. Если вы знаете как решить проблему другого человека, пожалуйста, подскажите ему :)













