Водонагреватели Термекс THERMEX G 20 D Eco ЭдЭБ01710 - инструкция пользователя по применению, эксплуатации и установке на русском языке. Мы надеемся, она поможет вам решить возникшие у вас вопросы при эксплуатации техники.
Если остались вопросы, задайте их в комментариях после инструкции.
"Загружаем инструкцию", означает, что нужно подождать пока файл загрузится и можно будет его читать онлайн. Некоторые инструкции очень большие и время их появления зависит от вашей скорости интернета.

11
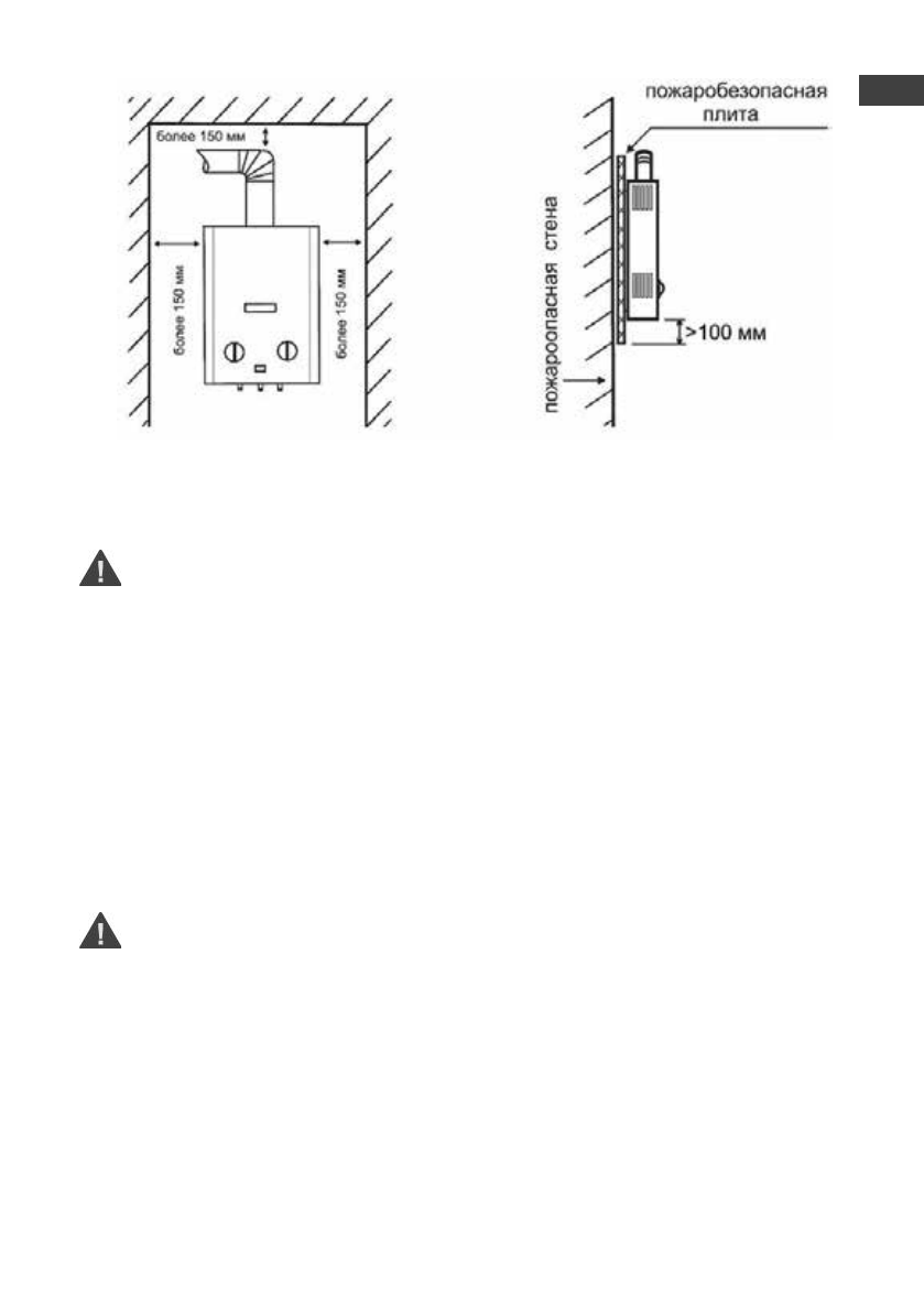
Рисунок 7
Не используйте вентиляционные и общие каналы для отведения
продуктов сгорания. Так как при отводе продуктов сгорания прину-
дительно они попадут в соседние каналы.
3.3 Подключение воды
Для увеличения срока службы ГПВН и улучшения его эксплуатационных ха-
рактеристик рекомендуется устанавливать перед ГПВН фильтр предварительной
очистки воды со степенью очистки не менее 200 мкм (не входит в комплект по-
ставки).
В регионах с жёсткой водой рекомендуется перед ГПВН устанавливать умяг-
чители воды (не входят в комплект поставки).
Подключение ГПВН к водопроводной сети выполнять гибкими рукавами с внут-
ренним диаметром не менее 13 мм и длиной рукавов не более 1,5 м.
Запрещается использовать гибкие рукава, бывшие ранее в употреб-
лении.
Подключение трубопроводов холодной и горячей воды не должно сопровож-
даться взаимным натягом труб и частей ГПВН во избежание смещения или по-
ломки отдельных деталей и частей ГПВН и нарушением герметичности водяной
системы.
Перед подключением ГПВН к водопроводной сети необходимо слить воду из
напорного трубопровода для предотвращения возможного нежелательного попа-
дания в ГПВН грязи и отложений при первом его включении.
После подсоединения трубопроводов к ГПВН необходимо проверить герме-
тичность мест соединений, предварительно заполнив внутренние полости трубо-
провода ГПВН водой. Проверка герметичности производится открытием запорного
ы
RU
Содержание
- 3 RU
- 5 ОПИСАНИЕ И ПРИНЦИП ДЕЙСТВИЯ; ски производить его розжиг при открывании крана горячей воды.
- 7 ОПИСАНИЕ И ПРИНЦИП ДЕЙСТВИЯ ГПВН; скому включению простым открыванием крана горячей воды.; Рисунок 1
- 9 образуя искровые разряды в течение 7 секунд при включении ГПВН; Устройство ГПВН с принудительным отводом выхлопных газов; Рисунок 4
- 10 Рисунок 6
- 13 Рисунок 7; Не используйте вентиляционные и общие каналы для отведения; ренним диаметром не менее 13 мм и длиной рукавов не более 1,5 м.; Запрещается использовать гибкие рукава, бывшие ранее в употреб-; дания в ГПВН грязи и отложений при первом его включении.
- 14 Подключение газа
- 21 ремонтные работы и в ГПВН попало много строительной пыли и мусора.
- 25 ГАРАНТИЯ ИЗГОТОВИТЕЛЯ
- 26 Все модели прошли обязательную сертификацию и соответствуют; претензии по качеству в Российской Федерации:
- 28 плуатации и условиями гарантии ознакомлен и согласен.
- 57 Модели; COMBI; Серия напольных комбинированных
- 58 ДОВЕРЬТЕ СЕРВИС













