Водонагреватели Термекс MS 100 V pro ЭдЭБ01921 - инструкция пользователя по применению, эксплуатации и установке на русском языке. Мы надеемся, она поможет вам решить возникшие у вас вопросы при эксплуатации техники.
Если остались вопросы, задайте их в комментариях после инструкции.
"Загружаем инструкцию", означает, что нужно подождать пока файл загрузится и можно будет его читать онлайн. Некоторые инструкции очень большие и время их появления зависит от вашей скорости интернета.

10
12.
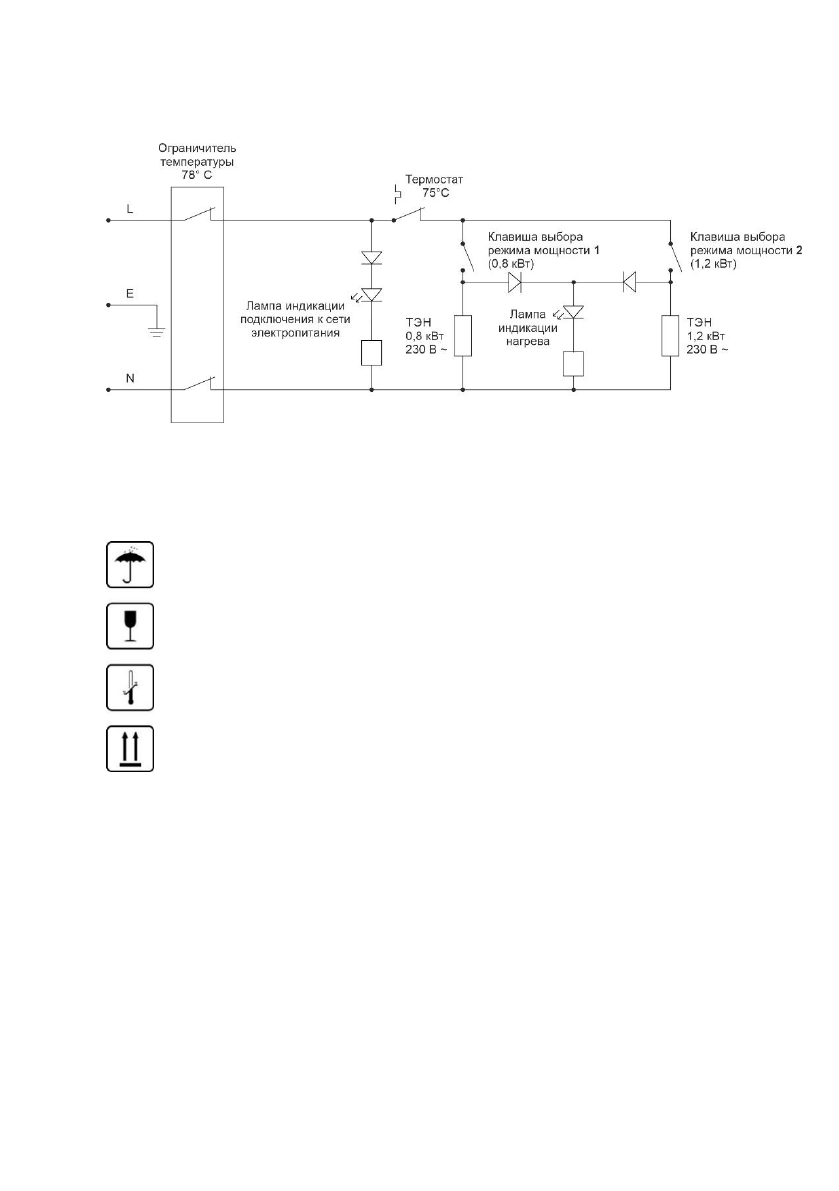
СХЕМА ЭЛЕКТРИЧЕСКИХ СОЕДИНЕНИЙ
Рисунок 4
.
Схема электрических соединений
13.
ТРАНСПОРТИРОВКА И ХРАНЕНИЕ ЭЛЕКТРОВОДОНАГРЕВАТЕЛЕЙ
Транспортировка и хранение электроводонагревателей осуществляется в со-
ответствии с манипуляционными знаками на упаковке:
Необходимость защиты груза от воздействия влаги
Хрупкость груза, условие осторожного обращения
Рекомендованный температурный диапазон хранения груза:
от +5°С до +40°С
Правильное вертикальное положение груза
Правила и условия хранения и перевозки также указаны на упаковке товара.
14.
УТИЛИЗАЦИЯ
При соблюдении правил установки, эксплуатации и технического обслужива-
ния ЭВН и при соответствии качества используемой воды действующим стандар-
там изготовитель устанавливает на него срок службы
9
лет от даты покупки ЭВН.
Все составные части водонагревателя изготовлены из материалов, допускающих
в случае необходимости экологически безопасную его утилизацию, которая
должна происходить в соответствии с нормами и правилами той страны, где экс-
плуатируется водонагреватель.
15.
ГАРАНТИЯ ИЗГОТОВИТЕЛЯ
Изготовитель устанавливает срок гарантии на водонагреватель 1 год, при этом
сроки гарантии на составные части и комплектующие изделия следующие:
Содержание
- 3 УВАЖАЕМЫЙ ПОКУПАТЕЛЬ!; объёмом
- 5 предохранительного клапана и защитной крышки.
- 6 Индикаторами работы ЭВН служат символы индикации (
- 7 Установить предохранительный клапан (
- 9 отключить электропитание ЭВН
- 13 исключить замерзание воды в ЭВН
- 14 московскому; Головной сервисный центр (установка и подключение ЭВН,
- 15 принимающих претензии по качеству в других странах:; Торговое унитарное предприятие «АКВАТЕРМЕКС»; Представник виробника в Украiнi:; ТОВ «Термекс»
- 16 ОТМЕТКА О ПРОДАЖЕ; Подпись представителя; продавца
- 19 ЕЩЁ БОЛЬШЕ; Модели; COMBI; Серия напольных комбинированных