Водонагреватели Термекс G 20 D Golden brown ЭдЭБ00937 - инструкция пользователя по применению, эксплуатации и установке на русском языке. Мы надеемся, она поможет вам решить возникшие у вас вопросы при эксплуатации техники.
Если остались вопросы, задайте их в комментариях после инструкции.
"Загружаем инструкцию", означает, что нужно подождать пока файл загрузится и можно будет его читать онлайн. Некоторые инструкции очень большие и время их появления зависит от вашей скорости интернета.

7
Для безопасной эксплуатации и обслуживания ГПВН необходимо
установить на входе холодной воды, выходе горячей воды и на
входе газа запорные вентили.
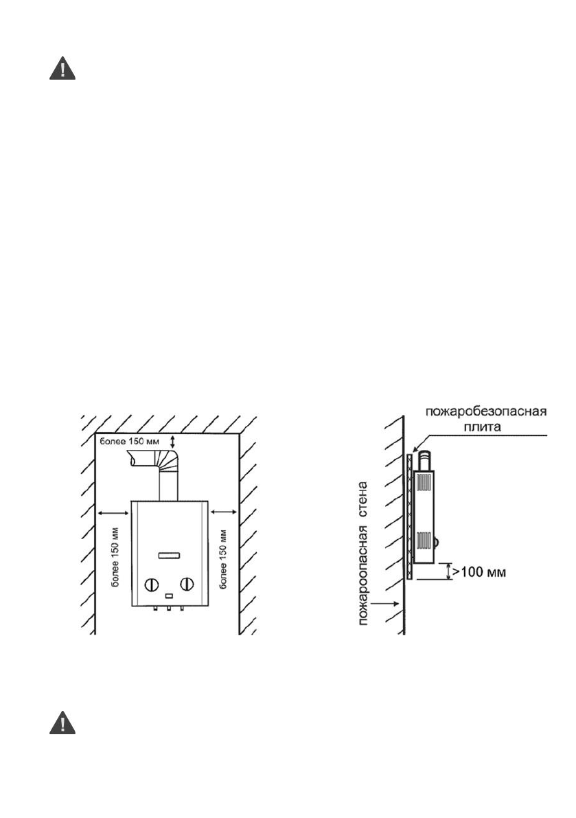
Для осуществления сервисного обслуживания при установке ГПВН необхо-
димо выдержать следующие зазоры:
– расстояние от боковой поверхности ГПВН до боковой стены не менее 150
мм;
– свободное пространство перед лицевой поверхностью ГПВН должно быть
не менее 600 мм;
– снизу ГПВН обеспечить не менее 500 мм. свободного пространства для под-
ключения и обслуживания ГПВН;
– расстояние от дымоходной трубы до ближайшей поверхности не менее 150
мм.
ГПВН навешивается на закреплённые в стене кронштейны с помощью монтаж-
ных отверстий на каркасе.
ГПВН рекомендуется устанавливать на такой высоте, чтобы смотровое окно
находилось на уровне глаз потребителя.
Запорные краны подвода воды и газа, установленные перед ГПВН, должны
быть легко доступны.
Рисунок 4
Не используйте вентиляционные и общие каналы для отведения
продуктов сгорания. Так как при отводе продуктов сгорания прину-
дительно они попадут в соседние каналы.
Содержание
- 3 УВАЖАЕМЫЙ ПОКУПАТЕЛЬ!; гующей организацией талонов на гарантийный ремонт.; НАЗНАЧЕНИЕ
- 5 новленной на каркасе съёмной облицовкой (; Устройство ГПВН с естественным отводом выхлопных газов; Рисунок 1
- 7 Рисунок 3; ПОРЯДОК УСТАНОВКИ; можно ближе к дымоходу (требования к установке изложены в
- 8 Пламя свечи отклоняется слабо.; не используйте ГПВН; Пламя свечи сильно отклоняется или гаснет.; Монтаж ГПВН; Схема установки ГПВН показана на
- 9 Рисунок 4
- 10 Подключение воды; ренним диаметром не менее 13 мм и длиной рукавов не более 1,5 м.; Подключение газа
- 11 Подключение ГПВН к баллону со сжиженным газом
- 12 ИСПОЛЬЗОВАНИЕ ГПВН
- 13 Регулирование степени нагрева воды; ваться любым из вышеперечисленных способов.; Выключение ГПВН на длительное время; закрыть запорный вентиль горячей воды
- 14 ТЕХНИЧЕСКОЕ ОБСЛУЖИВАНИЕ
- 20 УТИЛИЗАЦИЯ
- 21 ГАРАНТИЯ ИЗГОТОВИТЕЛЯ
- 24 ОТМЕТКА О ПРОДАЖЕ; Подпись представителя; ОТМЕТКА ОБ УСТАНОВКЕ ГПВН; гой организацией, имеющей лицензию на данный вид деятельности.
- 25 Модели; COMBI; Серия напольных комбинированных
- 26 ДОВЕРЬТЕ
Здравствуйте! Подскажите пожалуйста, как правильно снять ручки регуляторы с thermex g 20 d? Какой размер жиклеров нужен для данной модели, размер, чтобы перевести водогрей на сжиженный газ?