Водонагреватели Tatramat EO 944 P - инструкция пользователя по применению, эксплуатации и установке на русском языке. Мы надеемся, она поможет вам решить возникшие у вас вопросы при эксплуатации техники.
Если остались вопросы, задайте их в комментариях после инструкции.
"Загружаем инструкцию", означает, что нужно подождать пока файл загрузится и можно будет его читать онлайн. Некоторые инструкции очень большие и время их появления зависит от вашей скорости интернета.

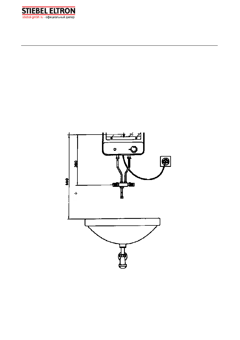
380
440
Инструкция
по
эксплуатации
4
Более
подробное
описание
смесительной
батареи
,
ее
функции
и
обслуживание
приведено
в
инструкции
по
установке
и
обслуживанию
батареи
,
которая
прилагается
к
ней
.
Нагревание
воды
обеспечивает
электрический
элемент
нагрева
,
который
после
достижения
заданной
температуры
автоматически
выключится
термостатом
.
В
емкости
водонагревателя
во
время
работы
создаются
три
температурные
зоны
-
в
верхней
части
горячая
вода
,
в
нижней
части
небольшое
количество
холодной
воды
,
а
между
ними
образуется
переходная
,
так
называемая
,
зона
смешивания
.
При
выпускании
горячей
воды
,
зона
холодной
воды
увеличивается
,
а
когда
она
поднимается
к
границе
,
где
расположен
датчик
термостата
(
около
2 / 3
высоты
бака
),
термостат
снова
включит
обогрев
воды
.
рис
.
№
3
www.stiebel-gmbh.ru • info@stiebel-gmbh.ru • +7 (495) 565-34-82
г. Москва, Каширский проезд, д. 17, строение 5
