Водонагреватели Stiebel Eltron SB 602 AC 71554 - инструкция пользователя по применению, эксплуатации и установке на русском языке. Мы надеемся, она поможет вам решить возникшие у вас вопросы при эксплуатации техники.
Если остались вопросы, задайте их в комментариях после инструкции.
"Загружаем инструкцию", означает, что нужно подождать пока файл загрузится и можно будет его читать онлайн. Некоторые инструкции очень большие и время их появления зависит от вашей скорости интернета.

9
Òåõíèêà äëÿ êîìôîðòà
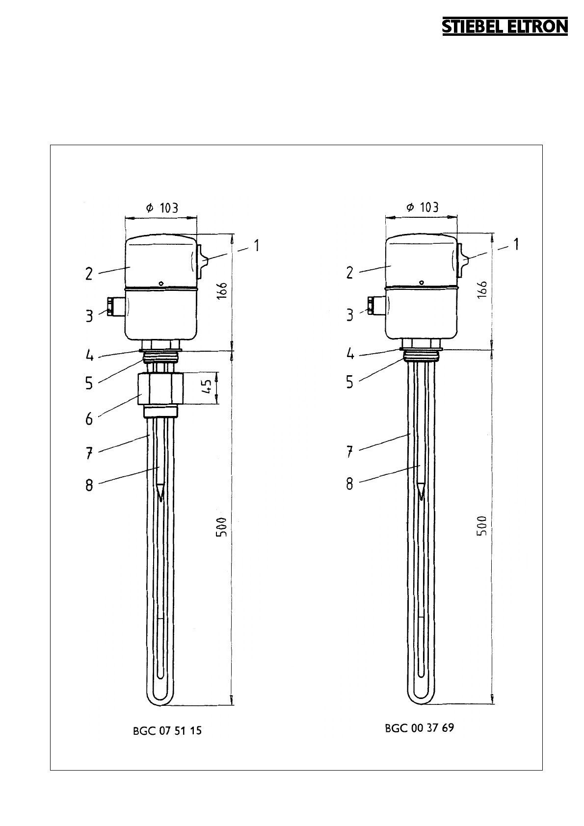
Âèíòîâîé íàãðåâàòåëüíûé ýëåìåíò ÂGC
1 Ðó÷êà âûáîðà òåìïåðàòóðû
2 Êîëïà÷îê
3 Ââîä êàáåëÿ Pg 21
4 Âèíòîâîå ñîåäèíåíèå G 1 1/2
   Øèðèíà êëþ÷à 46 ìì
5 Óïëîòíèòåëüíîå êîëüöî PTFE
6 Óäëèíåíèå G 1 ? - 45 ìì
   Øèðèíà êëþ÷à 55 ìì
   (òîëüêî ïðè àðòèêóëå 07 51 15)
7 Íàãðåâàòåëüíàÿ ãîëîâêà
8 Çàùèòíàÿ òðóáêà äëÿ
ðåãóëÿòîðà òåìïåðàòóðû è
ïðåäîõðàíèòåëÿ îò ïåðåãðåâà

 
  
  
  
  
  
  
  
  
  
  
  
  
 











