Водонагреватели Stiebel Eltron IS 60 E - инструкция пользователя по применению, эксплуатации и установке на русском языке. Мы надеемся, она поможет вам решить возникшие у вас вопросы при эксплуатации техники.
Если остались вопросы, задайте их в комментариях после инструкции.
"Загружаем инструкцию", означает, что нужно подождать пока файл загрузится и можно будет его читать онлайн. Некоторые инструкции очень большие и время их появления зависит от вашей скорости интернета.

STIEBEL ELTRON
5
Инструкция по эксплуатации
для пользователей и квалифицированных специалистов
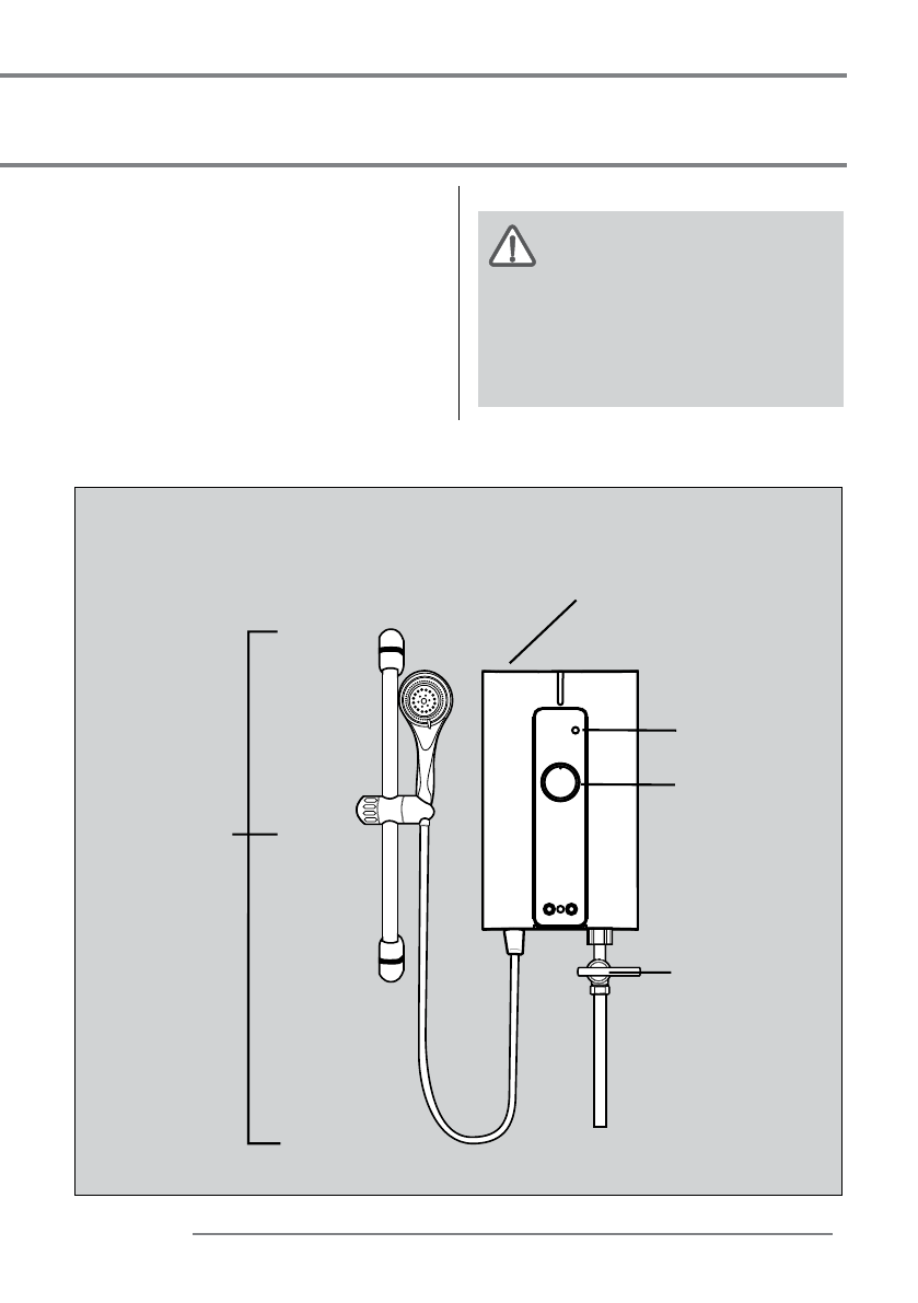
1.2
Краткое описание
A. Клапан подачи воды
B. Поворотная ручка регулятора
температуры
C. Индикатор электропитания Power
D. Душевые принадлежности
C
B
A
D
1.3 Важная информация
В приборе запрещается
создавать давление. Излив
прибора служит также
вентиляционным отверстием. Для
правильного функционирования
душевой насадки нужно регулярно
удалять известковые отложения.
Душевая насадка не должна находиться выше прибора.
Рис. 1
Содержание
- 2 Общие сведения
- 3 Русский; Содержание
- 4 Инструкция по эксплуатации
- 5 Краткое описание; Важная информация
- 6 Процедура проверки; Уход и обслуживание; Производительность нагрева
- 7 Технические характеристики; Рекомендованное сечение кабеля кв. ММ
- 8 Важное примечание; Примечание о техническом
- 9 Гарантия; Неисправность; Reset; Самостоятельное устранение неисправностей
- 10 Инструкция по установке
- 13 Установка прибора