Водонагреватели RODA IHW 1000 УТ000008265 - инструкция пользователя по применению, эксплуатации и установке на русском языке. Мы надеемся, она поможет вам решить возникшие у вас вопросы при эксплуатации техники.
Если остались вопросы, задайте их в комментариях после инструкции.
"Загружаем инструкцию", означает, что нужно подождать пока файл загрузится и можно будет его читать онлайн. Некоторые инструкции очень большие и время их появления зависит от вашей скорости интернета.

17
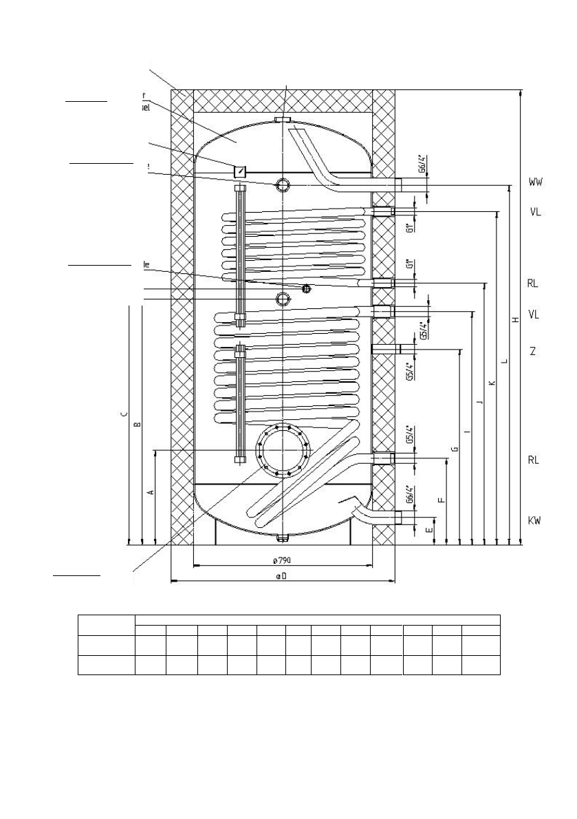
Водонагреватели типов IHW 800-2 и IHW 1000-2
Тип
Размеры (мм)
H
ØD
A
B
C
E
F
G
I
J
K
L
IHW 800-2
2000
1000
415
1080
1125
120
380
860
1025
115
0
146
5
1580
IHW 1000-2
2350
1000
415
1255
1300
120
380
1025
1190
133
5
178
5
1920
4.
Муфта, трубн. цил. резьба 2” (G2)
armantyú G2
Изоляция
Внутренний
эмалированный
резервуар
Термометр
* Муфта, труб. цил.
резьба 5/4” (G5/4)
для анода
Муфта, труб. цил.
резьба 6/4” (G6/4)
для анода
Фланец Ø240
(внутренний
диаметр 175 мм)
Содержание
- 2 В комплект поставки прибора входят:; УВАЖАЕМЫЙ ПОКУПАТЕЛЬ!
- 3 УСТАНОВКА; нижеследующих условий:
- 8 Первый ввод в эксплуатацию
- 9 Осторожно: При сливе может вытекать горячая вода.; При наличии опасности замерзания следует учесть, что вода может; Первый цикл нагрева и контроля за его проведением должен
- 10 ТАЛОН СЕРТИФИКАЦИИ КАЧЕСТВА – ТЕХНИЧЕСКИЕ ДАННЫЕ; Нижний теплообменник
- 11 RODA
- 14 ØD
- 19 Germany; Hajdusagi Ipari Zrt.