Водонагреватели MAUNFELD MWH80W03 - инструкция пользователя по применению, эксплуатации и установке на русском языке. Мы надеемся, она поможет вам решить возникшие у вас вопросы при эксплуатации техники.
Если остались вопросы, задайте их в комментариях после инструкции.
"Загружаем инструкцию", означает, что нужно подождать пока файл загрузится и можно будет его читать онлайн. Некоторые инструкции очень большие и время их появления зависит от вашей скорости интернета.

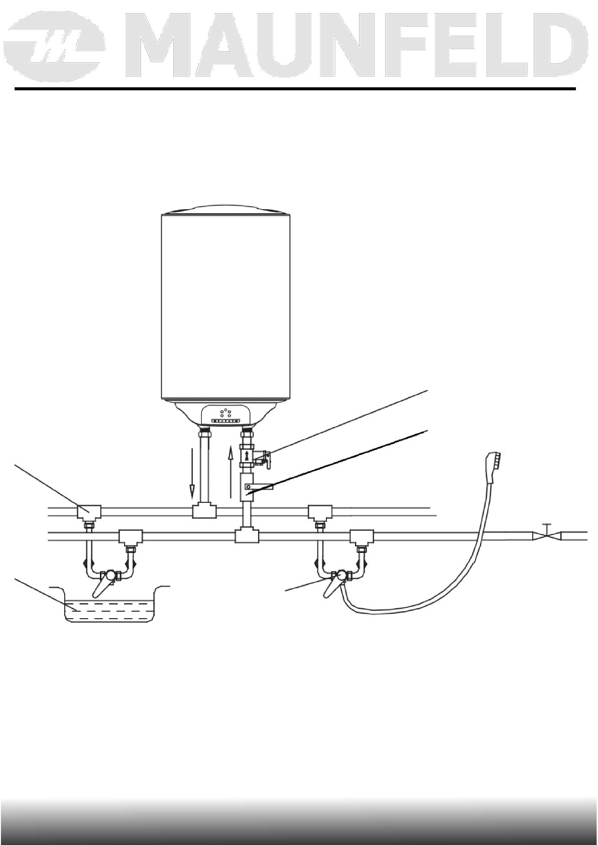
УСТАНОВКА ПРИБОРА
Для подключения водонагревателя к системе труб руководствуйтесь
приведенной ниже схемой.
Выход
горячей
воды
Подача
холодной
воды
Предохранительный клапан
Вентиль
подачи
воды
Тройное
соединение
Бассейн
Кран холодной воды
-14-
www.maunfeld.ru
Кран смесителя
ВЕРТИКАЛЬНОЕ РАСПОЛОЖЕНИЕ
Бассейн
Характеристики
Остались вопросы?Не нашли свой ответ в руководстве или возникли другие проблемы? Задайте свой вопрос в форме ниже с подробным описанием вашей ситуации, чтобы другие люди и специалисты смогли дать на него ответ. Если вы знаете как решить проблему другого человека, пожалуйста, подскажите ему :)