Водонагреватели Kospel SW-300 - инструкция пользователя по применению, эксплуатации и установке на русском языке. Мы надеемся, она поможет вам решить возникшие у вас вопросы при эксплуатации техники.
Если остались вопросы, задайте их в комментариях после инструкции.
"Загружаем инструкцию", означает, что нужно подождать пока файл загрузится и можно будет его читать онлайн. Некоторые инструкции очень большие и время их появления зависит от вашей скорости интернета.

%XGRZDZ\PLHQQLNyZ6%6%=6:6:=O
16
15
13
14
12
10
11
20
21
17
18
ZW
PG1
6
ZG1
PG2
C
6
ZG2
CW
ø695 (250, 300)
ø755 (400)
G3/4
G1
A
B
G1/2
C
D
E
F
G
H
G3/4
G1
G1
G1/2
G1
G3/4
8UXFKRPLHQLH
3U]HG XUXFKRPLHQLHP Z\PLHQQLND QDOHĪ\
RSW\F]QLHVSUDZG]LüSRGáąF]HQLHXU]ąG]HQLD
RUD]SUDZLGáRZRĞüPRQWDĪX]JRGQLH]HVFKH
PDWDPL:\PLHQQLNQDOHĪ\QDSHáQLüZRGą
RWZRU]\ü ]DZyU QD GRSURZDG]HQLX
]LPQHMZRG\
RWZRU]\ü ]DZyU SRERUX FLHSáHM ZRG\
ZLQVWDODFMLZ\Sá\ZSHáQHJRVWUXPLHQLD
ZRG\EH]SĊFKHU]\SRZLHWU]DĞZLDGF]\
RQDSHáQLHQLX]ELRUQLND
]DPNQąü]DZRU\F]HUSDOQH
2WZRU]\ü]DZRU\áąF]ąFHLQVWDODFMĊVRODUQą
L JU]HZF]ą ] Z\PLHQQLNLHP 6SUDZG]Lü
V]F]HOQRĞü SRáąF]HĔ SR VWURQLH ZRG\ XĪ\W
NRZHM L SR VWURQLH F]\QQLNyZ JU]HZF]\FK
6SUDZG]LüG]LDáDQLH]DZRUXEH]SLHF]HĔVWZD
]JRGQLH]LQVWUXNFMąSURGXFHQWD]DZRUX
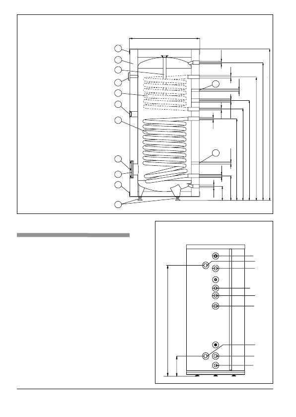
>@ UXUNDF]XMQLND
>@ NUyFLHFJU]DáNLHOHNWU\F]QHMNRUHN
ò
>@ ZĊĪRZQLFDJU]HMQDGROQD
>@ ZĊĪRZQLFDJU]HMQDJyUQD
>@ DQRGDPDJQH]RZD
>@ WHUPRPHWU
>@ L]RODFMDWHUPLF]QD
>@ SRNU\ZDJyUQD
>@ SRNU\ZDGROQD
>@ VWRSNL
>@ RWZyUUHZL]\MQ\¡
>@ SRNU\ZDRWZRUXUHZL]\MQHJR
=: ]LPQDZRGD
&: FLHSáDZRGD
& F\UNXODFMD
=*=*]DVLODQLHF]\QQLNLHPJU]HZF]\P
3*3*SRZUyWF]\QQLNDJU]HZF]HJR
$, Z\PLDU\RNUHĞORQHZWDEHOL'DQH
WHFKQLF]QH
I
B
CW
ZG3(1”)
ZG2
C
PG2
ZG1
PG3(1”)
PG1
ZW
3RáRĪHQLHPXIGRSRGáąF]HQLD]HZQĊWU]QHJR
Z\PLHQQLNDZ6:=L6%=
*yUQDZĊĪRZQLFDSU]\áąF]D=*
3* RUD] JyUQD UXUND F]XMQLND
Z\VWĊSXMą W\ONR Z PRGHODFK
6%L6%=

