Водонагреватели Kospel SW-250 - инструкция пользователя по применению, эксплуатации и установке на русском языке. Мы надеемся, она поможет вам решить возникшие у вас вопросы при эксплуатации техники.
Если остались вопросы, задайте их в комментариях после инструкции.
"Загружаем инструкцию", означает, что нужно подождать пока файл загрузится и можно будет его читать онлайн. Некоторые инструкции очень большие и время их появления зависит от вашей скорости интернета.

$XIEDXGHU6SHLFKHU6%6%=6:6:=O
16
15
13
14
12
10
11
20
21
17
18
ZW
PG1
6
ZG1
PG2
C
6
ZG2
CW
ø695 (250, 300)
ø755 (400)
G3/4
G1
A
B
G1/2
C
D
E
F
G
H
G3/4
G1
G1
G1/2
G1
G3/4
,QEHWULHEQDKPH
9RUGHU,QEHWULHEQDKPHVROOWHPDQRSWLVFKGLH
$QVFKOVVHGHV*HUlWVSUIHQXQGGLH0RQ
WDJH PXVV JHPl GHV 6FKHPDV HUIROJHQ
'HU6WDQGVSHLFKHULVWPLW:DVVHU]XIOOHQ
GDV9HQWLODP.DOWZDVVHU]XODXI|IIQHQ
GDV 9HQWLO DQ GHU :DUPZDVVHUDUPDWXU
|IIQHQ EODVHQIUHLHU :DVVHUDXVWULWW
GHXWHWDXIHLQHQJHIOOWHQ%HKlOWHUKLQ
GLH 9HQWLOH DQ GHQ (QWQDKPHVWHOOHQ
]XGUHKHQ
'LH9HQWLOHGHU6RODU±XQG+HL]DQODJHGHV
6WDQGVSHLFKHUV |IIQHQ 'LH 'LFKWKHLW GHU
9HUELQGXQJHQDQGHU6HLWHGHV%UDXFKZDV
VHUVXQG:lUPHWUlJHUVSUIHQ)XQNWLRQGHV
6LFKHUKHLWVYHQWLOV EHUSUIHQ JHPl GHU
%HGLHQXQJVDQOHLWXQJGHV9HQWLOKHUVWHOOHUV
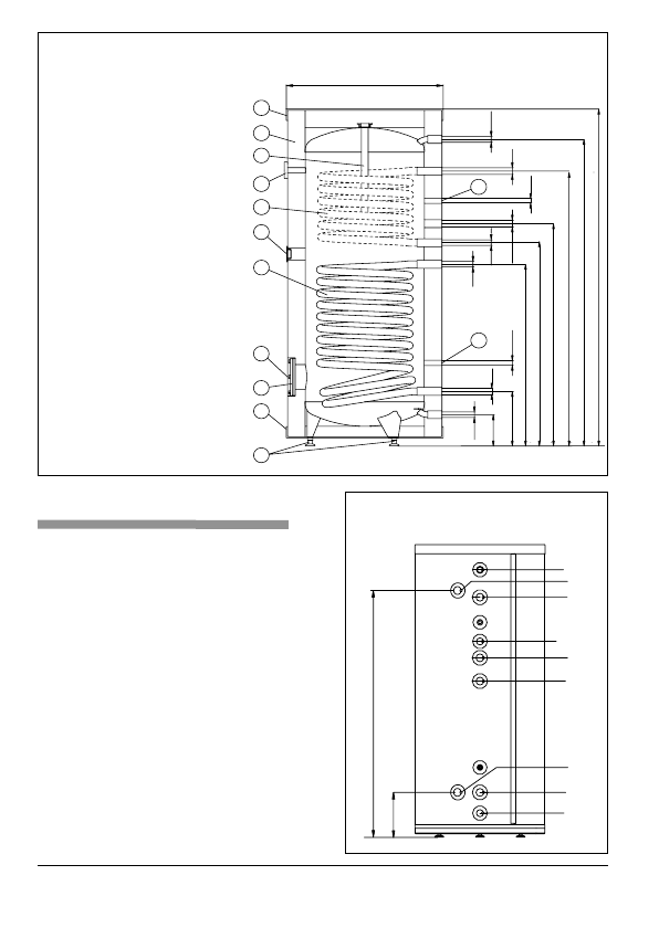
>@ )KOHUURKU
>@ +HL]SDWURQHQVWXW]HQ.RUNHQò
>@ XQWHUHV+HL]UHJLVWHU
>@ REHUHV+HL]UHJLVWHU
>@ 0DJQHVLXPDQRGH
>@ 7KHUPRPHWHU
>@ 7KHUPLVFKH,VROLHUXQJ
>@ REHUHU'HFNHO
>@ XQWHUHU'HFNHO
>@ 6WHOOIVVH
>@ 5HYLVLRQV|IIQXQJ¡
>@ 'HFNHOGHU5HYLVLRQV|IIQXQJ
=: .DOWZDVVHU
&: :DUPZDVVHU
& =LUNXODWLRQ
=*=*9HUVRUJXQJDQKDQG:lUPHWUlJHUV
3*3*5FNODXIGHV:lUPHWUlJHUV
$+$EPHVVXQJHQ VLQG LQ GHU 7DEHOOH
Ä
7HFKQLVFKH'DWHQ´
I
B
CW
ZG3(1”)
ZG2
C
PG2
ZG1
PG3(1”)
PG1
ZW
/DJHGHU5HYLVLRQV|IIQXQJHQ]XPH[WHUQHQ
$QVFKOXVVGHV3XIIHUVSHLFKHUV6:=XQG6%=
'DVREHUH5HJLVWHU6WXW]HQ=*
3* XQG GDV REHUH )KOHUURKU
NRPPHQQXULQGHQ0RGHOOHQ6%
XQG6%=YRU

