Водонагреватели INNOVITA Amalfi 14 RS i NG с закрытой камерой 30000933 - инструкция пользователя по применению, эксплуатации и установке на русском языке. Мы надеемся, она поможет вам решить возникшие у вас вопросы при эксплуатации техники.
Если остались вопросы, задайте их в комментариях после инструкции.
"Загружаем инструкцию", означает, что нужно подождать пока файл загрузится и можно будет его читать онлайн. Некоторые инструкции очень большие и время их появления зависит от вашей скорости интернета.

On111caH111e ycrpoMcrea
Amalfi RSi - IIIAea!lbHaR CIIICTeMa AflR np01113B0ACTBa ropRYeiil B0Abl B KoMnJ1eKTa4111R B0A0HarpeBaTe!lR BKJllOYaeT:
A0MaWHIIIX ycn0BIIIRX.
1 KpOHWTeiilH A/lR Kpen11eHl1R Ha CTeHy e B11HTaMl1 lii npo6KaMl1
YnpaBJ1eH111e TeMnepa-rypoiil ocyL11eCTBJ1ReTCR Yepe3 naHe!lb ynpasneHIIIR
1
npOTIIIBOAblMH bliil Cj)l]aHeu,
B0A0HarpeBaTeneM: TeMnepaTypa n0BblWaeTCR 111!1111 n0Hlll>KaeTCR np0CTblM
1
K0/lbl.1,0 CHlll>KeHIIIR BblX/lOnOB
BP8L11eH111eM K0A0B0ro A8TYIIIK8, o6ecneYIIIB8R np01113B0ACTB0 ropsiYeiil B0Abl 1 6yMa>KHbliil TpacpapeT
38AaHHOiil TeMnepa-rypbl.
1
Ha6op BIIIHT0B lii npo6oK
Amalfi RSi Bblpa6aTblBaeT ropRYYIO B0AY, 06ecneY111BaR ee HenpepblBHbliil
111 6eCKOHeYHbliil n0TOK.
P03>Klllr 3JleKTP0HHbliil, n03T0MY 0TCYTCTByeT M8!18R ropenKa, YT0 3H8YIIIT,
YT0 np111 38Kpb1T0M KpaHe ropsiYeiil B0Abl noTpe6neH111e ra3a 0TCYTCTByeT.
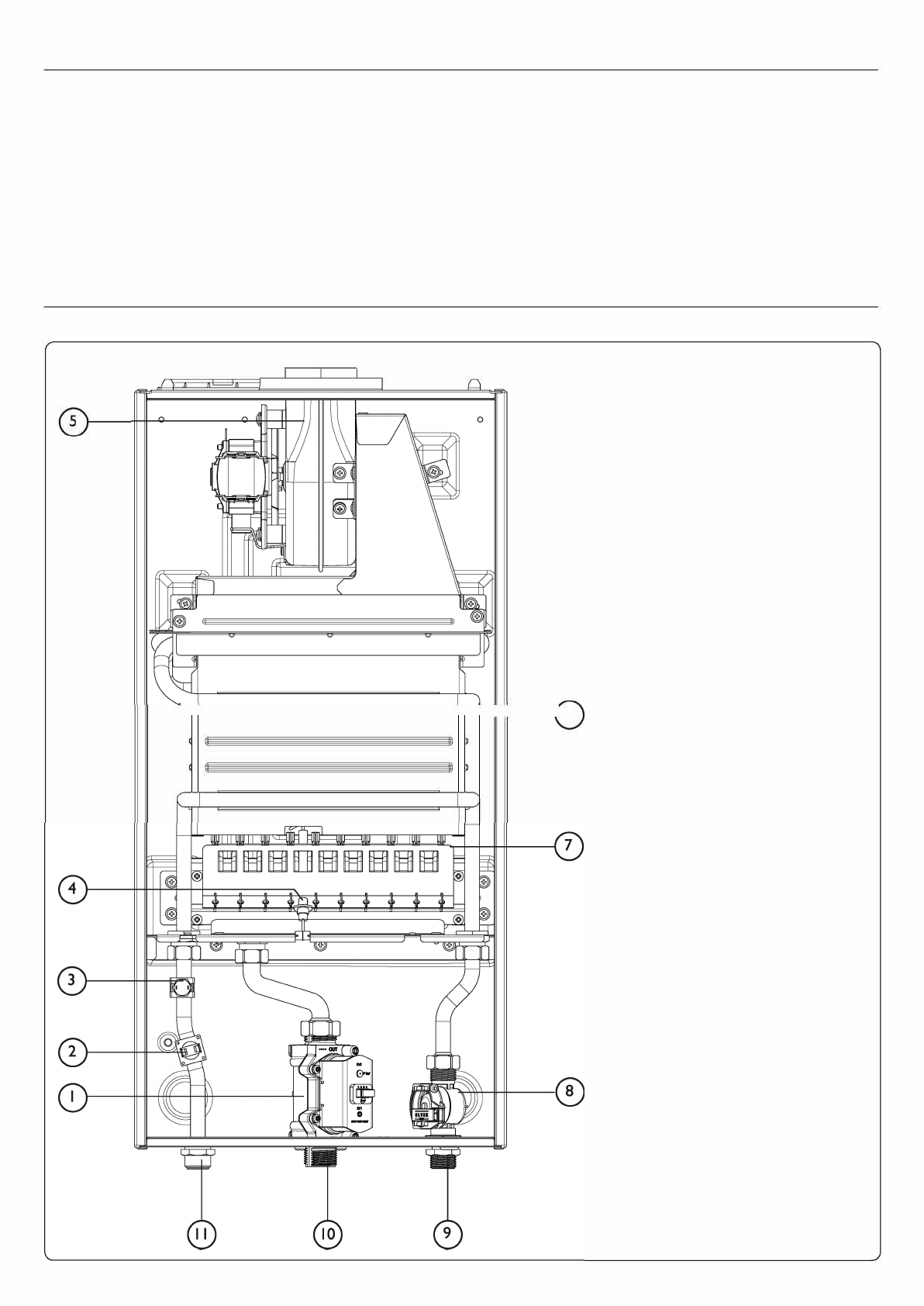
KoMnoHeHTbl B0A0Harpeearenff
Puc. I
-
l<oMnoHeHmb1 eoàoHazpeeamenR
1r-----.e==========-----===iu----ll-.11---1 6
5
0603HO'leHUR
1.
ra3osb1iil K11anaH
2.OrpaHlll4111Te/1bH0e TepMopene
3.
AaT4111 K NTC
4.
3/leKTPOA p03>Klllra / onpeAe/leHIIIR
5.
8eHn1/1RTOp
6.
Ten11006MeHHIIIK
7.
rope11 K a
8.
PacXOAOMep
9.
BXOA rBC
10.
ra3
11.
Bb1xoA rsc