Водонагреватели Hyundai Atami H-WSS80-N12D-V - инструкция пользователя по применению, эксплуатации и установке на русском языке. Мы надеемся, она поможет вам решить возникшие у вас вопросы при эксплуатации техники.
Если остались вопросы, задайте их в комментариях после инструкции.
"Загружаем инструкцию", означает, что нужно подождать пока файл загрузится и можно будет его читать онлайн. Некоторые инструкции очень большие и время их появления зависит от вашей скорости интернета.

IM2021
19
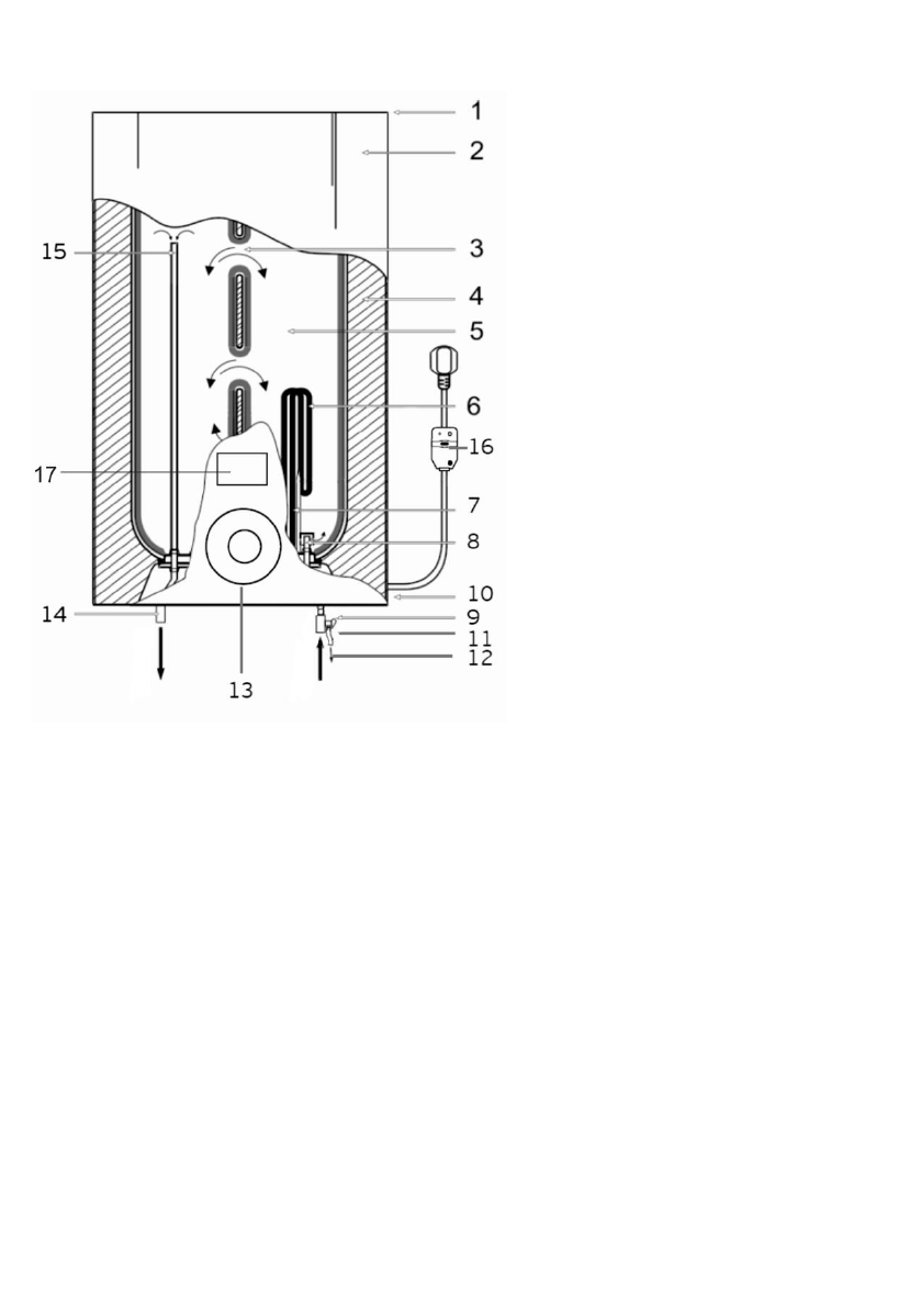
5. DESCRIPTION OF THE WATER HEATER
Fig 1*
* The picture is for reference only and may differ from the actual product
1. Upper combined protective cover
2. External decorative housing
3. Overflow system
4. Thermal insulation layer made of polyurethane foam
5. Internal tank
6. Heating element
7. Thermostat sensor tube
8. Protective magnesium anode
9. Inlet pipe with divider
10. Lower combined protective cover
11. Combined safety valve (mandatory installation on the cold water supply pipe is
required)
12. Emergency drain of excess water pressure (when the water heater is running,
water may leak from the emergency drain hole. This is normal)
13. Control Panel
14. Outlet pipe
15. Upper part of the outlet pipe
16. Power cord with RCD and plug
17. Display
Содержание
- 4 НАЗНАЧЕНИЕ ПРИБОРА
- 5 РАБОЧИЕ ХАРАКТЕРИСТИКИ; Наименование
- 6 ОПИСАНИЕ ВОДОНАГРЕВАТЕЛЯ; Изображение приведено в качестве справочной информации и может
- 7 изменять содержимое комплекта поставки данного прибора
- 8 давление воды в водонагревателе, соответствует давлению воды в
- 9 сливной кран и тройник между патрубком входа холодной воды и
- 11 УПРАВЛЕНИЕ ВОДОНАГРЕВАТЕЛЕМ; Изображение приведено в качестве справочной информации и может
- 15 УТИЛИЗАЦИЯ, СРОК СЛУЖБЫ, ГАРАНТИЙНЫЙ СРОК