Водонагреватели Hyundai Atami H-WSS50-N12D-V - инструкция пользователя по применению, эксплуатации и установке на русском языке. Мы надеемся, она поможет вам решить возникшие у вас вопросы при эксплуатации техники.
Если остались вопросы, задайте их в комментариях после инструкции.
"Загружаем инструкцию", означает, что нужно подождать пока файл загрузится и можно будет его читать онлайн. Некоторые инструкции очень большие и время их появления зависит от вашей скорости интернета.

IM2021
33
5.
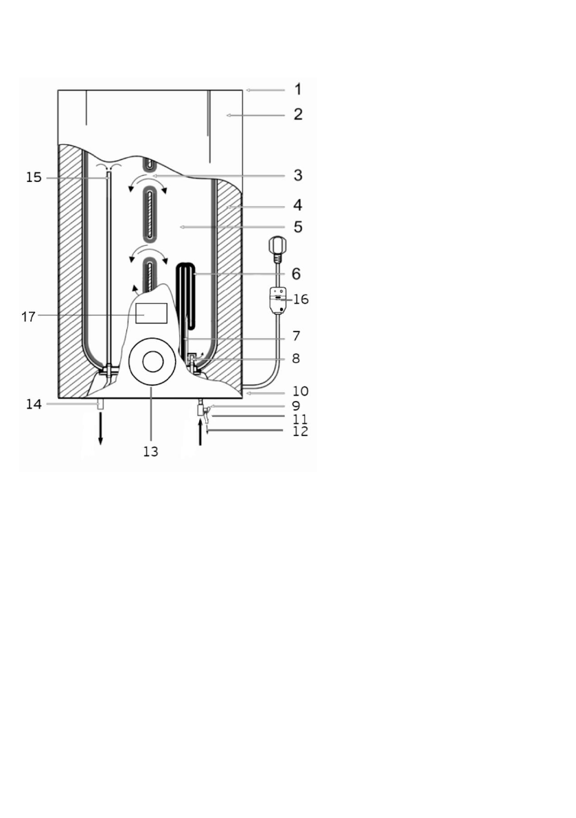
У ЖЫЛЫТҚЫШТЫҢ СИПАТТАМАСЫ
Сурет 1*
* Сурет анықтамалық ақпарат ретінде келтірілген және нақты аспаптан
өзгеше болуы мүмкін
1. Жоғарғы аралас қорғаныш қақпағы
2. Сыртқы сәндік корпус
3. Құю жүйесі
4. Көбікполиуретаннан жасалған жылу оқшаулайтын қабаты
5. Ішкі резервуар
6. Жылыту элементі
7. Термостат датичгінің түтігі
8. Қорғаныс магний аноды
9. Кіріс келтеқұбыры кескіш
10. Төменгі аралас қорғаныс қақпағы
11. Су жылытқыштан су құбыры магистраліне суды ағызудан қорғауға және ішкі
резервуарды артық қысымнан қорғауға арналған аралас сақтандыру құбыры
(суық су беру келтеқұбырына міндетті орнату қажет)
12. Судың артық қысымын авариялық ағызып алу (су жылытқыштың жұмысы
кезінде сақтандыру клапанының қысымын шығару тесігінен судың ағуы мүмкін.
Бұл қалыпты жағдай)
Содержание
- 4 НАЗНАЧЕНИЕ ПРИБОРА
- 5 РАБОЧИЕ ХАРАКТЕРИСТИКИ; Наименование
- 6 ОПИСАНИЕ ВОДОНАГРЕВАТЕЛЯ; Изображение приведено в качестве справочной информации и может
- 7 изменять содержимое комплекта поставки данного прибора
- 8 давление воды в водонагревателе, соответствует давлению воды в
- 9 сливной кран и тройник между патрубком входа холодной воды и
- 11 УПРАВЛЕНИЕ ВОДОНАГРЕВАТЕЛЕМ; Изображение приведено в качестве справочной информации и может
- 15 УТИЛИЗАЦИЯ, СРОК СЛУЖБЫ, ГАРАНТИЙНЫЙ СРОК