Водонагреватели HAJDU 38 кВт, STA500C - инструкция пользователя по применению, эксплуатации и установке на русском языке. Мы надеемся, она поможет вам решить возникшие у вас вопросы при эксплуатации техники.
Если остались вопросы, задайте их в комментариях после инструкции.
"Загружаем инструкцию", означает, что нужно подождать пока файл загрузится и можно будет его читать онлайн. Некоторые инструкции очень большие и время их появления зависит от вашей скорости интернета.

17
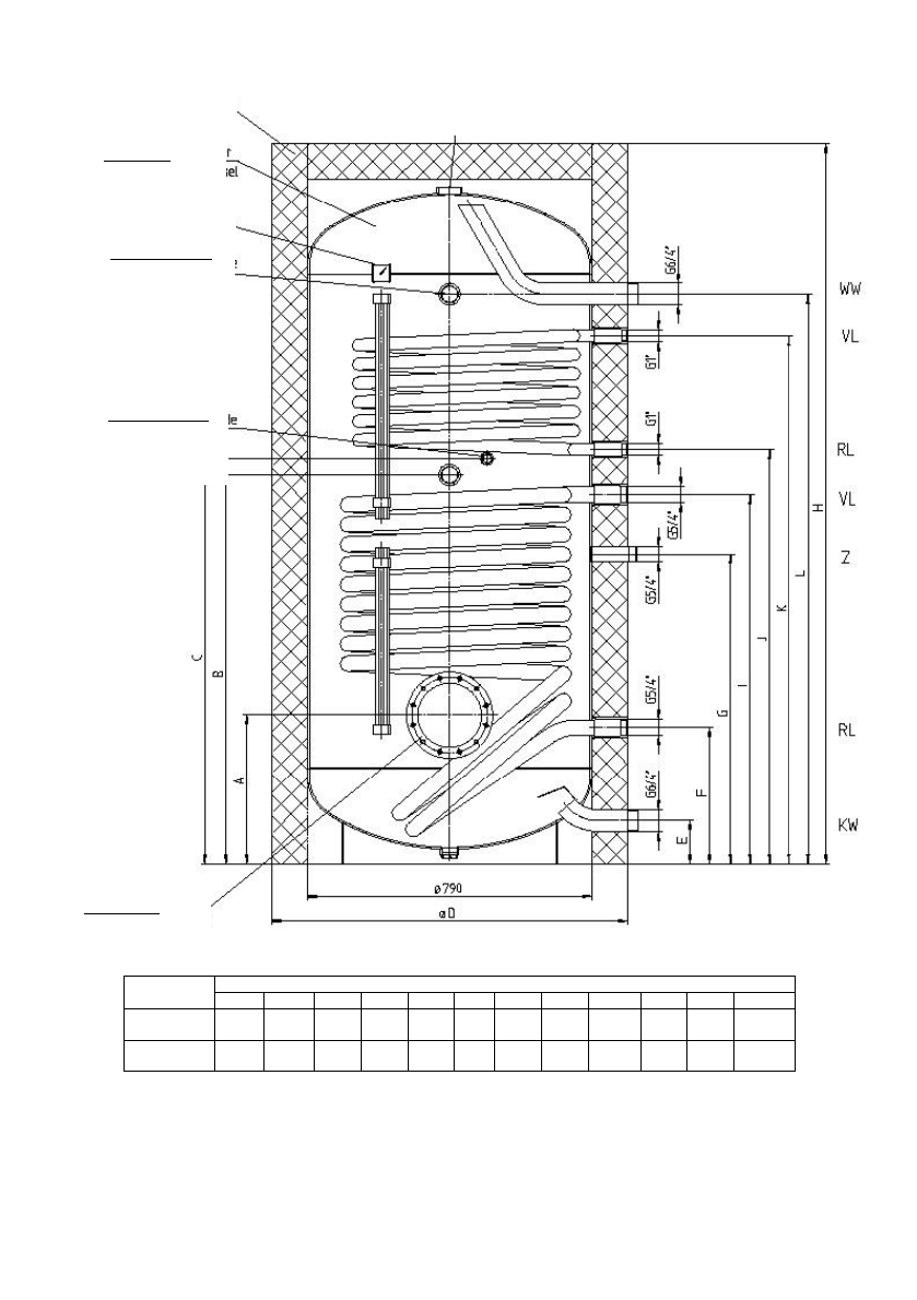
Водонагреватели типов STA800C2 и STA1000C2
Тип
Размеры (мм)
H
ØD
A
B
C
E
F
G
I
J
K
L
STA800C2
2000
1000
415
1080
1125
120
380
860
1025
115
0
146
5
1580
STA1000C2
2350
1000
415
1255
1300
120
380
1025
1190
133
5
178
5
1920
4.
Муфта, трубн. цил. резьба 2” (G2)
armantyú G2
Изоляция
Внутренний
эмалированный
резервуар
Термометр
* Муфта, труб. цил.
резьба 5/4” (G5/4)
для анода
Муфта, труб. цил.
резьба 6/4” (G6/4)
для анода
Фланец Ø240
(внутренний
диаметр 175 мм)