Водонагреватели Garanterm Plus 10 O ЭдЭБ01589 - инструкция пользователя по применению, эксплуатации и установке на русском языке. Мы надеемся, она поможет вам решить возникшие у вас вопросы при эксплуатации техники.
Если остались вопросы, задайте их в комментариях после инструкции.
"Загружаем инструкцию", означает, что нужно подождать пока файл загрузится и можно будет его читать онлайн. Некоторые инструкции очень большие и время их появления зависит от вашей скорости интернета.
Загружаем инструкцию

8
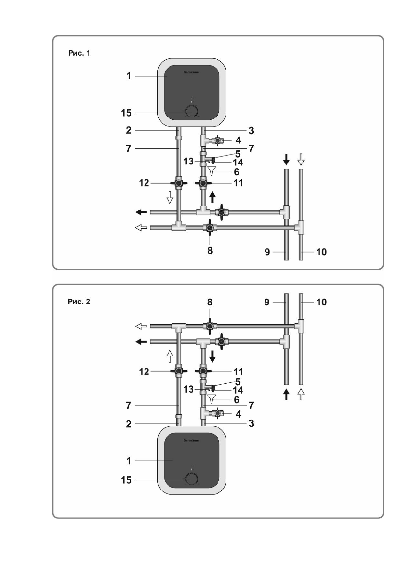
Рисунок 1. Схема подключения ЭВН к водопроводу сверху и снизу
Содержание
- 4 Таблица 1
- 5 УКАЗАНИЯ МЕР БЕЗОПАСНОСТИ
- 6 УСТАНОВКА И ПОДКЛЮЧЕНИЕ; диться квалифицированным персоналом.; РАЗМЕЩЕНИЕ И УСТАНОВКА; O – вертикальное, патрубки вниз
- 7 Примечание: защитный поддон не входит в комплект поставки ЭВН.; ПОДКЛЮЧЕНИЕ К ВОДОПРОВОДУ
- 9 Рисунок 1; : 1 – ЭВН, 2 – патрубок горячей воды, 3 – патрубок холодной; ПОДКЛЮЧЕНИЕ К ЭЛЕКТРОСЕТИ; ЭВН оборудован штатным шнуром электропитания с вилкой.
- 10 ЭКСПЛУАТАЦИЯ; : 1 – ручка управления водонагревателем со стрелкой индикатором,; ТЕХНИЧЕСКОЕ ОБСУЛЖИВАНИЕ
- 13 ответствии с манипуляционными знаками на упаковке:; УТИЛИЗАЦИЯ
- 14 исключить замерзание воды в ЭВН
- 16 ОТМЕТКА О ПРОДАЖЕ; Подпись представителя










