Водонагреватели Electrolux GWH275S - инструкция пользователя по применению, эксплуатации и установке на русском языке. Мы надеемся, она поможет вам решить возникшие у вас вопросы при эксплуатации техники.
Если остались вопросы, задайте их в комментариях после инструкции.
"Загружаем инструкцию", означает, что нужно подождать пока файл загрузится и можно будет его читать онлайн. Некоторые инструкции очень большие и время их появления зависит от вашей скорости интернета.

6
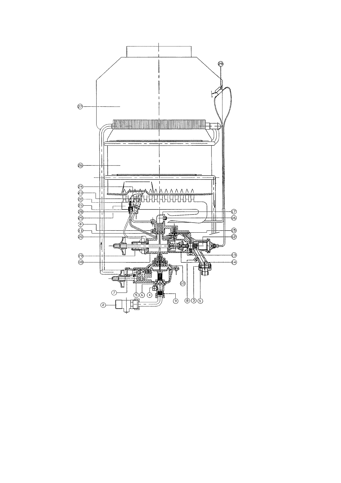
Ñõåìà óñòðîéñòâà ïðèáîðà
1.
Ïîäâîä ãàçà
2.
Âåíòèëü íà âõîäå âîäû
3.
Ôèëüòð ïîäàâàåìîãî ãàçà
4.
Ñëèâíàÿ çàãëóøêà
5.
Íèæíèé êîðïóñ ðåäóêòîðà
6.
Ðåãóëÿòîð ðàñõîäà âîäû
7.
Ñåëåêòîð òåìïåðàòóðû
8.
Øòóöåð äëÿ èçìåðåíèÿ äàâëåíèÿ
9.
Ôèëüòð âõîäÿùåé âîäû
10.
Âåðõíèé êîðïóñ ðåäóêòîðà
11.
Ïðåäîõðàíèòåëüíûé êëàïàí
12.
Ìåõàíèçì ïåðåêðûòèÿ ïîäà÷è ãàçà
13.
Ðåãóëÿòîð ìîùíîñòè
14.
Êëàïàí ñèñòåìû çàæèãàíèÿ (çàïàëüíî-îòñå÷íûé)
15.
Êëàïàí çàïàëüíîé ãîðåëêè
16.
Ôîðñóíêà
17.
Ðàñïðåäåëèòåëü
18.
Îñíîâíîé êîðïóñ
19.
Êðûøêà êîðïóñà
20.
Ïüåçîýëåìåíò
21.
Ôîðñóíêà çàïàëüíîé ãîðåëêè
22.
Ãîëîâêà ïüåçîýëåìåíòà
23.
Ãîëîâêà òåðìîïàðû
24.
Ãîëîâêà çàïàëüíîé ãîðåëêè
25.
Îñíîâíàÿ ãîðåëêà
26.
Íàãðåâàòåëüíûé ýëåìåíò
27.
Êîëïàê òÿãè (äåôëåêòîð)
28.
Ãàéêà ôèêñàöèè çàïàëüíîé ãîðåëêè
29.
Äàò÷èê òÿãè












