Drazice OKCE NTR/2,2 100 л 1108701101 - Инструкция по эксплуатации - Страница 12

Водонагреватели Drazice OKCE NTR/2,2 100 л 1108701101 - инструкция пользователя по применению, эксплуатации и установке на русском языке. Мы надеемся, она поможет вам решить возникшие у вас вопросы при эксплуатации техники.

Если остались вопросы, задайте их в комментариях после инструкции.

"Загружаем инструкцию", означает, что нужно подождать пока файл загрузится и можно будет его читать онлайн. Некоторые инструкции очень большие и время их появления зависит от вашей скорости интернета.
Страница:
/ 17
Загружаем инструкцию
background image

- 12 -

 

 

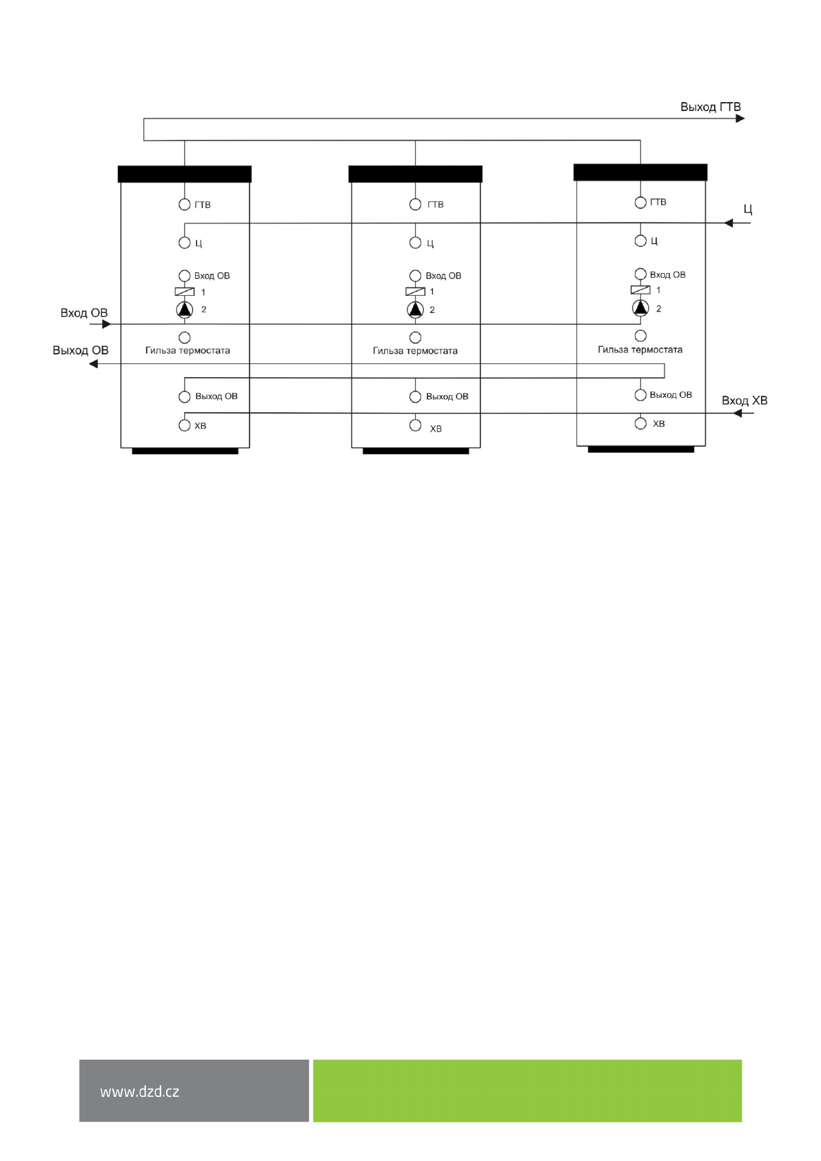
Пример  группового  подключения  водонагревателей  по  методу  Тихельмана  для  равномерного 
расхода горячей технической воды из всех водонагревателей

 

 
 
 
 
 
 
 
 
 
 
 
 
 
 
 
 
 
 
 

ОВ 

отопительная вода

 

ГТВ 

горячая техническая вода

 

ХВ 

холодная вода

   

1 - 

обратный клапан

 

Ц 

циркуляция

 

 

2 - 

насос

 

 

Рисунок 

 

 

Полезные видео

Характеристики

Оцените статью
tehnopanorama.ru
Остались вопросы?

Не нашли свой ответ в руководстве или возникли другие проблемы? Задайте свой вопрос в форме ниже с подробным описанием вашей ситуации, чтобы другие люди и специалисты смогли дать на него ответ. Если вы знаете как решить проблему другого человека, пожалуйста, подскажите ему :)

Задать вопрос

Часто задаваемые вопросы
Как посмотреть инструкцию к Drazice OKCE NTR/2,2 100 л 1108701101?
Необходимо подождать полной загрузки инструкции в сером окне на данной странице
Руководство на русском языке?
Все наши руководства представлены на русском языке или схематично, поэтому вы без труда сможете разобраться с вашей моделью
Как скопировать текст из PDF?
Чтобы скопировать текст со страницы инструкции воспользуйтесь вкладкой "HTML"