Водонагреватели DEXP WH-SR080ST DC - инструкция пользователя по применению, эксплуатации и установке на русском языке. Мы надеемся, она поможет вам решить возникшие у вас вопросы при эксплуатации техники.
Если остались вопросы, задайте их в комментариях после инструкции.
"Загружаем инструкцию", означает, что нужно подождать пока файл загрузится и можно будет его читать онлайн. Некоторые инструкции очень большие и время их появления зависит от вашей скорости интернета.

8
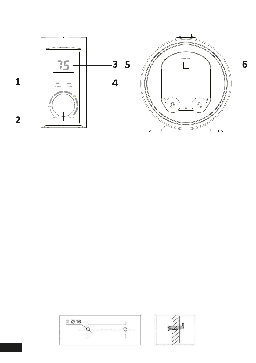
Панель управления
1. Индикатор «Питание».
2. Поворотный регулятор настройки температуры.
3. Температура воды.
4. Индикатор «Нагрев».
5. Кнопка выбора мощности нагрева 1300 Вт.
6. Кнопка выбора мощности нагрева 700 Вт.
Установка
Установка и заземление устройства должны производиться квалифицированными
специалистами. Неправильная установка или заземление может вызвать угрозу
жизни и здоровья пользователя.
Устанавливать устройство следует рядом с электрической розеткой и источником
воды. Не устанавливайте устройство в местах без дренажных каналов.
1. Данный водонагреватель должен устанавливаться на несущую стену. Если
стена не способна выдерживать двойной вес водонагревателя, наполненно
-
го водой, необходима установка дополнительного усиления. Если в кирпич
-
ной стене имеются отверстия, заполните их цементным раствором.
2. После выбора подходящего места установки определите положение двух от
-
верстий для распорных болтов с крюком (определяется согласно спецификации
устройства). Просверлите два отверстия диаметром 16 мм на одном уровне глу
-
биной 100 мм в стене с помощью ударной дрели по размеру распорных болтов,
идущих в комплекте с водонагревателем.
3. Вкрутите болты крюком вверх и закрутите гайки плотно.
4. Повесьте устройство на крюки.
I I
I
Характеристики
Остались вопросы?Не нашли свой ответ в руководстве или возникли другие проблемы? Задайте свой вопрос в форме ниже с подробным описанием вашей ситуации, чтобы другие люди и специалисты смогли дать на него ответ. Если вы знаете как решить проблему другого человека, пожалуйста, подскажите ему :)