Водонагреватели DEXP WH-ER050MNAN/W - инструкция пользователя по применению, эксплуатации и установке на русском языке. Мы надеемся, она поможет вам решить возникшие у вас вопросы при эксплуатации техники.
Если остались вопросы, задайте их в комментариях после инструкции.
"Загружаем инструкцию", означает, что нужно подождать пока файл загрузится и можно будет его читать онлайн. Некоторые инструкции очень большие и время их появления зависит от вашей скорости интернета.

.
4. В случае если в ванной комнате мало места, водонагреватель может быть установлен в другое
место, защищенное от прямых солнечных лучей и влаги. Однако во избежание потери тепла
водонагреватель должен устанавливаться наиболее близко к месту использования.
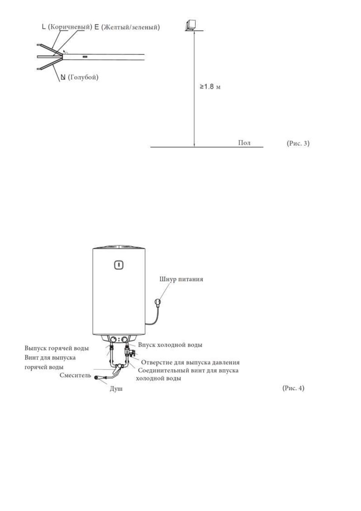
Подключение труб
1.
Размер каждого компонента трубы G1/2”.
2.
Подсоедините предохранительный клапан к впуску водонагревателя.
3.
Во избежание утечек при подключении трубопроводов следует использовать резиновые
уплотнители для герметичного соединения (см. рис. 4).
4. Для реализации многосторонней системы водоснабжения, руководствуйтесь методом для
подключения трубопроводов (см. рис. 5).







