Водонагреватели BOSCH WST 200-5EC - инструкция пользователя по применению, эксплуатации и установке на русском языке. Мы надеемся, она поможет вам решить возникшие у вас вопросы при эксплуатации техники.
Если остались вопросы, задайте их в комментариях после инструкции.
"Загружаем инструкцию", означает, что нужно подождать пока файл загрузится и можно будет его читать онлайн. Некоторые инструкции очень большие и время их появления зависит от вашей скорости интернета.

|
51
6 720 801 764 (2012/06)
WST 120-5C, WST 160-5C, WST 200-5C, WST 200-5EC
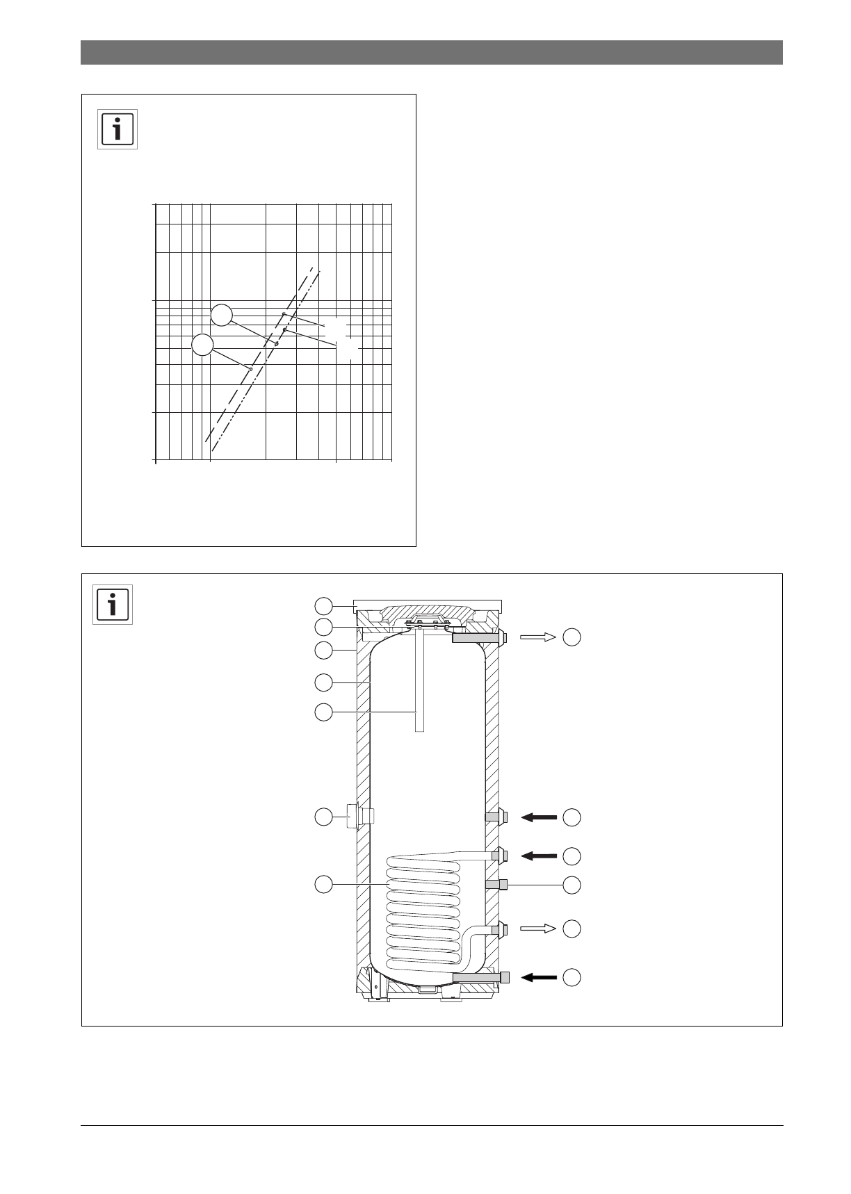
2
[1]
WST 120-5C
[2]
WST 160-5C, WST 200-5C, WST 200-5EC
[A]
67 mbar
2600 kg/h
[B] 82 mbar
2600 kg/h
3
6 720
8
01 707-03.1ITL
m
H
[kg/h]
Δp
H
[mbar]
10
20
100
400
500
1000
5000
10000
1
B
A
2
6 720
8
01 707-02.1ITL
11
13
12
10
9
8
7
1
5
3
6
2
4
Содержание
- 33 Пояснения условных обозначений; Расшифровка символов; Информация об оборудовании; Использование по назначению; Таб. 2 Требования к питьевой воде
- 34 Технические данные; Таб. 4 Размеры и технические характеристики (
- 35 Установка
- 36 Установка датчиков температуры горячей воды; Ввод в эксплуатацию; Пуск в эксплуатацию бака-водонагревателя; Рекомендации для потребителя:; Таб. 6 Выбор редукционного клапана
- 37 Охрана окружающей среды/утилизация; Упаковка; Техническое обслуживание; Работы по техническому обслуживанию; Проверка предохранительного клапана; Таб. 7 Периодичность проведения технического обслуживания в













