VITEK VT-3510 PK - Инструкция по эксплуатации

VITEK VT-3510 PK

Настольные часы VITEK VT-3510 PK - инструкция пользователя по применению, эксплуатации и установке на русском языке. Мы надеемся, она поможет вам решить возникшие у вас вопросы при эксплуатации техники.

Если остались дополнительные вопросы — свяжитесь с нами через контактную форму.

1 Страница 1
2 Страница 2
3 Страница 3
4 Страница 4
5 Страница 5
6 Страница 6
7 Страница 7
8 Страница 8
9 Страница 9
10 Страница 10
11 Страница 11
12 Страница 12
13 Страница 13
14 Страница 14
15 Страница 15
16 Страница 16
Страница: / 16

Содержание:

  • Страница 5 – РУССКИЙ
  • Страница 6 – Срок службы прибора - 3 года
  • Страница 13 – RUS
Загрузка инструкции

ENGLISH

1

3510_2_IM.indd 1

3510_2_IM.indd 1

19.09.2011 9:19:03

19.09.2011 9:19:03

"Загрузка инструкции" означает, что нужно подождать пока файл загрузится и можно будет его читать онлайн. Некоторые инструкции очень большие и время их появления зависит от вашей скорости интернета.

Краткое содержание

Страница 5 - РУССКИЙ

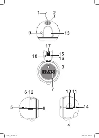
РУССКИЙ 5 РАДИОЧАСЫ РЕГУЛЯТОРЫ УПРАВЛЕНИЯ И ФУНКЦИИ 1. Сетевой шнур2. Антенна FM3. Кнопка короткого сна SNOOZE4. Отсек для батареек5. Переключатель настройки часов RUN/ ALM/TIME 6. Функциональный переключатель ON/ AUTO/OFF 7. Световой дисплей8. Вращающееся кольцо настройки9. Кнопка SLEEP10. Регулято...

Страница 6 - Срок службы прибора - 3 года

РУССКИЙ 6 ПРОБУ Ж ДЕНИЕ ПОД МЕЛОДИЮ 1. Установите переключатель ON/AUTO/OFF (6) в позицию AUTO.2. Настройтесь на нужную станцию, вращая регулятор настройки радио (10).3. Установите нужную громкость, вращая регулятор (12).4. Радио включится в установленное время.5. Установите функциональный переклю-ч...

Страница 13 - RUS

ENGLISH GB A production date of the item is indicated in the serial number on the technical data plate. A serial number is an eleven-unit number, with the first four figures indicating the production date. For ex-ample, serial number 0606ххххххх means that the item was manufactured in June (the sixt...

Характеристики

Другие модели - Настольные часы VITEK

Все настольные часы VITEK