Винные шкафы Meyvel MV12-BF2 - инструкция пользователя по применению, эксплуатации и установке на русском языке. Мы надеемся, она поможет вам решить возникшие у вас вопросы при эксплуатации техники.
Если остались вопросы, задайте их в комментариях после инструкции.
"Загружаем инструкцию", означает, что нужно подождать пока файл загрузится и можно будет его читать онлайн. Некоторые инструкции очень большие и время их появления зависит от вашей скорости интернета.

4
MV12-BF2 (easy), MV12-SF2 (easy)
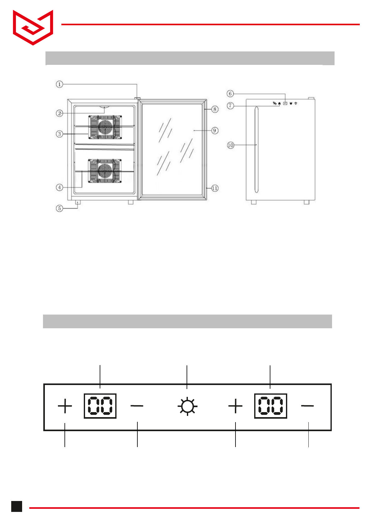
УСТРОЙСТВО
ВИННОГО
ШКАФА
MV
12-BF2
(easy)
1.
ПЕТЛЯ
2.
ОСВЕЩЕНИЕ
3.
ВНУТРЕННИЙ
ВЕНТИЛЯТОР
4.
ПОЛКА
5.
НОЖКА
6.
ДИСПЛЕЙ
7.
КЛАВИШИ
УПРАВЛЕНИЯ
8.
МАГНИТНОЕ УПЛОТНЕНИЕ
9.
СТЕКЛО
10.
ДВЕРНАЯ
РУЧКА
11.
ДВЕРНАЯ
РАМА
ПАНЕЛЬ УПРАВЛЕНИЯ
ВИННОГО
ШКАФА
MV12-BF2 (easy)
Ди
сплей верхней зоны
Дисплей нижней зоны
Вкл./Выкл.
освещения
Повышение
температуры
в верхней зоне
Повышение
температуры
в
нижней
зоне
Понижение
температуры
в верхней зоне
Понижение
температуры
в
нижней
зоне
Характеристики
Остались вопросы?Не нашли свой ответ в руководстве или возникли другие проблемы? Задайте свой вопрос в форме ниже с подробным описанием вашей ситуации, чтобы другие люди и специалисты смогли дать на него ответ. Если вы знаете как решить проблему другого человека, пожалуйста, подскажите ему :)