Винные шкафы La Sommeliere CVD102DZ - инструкция пользователя по применению, эксплуатации и установке на русском языке. Мы надеемся, она поможет вам решить возникшие у вас вопросы при эксплуатации техники.
Если остались вопросы, задайте их в комментариях после инструкции.
"Загружаем инструкцию", означает, что нужно подождать пока файл загрузится и можно будет его читать онлайн. Некоторые инструкции очень большие и время их появления зависит от вашей скорости интернета.

CVD102DZ
7
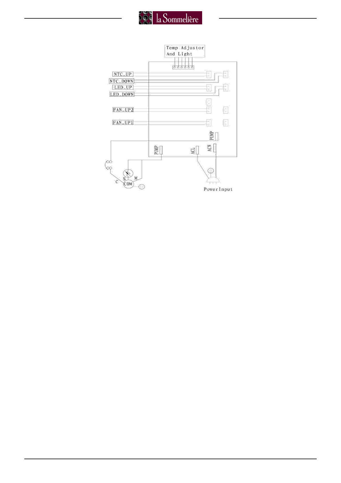
ЭЛЕКТРОМОНТАЖНАЯ СХЕМА
ИНСТРУКЦИИ ПО УСТАНОВКЕ И ИСПОЛЬЗОВАНИЮ
Перед использованием устройства:
-
Удалите внешнюю и внутреннюю упаковку.
-
Оставьте устройство в вертикальном положении в состоянии покоя в течение
примерно 24 часов до его ввода в эксплуатацию. Это позволит уменьшить возможность
сбоя в работе системы охлаждения по причине транспортировки.
-
Протрите устройство изнутри с помощью мягкой ткани и теплой воды.
Инструкции по применению
-
Устанавливайте устройство в помещении с температурой от +16 до +32°C..
-
Если температура в помещении выходит за пределы указанного диапазона, то может
быть нарушена производительность устройства и станет невозможным охлаждение вина
до температуры от +5 до +18°C .
Характеристики
Остались вопросы?Не нашли свой ответ в руководстве или возникли другие проблемы? Задайте свой вопрос в форме ниже с подробным описанием вашей ситуации, чтобы другие люди и специалисты смогли дать на него ответ. Если вы знаете как решить проблему другого человека, пожалуйста, подскажите ему :)













