Винные шкафы Electrolux ERW0670A - инструкция пользователя по применению, эксплуатации и установке на русском языке. Мы надеемся, она поможет вам решить возникшие у вас вопросы при эксплуатации техники.
Если остались вопросы, задайте их в комментариях после инструкции.
"Загружаем инструкцию", означает, что нужно подождать пока файл загрузится и можно будет его читать онлайн. Некоторые инструкции очень большие и время их появления зависит от вашей скорости интернета.

51
РУССКИЙ
7.2
Подключение к
электросети
Осторожно! Все электромонтаж
-
ные работы, необходимые для
установки прибора, должны
выполняться квалифицирован
-
ным электриком или сертифици
-
рованным специалистом.
Внимание! Данный прибор должен
быть заземлен. Изготовитель
снимает с себя всякую ответствен
-
ность в случае несоблюдения
указанных правил техники
безопасности.
Обратитесь к квалифицированно
-
му электрику или специалисту по
техническому обслуживанию, если
инструкция по заземлению не вполне
понятна или если имеются сомнения
относительно правильности заземле
-
ния прибора.
Внимание! Перед установкой и
подключением прибора к сети
рекомендуется подождать не
менее 4 часов, чтобы хладагент
стек обратно в компрессор.
Перед включением прибора в сеть
удостоверьтесь, что напряжение
и частота, указанные в табличке с
техническими данными, соответствуют
параметрам вашей домашней элек
-
трической сети.
Прибор должен быть заземлен.
Для этого вилка сетевого кабеля имеет
специальный контакт заземления.
Если розетка электрической сети не
заземлена, выполните отдельное за
-
земление прибора в соответствии с
действующими нормами.
Обратитесь к квалифицированному
электрику.
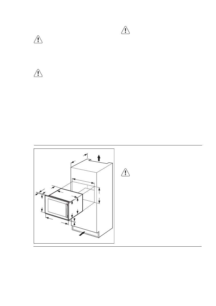
7.3
Размеры места для установки (мм) и требования к вентиляции
560
мин. 200 см
2
450
550
мин. 200 см
2
537
555
450
443
594
21
448
5
Необходимо обеспечить достаточную
циркуляцию воздуха с задней стороны
прибора.
Убедитесь, что перемещение
сетевого шнура не затруднено.
Характеристики
Остались вопросы?Не нашли свой ответ в руководстве или возникли другие проблемы? Задайте свой вопрос в форме ниже с подробным описанием вашей ситуации, чтобы другие люди и специалисты смогли дать на него ответ. Если вы знаете как решить проблему другого человека, пожалуйста, подскажите ему :)