Винные шкафы Asko WCN25842G - инструкция пользователя по применению, эксплуатации и установке на русском языке. Мы надеемся, она поможет вам решить возникшие у вас вопросы при эксплуатации техники.
Если остались вопросы, задайте их в комментариях после инструкции.
"Загружаем инструкцию", означает, что нужно подождать пока файл загрузится и можно будет его читать онлайн. Некоторые инструкции очень большие и время их появления зависит от вашей скорости интернета.

В случае сбоя электропитания значение остаточного ресурса фильтра сохраняется. После
восстановления электропитания значение остается таким же, как до отключения.
Изменение времени и даты не влияет на счетчик остаточного ресурса угольного фильтра.
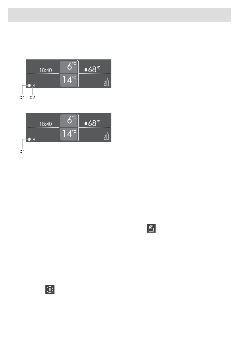
При наступлении даты напоминания о
замене угольного фильтра на дисплее
состояния на фоне цвета темы загорится
значок угольного фильтра (01) и отобразится
количество дней, оставшихся до конца
срока службы фильтра (02).
Когда значение счетчика остаточного
ресурса угольного фильтра станет равно 0,
на дисплее состояния начнет мигать значок
угольного фильтра (01).
После замены фильтра необходимо сбросить счетчик остаточного ресурса угольного фильтра,
после чего значок угольного фильтра больше не будет высвечиваться на дисплее состояния.
Режим Шаббат
Режим Шаббат работает в течение 72 часов сразу после включения. Все световые функции и
дисплей временно отключаются. Система охлаждения работает в обычном режиме. Режим
Шаббат включается каждую неделю в один и тот же день, в одно и то же время.
Выключение режима Шаббат:
•
автоматически через 72 часа после активации,
•
нажмите и удерживайте 3 секунды сенсор блокировки
.
Если во время работы режима Шаббат возникает ошибка, она не отображается, пока режим
Шаббат не будет выключен.
* Включенный режим Шаббат имеет приоритет над режимом ЕСО и Ночным режимом не более
72 часов.
Режим ЕСО
В режиме ECO прибор работает, как обычно, но дисплей выключен, активный только сенсор
Вкл./Выкл.
. Чтобы отключить режим ECO, нажмите сенсор Вкл./Выкл. Если не
производить никаких действий 5 минут, прибор снова перейдет в режим ЕСО.
39
Использование прибора
Характеристики
Остались вопросы?Не нашли свой ответ в руководстве или возникли другие проблемы? Задайте свой вопрос в форме ниже с подробным описанием вашей ситуации, чтобы другие люди и специалисты смогли дать на него ответ. Если вы знаете как решить проблему другого человека, пожалуйста, подскажите ему :)