Видеорегистратор Slimtec Dual S2 - инструкция пользователя по применению, эксплуатации и установке на русском языке. Мы надеемся, она поможет вам решить возникшие у вас вопросы при эксплуатации техники.
Если остались вопросы, задайте их в комментариях после инструкции.
"Загружаем инструкцию", означает, что нужно подождать пока файл загрузится и можно будет его читать онлайн. Некоторые инструкции очень большие и время их появления зависит от вашей скорости интернета.

Примечание: видеозапись не начнется автоматически, если в меню настроек
видеозаписи активирована функция Распознавание движения. В этом случае
сигналом для включения видеозаписи служит движение, зафиксированное камерой
видеорегистратора. Запись завершится через 10 секунд, после прекращения
движения перед объективом видеорегистратора.
Отсоедините зарядное устройство от прикуривателя. Регистратор корректно завершит
запись файла, используя внутренний аккумулятор, и выключится с задержкой,
выставленной в меню. Вы можете вручную выключить видеокамеру, файл будет
сохраняться автоматически
Примечание: устройство может быть выключено автоматически через
определенный промежуток времени в случае, если с ним не производится никаких
действий, или не работает режим видеорегистрации. Для этого в меню должна
быть активирована функция «Автовыключение».
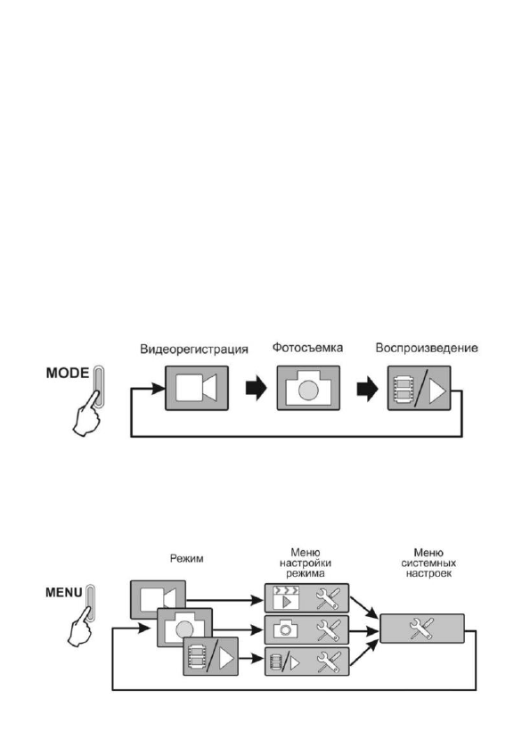
Режимы работы видеорегистратора
Нажмите кнопку «MODE» для выбора режимов Видеозапись / Фотоаппарат / Режим
просмотра видеозаписей и фотографий
Параметры каждого режима работы определяются его настройками, которые
устанавливаются в соответствующих меню. Общие, так называемые системные
настройки, устанавливаются в соответствующем меню. Выбор необходимого меню и
возврат в текущий режим, осуществляется последовательным нажатием кнопки
«Меню».