Видеомагнитофоны JVC HR-V617ER - инструкция пользователя по применению, эксплуатации и установке на русском языке. Мы надеемся, она поможет вам решить возникшие у вас вопросы при эксплуатации техники.
Если остались вопросы, задайте их в комментариях после инструкции.
"Загружаем инструкцию", означает, что нужно подождать пока файл загрузится и можно будет его читать онлайн. Некоторые инструкции очень большие и время их появления зависит от вашей скорости интернета.

Page 13
June 3, 2004 10:34 am
— 13 —
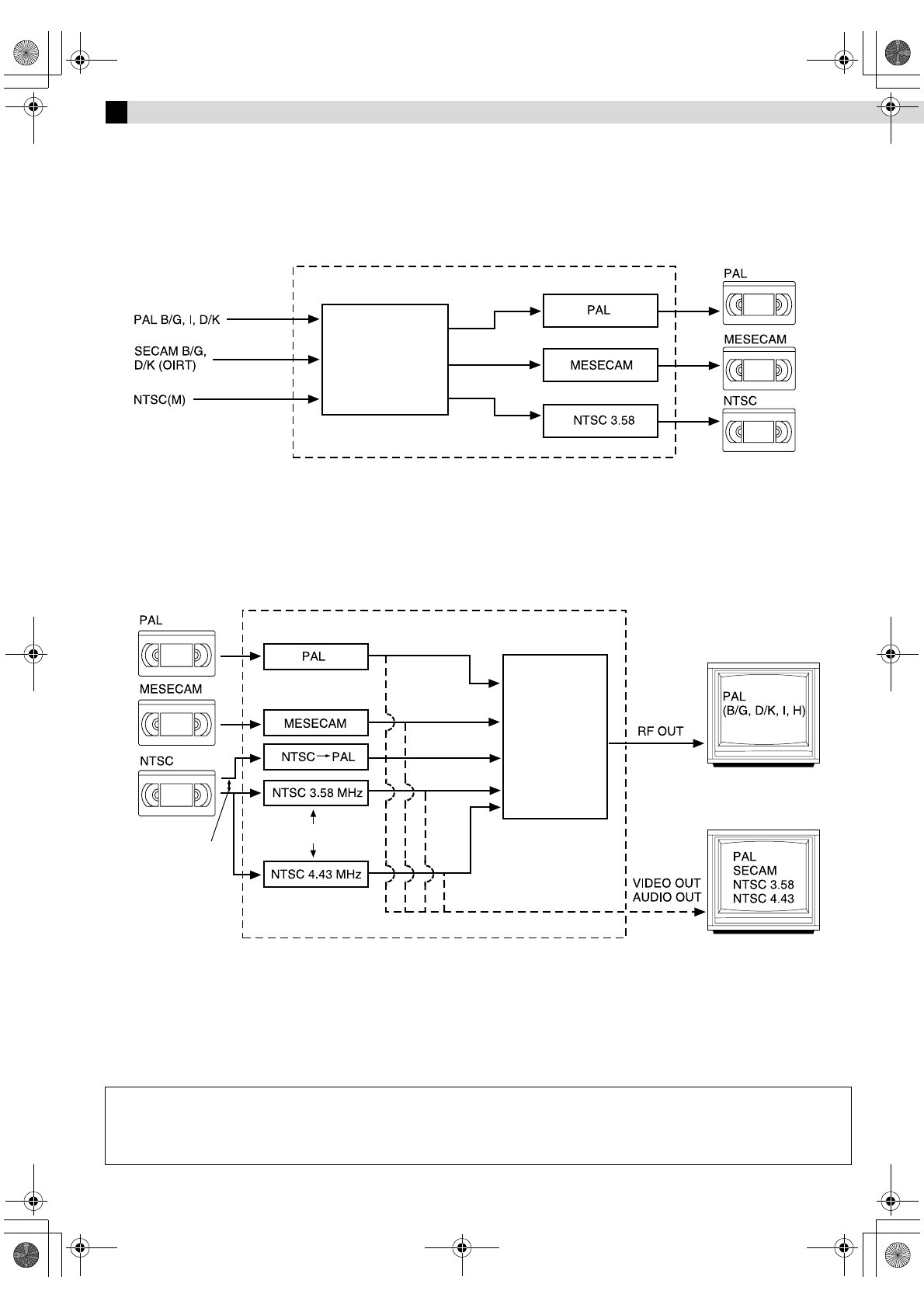
Информация о многосистемной совместимости
Запись с эфира
Встроенный мультисистемный тюнер позволяет принимать телепрограммы в системах PAL B/G, I и D/K, а также SECAM B/G и
D/K.
Воспроизведение
Данный магнитофон может воспроизводить все 3 типа записанных лент.
ПPИMEЧAHИЯ:
При просмотре лент NTSC на телевизорах PAL:
●
Изображение может быть сжатым по вертикали, при этом в верхней и нижней частях экрана будут черные полосы. Это не
связано с неисправностью в видеомагнитофоне или в телевизоре.
●
Изображение может заворачиваться вверх или вниз. Это может быть устранено с помощью регулировки V-HOLD
(УДЕРЖИВАНИЕ ПО ВЕРТИКАЛИ), которая имеется в некоторых телевизорах. (Это не может быть устранено, если в
телевизоре нет регулировки V-HOLD.)
●
Во время воспроизведения в режиме поиска, стоп-кадра или покадрового просмотра на изображении будут искажения, и
может воспроизводиться черно-белое изображение.
ВНИМАНИЕ:
При подсоединении этого видеомагнитофона к мультисистемному телевизору, аудиосигнал может быть не слышен или
зашумлен, если на данном телевизоре переключатель выбора системы телевидения установлен в положение AUTO (АВТО).
В этом случае установите переключатель выбора системы цветного телевидения в положение, соответствующее той
системе цветного телевидения, которую вы выбрали в экране выбора системы цветного телевидения.
Cистема цветного
телевидения
Лента с записью
Мультисистем
ный тюнер
(B/G, I, D/K)
ПРИМЕЧАНИE:
Видеомагнитофон этой модели не работает в Бразилии (PAL-M) и в Аргентине (PAL-N).
Лента с записью
Мультисистемный
телевизионный приемник
Встроенный в
видеомагнитофон
ВЧ
преобразователь;
K, I, G, H
Мультисистемный
телевизионный монитор
Ручное переключение
Ручное
переключение
Цепи воспроизведения
HR-V617.615ER_RU.fm Page 13 Thursday, June 3, 2004 10:34 AM