Видеокамеры Sony NEX-VG900 (E) - инструкция пользователя по применению, эксплуатации и установке на русском языке. Мы надеемся, она поможет вам решить возникшие у вас вопросы при эксплуатации техники.
Если остались вопросы, задайте их в комментариях после инструкции.
"Загружаем инструкцию", означает, что нужно подождать пока файл загрузится и можно будет его читать онлайн. Некоторые инструкции очень большие и время их появления зависит от вашей скорости интернета.

RU
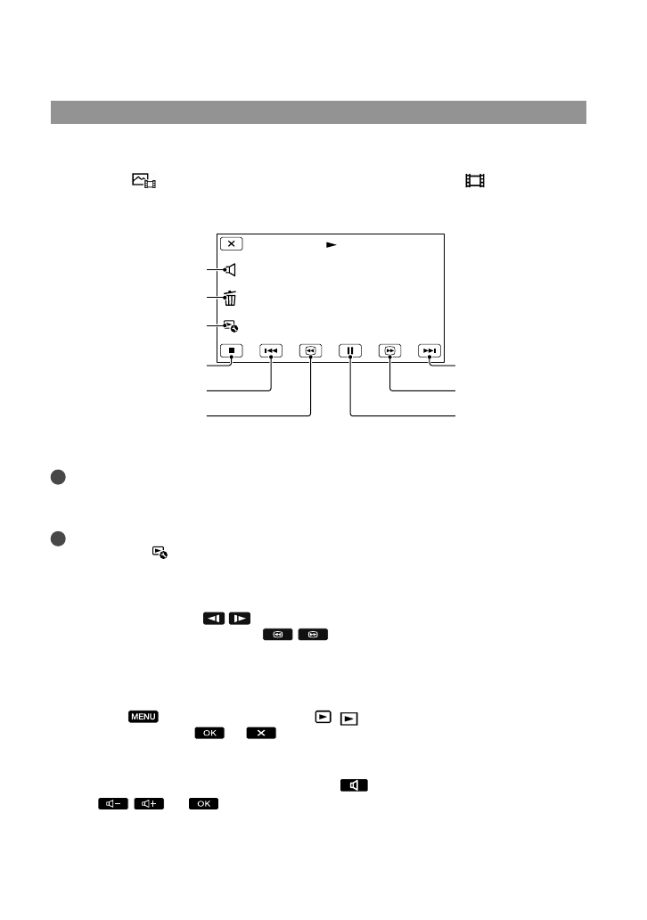
Эксплуатация камеры во время воспроизведения фильма
Во время воспроизведения фильма видеокамерой можно использовать функции,
показанные на рисунке ниже. Показанный ниже рисунок будет отображаться
при выборе [
ВИДЕО / ФОТО] (настройка по умолчанию) или [
ФИЛЬМ]
прикосновением к кнопке переключения типа изображения на экране указателя
событий.
*
Эти кнопки могут использоваться, только когда видеокамера воспроизводит фильм.
Примечания
Возможно, не удастся воспроизвести изображения на других устройствах, отличных от
видеокамеры.
Советы
Нажатие кнопки на экране воспроизведения отображает функции, которые вы можете
использовать в настоящее время, и позволяет вам легко воспользоваться ими.
Когда воспроизведение с выбранного изображения достигает последнего изображения, экран
возвращается к INDEX.
Во время паузы коснитесь
/
для замедленного воспроизведения фильма.
При последующих прикосновениях к
/
во время воспроизведения фильм
будет воспроизводиться быстрее приблизительно в 5 раз
приблизительно в 10 раз
приблизительно в 30 раз
приблизительно в 60 раз.
Во время записи дата, время и условия съемки записываются автоматически. Эта информация
не отображается во время записи, однако можно отобразить ее во время воспроизведения,
коснувшись
(MENU)
[Установка]
[ (
Настр. воспроизвед.)]
[Код данных]
требуемая настройка
.
Регулировка громкости звука фильмов
Во время воспроизведения фильмов коснитесь
отрегулируйте с помощью
кнопок
/
.
Пауза
*
/
воспроизведение
Быстрое перемещение
вперед
*
Удалить
Далее
Быстрое перемещение
назад
*
Остановка
*
Назад
Настройка громкости
Содержание
Содержание
- 2 ПРЕДУПРЕЖДЕНИЕ; Батарейный блок; Только для модели предназначеных; Примечание относительно шнура питания
- 3 Дата изготовления изделия.; ДЛЯ ПОЛЬЗОВАТЕЛЕЙ В ЕВРОПЕ; Примечание для покупателей в; Внимание
- 5 Использование видеокамеры; Видоискатель; видоискатель и объектив
- 8 Примечания по эксплуатации
- 9 Содержание; Подготовка к работе; Запись/Воспроизведение; Расширенные функции
- 11 Действие 1. Проверка; Убедитесь, что в комплект поставки
- 12 CD-ROM “Handycam” Application; Руководство по эксплуатации (данное
- 13 Присоединение
- 14 Действие 3. Зарядка аккумуляторной батареи; подключения ее к видеокамере.
- 15 Время зарядки; Извлечение аккумуляторной батареи; ) и извлеките аккумуляторную батарею; Использование сетевой розетки в качестве источника питания; случае ее подключения к видеокамере.
- 16 Зарядка аккумуляторной батареи за границей
- 17 Действие 4. Присоединение объектива; Крепление прилагаемого адаптера байонета
- 18 Крепление объектива; меткой; Снятие объектива; Удерживайте нажатым фиксатор объектива
- 19 Снятие адаптера байонета; Осторожно снимите адаптер байонета с байонета видеокамеры.; Если на датчике изображения остается пыль или грязь; присоедините объектив.
- 20 Адаптер байонета; Присоединение бленды
- 21 Действие 5. Включение питания и установка; Выберите нужный географический регион с помощью
- 22 Выберите дату и время, коснитесь; Запустится отсчет времени.
- 23 Отключение питания; Передвиньте переключатель POWER в положение OFF.; Изменение настройки языка
- 24 Панель LCD; Изменение вывода на экран LCD
- 25 не сработает, информация будет отображаться на экране LCD.
- 26 Если изображение в видоискателе видно нечетко
- 27 Действие 7. Установка карты памяти; Извлечение карты памяти; Откройте крышку и слегка однократно нажмите на карту памяти.
- 28 Типы карт памяти, которые можно использовать с видеокамерой
- 29 Запись; Закрепите наручный ремешок.; Видеокамера включится.
- 30 Запись фильмов
- 31 Код данных во время записи; этой информации коснитесь; Фотосъемка; Экран LCD переключится в режим записи фотографий.
- 32 Индикатор фокусировки; Выбор режима записи; Можно изменить качество записываемого изображения, нажав
- 33 Настройка на условия; Использование диска MANUAL; Использование штатива
- 34 Нажмите
- 35 Коснитесь изображения, которое необходимо просмотреть.
- 36 Эксплуатация камеры во время воспроизведения фильма; Регулировка громкости звука фильмов; Во время воспроизведения фильмов коснитесь
- 37 Просмотр фотографий; Просмотр увеличенных изображений; фотоснимка. Можно регулировать увеличение с помощью кнопок / . Для
- 38 Разъемы выхода видеокамеры; Список подключений; Подключение к телевизору высокой
- 42 Удаление фильмов и; Вы можете освободить пространство на; Нажмите кнопку
- 43 Одновременное удаление всех; При выполнении шага 3 коснитесь; Коснитесь
- 44 Сохранение фильмов и фотографий на компьютере; При подключении видеокамеры к компьютеру; Для Windows; изображениями, записанными с помощью видеокамеры.; Вид
- 45 Для Mac; установленные на компьютере Mac.
- 46 Windows
- 47 Выберите страну или регион.
- 48 Отключение видеокамеры от
- 49 Устройства, на которых можно; проигрыватель дисков Sony Blu-ray или; DVD с качеством изображения HD; Устройства воспроизведения формата
- 50 Использование
- 51 Сохранение изображений на внешнем устройстве; Руководство по копированию; устройству, на котором сохранены изображения.; Типы носителей, на которых сохраняются изображения
- 52 Можно сохранить фильмы и
- 53 на экране; При подключении устройства
- 55 Для выполнения [Прямое
- 56 Соединительный кабель A/V
- 57 Подключение желтого штекера
- 58 Индивидуальная настройка видеокамеры; хорошо пользоваться меню.; Режим съемки (Элементы для выбора режима съемки); Использование меню
- 59 Списки меню; Режим съемки
- 61 Установка
- 64 Дополнительная информация; Поиск и; Если при использовании видеокамеры
- 67 Время записи; Качество изображения высокой четкости (HD)
- 68 Качество изображения стандартной четкости (STD); Полный размер
- 69 Меры; Использование и уход
- 72 Система
- 73 Адаптер переменного тока AC-L200D; О товарных знаках
- 75 Краткое справочное руководство; Индикаторы экрана; Левый
- 76 Нижний
- 77 Детали и элементы управления
- 81 Алфавитный указатель
Характеристики
Остались вопросы?Не нашли свой ответ в руководстве или возникли другие проблемы? Задайте свой вопрос в форме ниже с подробным описанием вашей ситуации, чтобы другие люди и специалисты смогли дать на него ответ. Если вы знаете как решить проблему другого человека, пожалуйста, подскажите ему :)












