Видеокамеры Sony HDR-TG3E - инструкция пользователя по применению, эксплуатации и установке на русском языке. Мы надеемся, она поможет вам решить возникшие у вас вопросы при эксплуатации техники.
Если остались вопросы, задайте их в комментариях после инструкции.
"Загружаем инструкцию", означает, что нужно подождать пока файл загрузится и можно будет его читать онлайн. Некоторые инструкции очень большие и время их появления зависит от вашей скорости интернета.

124
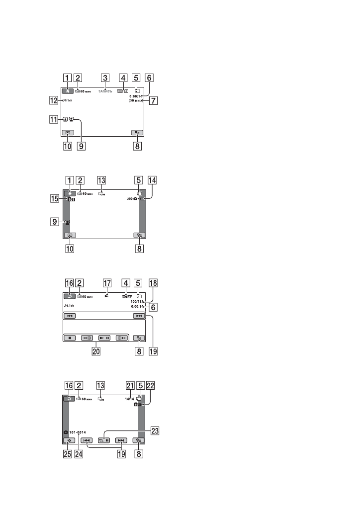
Индикаторы, отображаемые во время
записи/воспроизведения
Запись видеоизображений
Запись фотографий
Просмотр видеоизображений
Просмотр фотографий
A
Кнопка HOME (15)
B
Уровень заряда батареи (прибл.)
C
Состояние записи ([ОЖИДАН]
(ожидание) или [ЗАПИСЬ]
(запись))
D
Качество записи (HD/SD) (68) и
режим записи (FH/HQ/SP/LP) (74)
E
Носитель
F
Счетчик (часы/минуты/секунды)
G
Оставшееся время записи
H
Кнопка OPTION (16)
I
ОПРЕДЕЛ.ЛИЦ (78)
J
Кнопка ПРОСМОТР
ИЗОБРАЖЕНИЙ (38)
K
Режим Указатель лиц (78)
L
Запись 5,1-канального объемного
звука (34)
M
Размер изображения (79)
N
Приблизительное количество
фотографий, которые можно
записать, и носитель/во время
записи фотографий
O
Папка записи
P
Кнопка возврата
Q
Режим воспроизведения
R
Номер воспроизводимого в
данный момент
видеоизображения/общее
количество записанных
видеоизображений
S
Кнопка “назад/далее” (39)
T
Кнопки управления просмотром
видеоизображений (39)
U
Номер воспроизводимой в данный
момент фотографии/общее
количество записанных
фотографий
V
Папка воспроизведения
W
Кнопка демонстрации слайдов (43)
Содержание
- 2 Замечания по эксплуатации
- 3 Эксплуатация видеокамеры
- 6 Оглавление; Эксплуатация
- 9 Последовательность операций; Примечания
- 11 Сохранение записанных изображений
- 12 Советы; Ожидаемое время записи фильмов; AVCHD
- 14 Категории и пункты HOME MENU; HOME MENU” - начальное меню для выполнения операций с
- 15 Скрытие экрана HOME MENU; Нажмите; Отображается HOME MENU.; Работа с меню HOME MENU
- 16 Выход из режима HELP; Работа с меню OPTION MENU
- 17 Шаг 1. Проверка комплектности; Проверьте наличие следующих
- 18 Шаг 2. Зарядка аккумуляторной батареи; Маркировка; Установите аккумулятор.
- 20 Отсоединение аккумулятора
- 21 Время работы от аккумулятора
- 22 Настройка панели ЖК-дисплея; Отключение питания
- 23 даты и времени
- 24 Изменение заданного языка
- 25 Шаг 5. Установка карты памяти “Memory
- 27 Упрощенное выполнение операций; При работе в режиме Easy Handycam почти все параметры задаются; Запись видеоизображений
- 28 Откройте панель ЖКД для включения видеокамеры.; На экране ЖК-дисплея отображается страница VISUAL INDEX (эскизы; Воспроизведение видеоизображений/фотографий
- 29 Начните воспроизведение.; Нажмите вкладку
- 30 Выход из режима Easy Handycam
- 31 Запись
- 33 Слегка нажмите кнопку PHOTO; Запись фотографий; “Белые круглые пятна” на фотографиях
- 34 Трансфокация
- 35 Быстрый запуск съемки
- 36 Запись в режиме
- 37 Изменение параметра
- 38 Запись/воспроизведение; Воспроизведение
- 39 Воспроизведение видеоизображений
- 40 Настройка громкости; Просмотр фотографий
- 41 Поиск требуемого эпизода
- 42 Поиск изображений по дате
- 43 Функция увеличения при
- 44 Последовательность
- 45 Выбор оптимального
- 46 Подключение к телевизору, поддерживающему высокую
- 47 Подключение телевизора 4:3 или телевизора 16:9
- 49 Подключение к телевизору через видеомагнитофон
- 50 Режим “PhotoTV HD”; или; Использование “BRAVIA” Sync
- 51 одключите видеокамеру
- 52 Сохранение изображений; Для; Сохранение изображений с помощью компьютера; Сохранение изображений на компьютере
- 53 Подключение через соединительный кабель A/V; Предусмотрена возможность перезаписи; Подключение через кабель USB; Можно перезаписывать видеоизображения с качеством
- 54 УДАЛИТЬ; Список пунктов меню
- 55 Удаление изображений; римечания; Удаление видеоизображений
- 56 Удаление фотографий
- 57 Получение фотографии из; ажмите; Сохранение других кадров
- 59 Создание списка воспроизведения
- 60 Воспроизведение фильмов
- 62 Перезапись на другие устройства
- 64 отсоедините кабель USB.; Подключение через кабель
- 65 Печать записанных
- 66 Завершение печати
- 68 Работа с носителями
- 69 Просмотр информации о карте памяти; Включите индикатор; Отключение дисплея
- 70 Удаление всех изображений; Включите видеокамеру.
- 71 Восстановление файла базы данных
- 72 Настройка видеокамеры; Назначение категории
- 73 Список пунктов меню в
- 74 РЕЖИМ ЗАПИСИ; АУДИОРЕЖИМ
- 75 ВЫКЛ; STEADYSHOT
- 76 КОНТР РАМКА
- 77 ДАТА СУБТ
- 79 Процедура настройки; РАЗМ СНИМК; При горящем индикаторе
- 80 НОМЕР ФАЙЛА; КОД ДАННЫХ
- 81 Можно выбрать количество эскизов,; МАСШТАБ; ОТОБРАЗИТЬ
- 82 ВКЛ; ГРОМКОСТЬ; УР ПОДСВ LCD
- 83 LCD; КОМПОНЕНТ
- 85 НИКОГДА; АВТОВЫКЛ
- 86 Работа с OPTION MENU
- 87 относящиеся к записи; Просмотр пунктов OPTION
- 88 ФОКУСИРОВКА
- 89 ТЕЛЕМАКРО
- 90 ВЫБОР СЦЕНЫ
- 92 БЕЛЫЙ ФЕЙДЕР; COLOR SLOW SHTR (Color
- 93 уровень
- 94 Устранение неполадок; Питание не включается.; Общие функции/работа в
- 95 Видеокамера нагревается.; Аккумуляторы/источники
- 96 См. также раздел “Memory Stick PRO; “Memory Stick PRO Duo”
- 97 Запись фотографии невозможна.
- 98 омент нажатия кнопки START/
- 99 работает
- 103 Предупреждающие индикаторы и; Отображение результатов
- 105 Вы; Описание предупреждающих
- 106 Другое; Дальнейший выбор невозможен.
- 107 Дополнительная информация; Эксплуатация видеокамеры за границей; Источники питания
- 108 Настройка местного времени; достаточно задать часовой пояс. Нажмите; Часовые пояса
- 111 Уход и меры предосторожности; Что такое формат AVCHD?; Видеосигнал; О формате AVCHD
- 113 Об аккумуляторной батарее
- 115 Об эксплуатации и уходе
- 116 Конденсация влаги
- 117 Об обращении с корпусом; месяцев
- 118 О товарных знаках
- 120 Краткий справочник; Распознавание частей и управляющих
- 123 Handycam Station
- 125 Левый верхний угол; Индикация при внесении
- 126 Кодирование данных во
- 127 Словарь терминов
- 128 Алфавитный указатель; ЧИСЛЕННЫЕ












