Видеокамеры Sony HDR-TD10E - инструкция пользователя по применению, эксплуатации и установке на русском языке. Мы надеемся, она поможет вам решить возникшие у вас вопросы при эксплуатации техники.
Если остались вопросы, задайте их в комментариях после инструкции.
"Загружаем инструкцию", означает, что нужно подождать пока файл загрузится и можно будет его читать онлайн. Некоторые инструкции очень большие и время их появления зависит от вашей скорости интернета.

1
UA
Збереж
енн
я зображ
ень на зовнішніх прис
троях
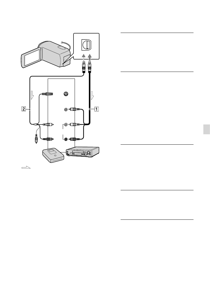
З’єднувальний кабель A/V
(додається)
З’єднувальний кабель S VIDEO A/V
(продається окремо)
Завдяки використанню цього кабелю
можна отримати якісніші зображенні,
ніж зі з’єднувальним кабелем
A/V. Підключіть білий і червоний
штепселі (лівий/правий аудіоканали)
і штепсель S VIDEO (канал S VIDEO)
з’єднувального кабелю A/V зі
штепселем S VIDEO. Якщо підключити
лише штепсель S VIDEO, аудіосигнал
не відтворюватиметься. Приєднувати
жовтий штепсель (відео) непотрібно.
1
Вставте носій запису в
записуючий пристрій.
Якщо записуючий пристрій обладнаний
селектором входів, переведіть його у
вхідний режим.
2
Підключіть відеокамеру
до записуючого пристрою
(рекордер дисків тощо) за
допомогою з’єднувальний
кабель A/V
(додається)
або з’єднувальний кабель
A/V із штепселем S VIDEO
(продається окремо).
Підключіть відеокамеру до вхідних
роз’ємів записуючого пристрою.
3
Розпочніть відтворення на
відеокамері та запишіть дані на
записуючий пристрій.
Докладніше див. у посібнику з
експлуатації, який додається до
записуючого пристрою.
4
По завершенні копіювання
спочатку вимкніть записуючий
пристрій, потім відеокамеру.
Дистанційний з’єднувач A/V
Вхід
S VIDEO
VIDEO
(Жовтий)
(Білий)
AUDIO
Потік сигналів
(Жовтий)
(Червоний)
Содержание
- 2 ПРЕДУПРЕЖДЕНИЕ; Батарейный блок
- 3 Дата изготовления изделия.; ДЛЯ ПОЛЬЗОВАТЕЛЕЙ В ЕВРОПЕ; Примечание для покупателей в; Внимание
- 5 Прилагаемые принадлежности; количество принадлежностей.; Использование видеокамеры; Крышка башмака; Просмотр фильмов 3D
- 8 Примечания по использованию
- 9 Содержание; Подготовка к работе; Запись/Воспроизведение; Расширенные функции; от положения переключателя.
- 11 Действие 1: Зарядка аккумуляторной батареи; подключения к видеокамере.
- 12 Время зарядки; Извлечение аккумуляторной батареи; случае его подключения к видеокамере.
- 13 Примечания по аккумуляторной батарее; Зарядка аккумуляторной батареи за границей
- 14 Откройте экран LCD видеокамеры.; Видеокамера включится.; Выберите нужный географический регион с помощью
- 15 Выберите дату и время, коснитесь; Запускается отсчет времени.
- 16 Наведите видеокамеру на объект для его отображения на экране LCD.; Коснитесь; Шкала
- 17 Объекты, которые имеют более высокое значение:
- 18 Отключение питания; Изменение настройки языка
- 19 Действие 3: Подготовка носителя записи; видеокамеры следующими значками.; Выбор носителя записи; Фильмы и фотографии будут записываться на выбранный носитель.; Проверка параметров носителя записи
- 20 Установка карты памяти; Типы карт памяти, которые можно использовать с видеокамерой
- 21 Извлечение карты памяти; Откройте крышку и слегка однократно нажмите на карту памяти.; Копирование фильмов и фотографий
- 22 Запись; Закрепите ремешок для руки.
- 23 Запись фильмов; Запись фильмов в формате 2D
- 24 запись в формате 3D.
- 25 Код данных во время записи; требуемая настройка
- 26 Фотосъемка
- 27 Если на фотографиях появляются белые круглые пятна; изображении в виде белых круглых пятен.
- 28 Оптимальное расстояние от объекта и уровень масштабирования; изображением, зависит от уровня масштабирования.; Настройка 3-мерного вида изображения во время записи
- 30 Коснитесь изображения, которое вы хотите просмотреть.
- 31 Эксплуатация камеры во время воспроизведения фильма; показанные на рисунке ниже.
- 32 Регулирование громкости звука фильмов; Во время воспроизведения фильмов коснитесь; Регулирование глубины фильмов в формате 3D; Появится экран для регулировки горизонтального направления
- 33 Просмотр фотографий; Сохранение Воспроизведения выбранных
- 34 Разъемы выхода видеокамеры; Список подключений; Подключение к телевизору формата
- 35 Подключение к телевизору высокой
- 36 Используйте 21-контактный адаптер
- 37 Вкл “Photo TV HD”
- 38 Удаление; Вы можете освободить пространство на; Нажмите
- 39 Одновременное удаление всех; В действии 3 коснитесь [Все в
- 40 Сохранение фильмов и фотографий на компьютере; При подключении видеокамеры к компьютеру
- 41 Windows
- 42 Использование Macintosh; Установите “PMB” перед подключением; Отобразится экран установки.; Выберите страну или регион.
- 43 Отключение видеокамеры от
- 44 Запуск PMB; Программное обеспечение PMB
- 45 Сохранение изображений на внешнем устройстве; Выбор способа сохранения изображений на
- 46 Устройства, на которых можно воспроизводить созданный диск; или PlayStation
- 47 Вы можете сохранить фильмы и
- 48 на экране; При подключении устройства
- 50 Для выполнения [Прямое
- 51 на
- 54 Индивидуальная настройка видеокамеры; хорошо пользоваться меню.; Режим съемки (Элементы для выбора режима съемки); Использование меню
- 56 Списки меню; Режим съемки
- 58 Установка
- 61 Дополнительная информация; Устранение; Если при использовании видеокамеры
- 64 Время записи
- 65 Внутренняя память; Качество изображения высокой четкости (HD) в час; Качество изображения стандартной четкости (STD) в
- 66 Карта памяти; Качество изображения высокой четкости (HD)
- 67 Меры; Использование и уход
- 70 Технические; Система
- 71 Разъемы входных/выходных сигналов
- 72 О товарных знаках
- 73 Краткое справочное руководство; Индикаторы экрана; Левая часть
- 74 Нижняя часть
- 77 Алфавитный указатель












