Видеокамеры Sony HDR-PJ740VE / HDR-PJ760E (VE) - инструкция пользователя по применению, эксплуатации и установке на русском языке. Мы надеемся, она поможет вам решить возникшие у вас вопросы при эксплуатации техники.
Если остались вопросы, задайте их в комментариях после инструкции.
"Загружаем инструкцию", означает, что нужно подождать пока файл загрузится и можно будет его читать онлайн. Некоторые инструкции очень большие и время их появления зависит от вашей скорости интернета.

1
RU
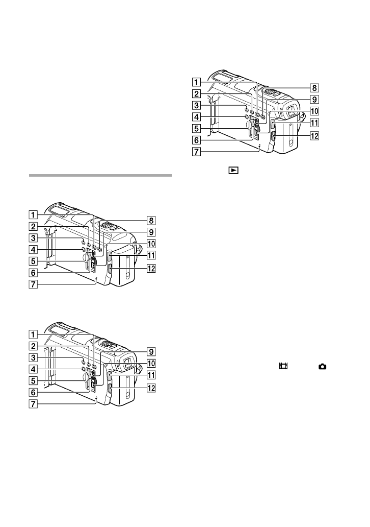
Экран LCD/сенсорная панель (21, 23)
Повернув панель LCD на 180 градусов, 
можно закрыть ее экран LCD наружу. Это 
удобно для режима воспроизведения.
Динамики
Объектив проектора (54)
Рычаг PROJECTOR FOCUS (54)
Антенна GPS (HDR-CX740VE/CX760VE/
PJ710VE/PJ740VE/PJ760VE)
Антенна GPS расположена на панели LCD.
HDR-PJ710VE/PJ720E
HDR-CX730E/CX740E/CX740VE/CX760E/
CX760VE
HDR-PJ740VE/PJ760VE/PJ760E
Кнопка
(Просмотр изображений)
Кнопка LIGHT (Подсветка видео) (39)
Кнопка NIGHTSHOT (39)
Кнопка POWER
Индикатор доступа к карте памяти (24)
Индикатор постоянно горит или мигает, 
когда видеокамерой выполняется 
считывание или запись данных.
Слот карты памяти (24)
Кнопка RESET
Нажмите кнопку RESET при помощи 
остроконечного предмета.
Нажмите кнопку RESET для инициализации 
всех настроек, включая настройку часов.
Кнопка PROJECTOR (54) (HDR-PJ710VE/
PJ720E/PJ740VE/PJ760E/PJ760VE)
Разъем
Индикаторы режимов
(фильм)/
(фото) (26)
Кнопка MODE
Содержание
- 2 Батарейный блок
- 3 Дата изготовления изделия.; буквенно-цифровых символов; ДЛЯ ПОЛЬЗОВАТЕЛЕЙ В ЕВРОПЕ; Внимание
- 7 ополнительная информация
- 8 одержание; Подготовка к работе; Запись/Воспроизведение; Расширенные функции
- 9 ание; Редактирование
- 11 Встроенный микрофон
- 16 Беспроводной пульт дистанционного управления (1); Примечания
- 17 те; Зарядка аккумуляторной батареи
- 18 Аккумуляторная батарея
- 19 Извлечение аккумуляторной батареи; аккумуляторную батарею (; Использование сетевой розетки в качестве источника питания
- 20 Зарядка аккумуляторной батареи за границей
- 21 Изменение настройки языка; Выберите
- 22 Отключение питания; Если индикатор
- 23 Регулирование угла наклона панели LCD; отрегулируйте угол наклона(; Отключение звуковых сигналов
- 24 Подготовка носителя записи; Карта памяти
- 25 Извлечение карты памяти; Типы карт памяти, которые можно использовать с видеокамерой
- 26 Запись; Внутренняя память
- 27 Для отображения элементов на экран LCD; GPS-состояние триангуляции
- 28 Увеличение, оставшийся заряд батареи; Запись в зеркальном режиме
- 29 Если на фотографиях появляются белые круглые пятна
- 30 величение
- 31 Воспроизведение; на видеокамере
- 33 Когда вы используете картографические данные в первый раз
- 35 Для воспроизведения изображений на других устройствах
- 36 асширенные функции; Коснитесь требуемого лица.
- 38 Распознавание дрожания камеры:
- 40 Режим записи; О качестве изображения
- 44 Запись информации о местоположении
- 46 Состояние
- 48 Нажмите; Видеокамера еще раз выполняет
- 50 Ваша видеокамера
- 52 О кабеле HDMI
- 53 Использование“BRAVIA” Sync; Вкл “Photo TV HD”
- 56 едактирование; Удаление части фильма
- 59 Сохранение фильмов и фотографий на компьютере; Для Windows; Сетевые сервисы
- 60 ля Mac
- 61 Microsoft Windows XP SP3
- 63 Создание диска Blu-ray
- 66 охранение изображений на внешнем устройстве; Руководство по копированию; Внешние устройства
- 67 Устройства, на которых можно воспроизводить созданный диск
- 68 оздание диска
- 70 ставьте носитель записи в
- 72 оспроизведение на видеокамере
- 74 Индивидуальная настройка видеокамеры; Использование меню; Камера/Микрофон (Элементы для индивидуальной настройки съемки)
- 76 Списки меню; Режим съемки
- 78 Установка
- 81 ль; Видеокамера нагревается.
- 83 Время записи
- 84 Время воспроизведения
- 86 арта памяти; Качество изображения высокой четкости (HD)
- 87 Использование и уход
- 89 Конденсация влаги
- 90 Разъем активного интерфейса
- 91 ПРЕДУПРЕЖДЕНИЕ; Экран LCD
- 93 Настройки
- 94 Спецификации; Система
- 95 Общие технические характеристики
- 97 О товарных знаках
- 99 АВТОРСКОЕ ПРАВО
- 102 Индикаторы экрана; Индикация
- 103 Центр; EV
- 104 лфавитный указатель
Характеристики
Остались вопросы?Не нашли свой ответ в руководстве или возникли другие проблемы? Задайте свой вопрос в форме ниже с подробным описанием вашей ситуации, чтобы другие люди и специалисты смогли дать на него ответ. Если вы знаете как решить проблему другого человека, пожалуйста, подскажите ему :)
 
  
  
  
  
  
  
  
  
  
  
  
  
  
  
  
  
  
  
  
  
  
  
  
  
  
  
  
  
  
  
  
  
  
  
  
  
  
  
  
  
  
  
  
  
  
  
  
  
  
  
  
  
  
  
  
  
  
  
  
  
  
  
  
  
  
  
  
  
  
  
  
  
  
  
  
  
  
  
  
  
  
  
  
  
  
  
  
  
  
  
  
  
  
  
  
  
  
  
  
  
  
  
  
  
  
  
  
  
  
  
  
  
  
  
  
  
  
  
  
  
  
  
  
  
  
  
  
  
  
  
  
  
  
  
  
  
  
  
  
  
  
  
  
  
  
  
  
  
  
  
  
  
  
  
  
  
  
  
  
  
  
  
  
  
  
  
  
  
  
  
  
  
  
  
  
  
  
  
  
  
  
  
  
  
  
  
  
  
  
  
  
  
  
  
  
  
  
  
  
  
  
  
  
  
  
  
 











