Видеокамеры Sony HDR-CX250E / HDR-CX260E (VE) - инструкция пользователя по применению, эксплуатации и установке на русском языке. Мы надеемся, она поможет вам решить возникшие у вас вопросы при эксплуатации техники.
Если остались вопросы, задайте их в комментариях после инструкции.
"Загружаем инструкцию", означает, что нужно подождать пока файл загрузится и можно будет его читать онлайн. Некоторые инструкции очень большие и время их появления зависит от вашей скорости интернета.

UA
Відтворення
Можна шукати записані зображення за датою та часом записування (Перегляд події)
або за місцем записування (Перегляд мапи) (HDR-CX260VE/CX580VE/PJ260VE/
PJ580VE/PJ600VE/XR260VE).
1
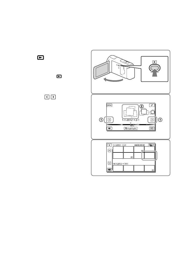
Відкрийте РК-екран і натисніть
кнопку
на відеокамері, щоб
увійти в режим відтворення.
Вхід до режиму відтворення можна
здійснити, обравши
на РК-екрані
(стор. 28).
2
Торкніться / , щоб
розташувати потрібну подію в
центрі (
), а потім виберіть її
(
).
Відеокамера автоматично відтворює
записані зображення як подію,
відповідно до дати і часу.
3
Виберіть зображення.
Відеокамера відтворить подію,
починаючи з вибраного зображення й
завершуючи останнім зображенням.
Содержание
- 2 ПРЕДУПРЕЖДЕНИЕ; Батарейный блок
- 3 ДЛЯ ПОЛЬЗОВАТЕЛЕЙ В ЕВРОПЕ; Примечание для покупателей в
- 7 Содержание; Подготовка к работе; Запись/Воспроизведение; Расширенные функции
- 9 Сохранение изображений на внешнем устройстве
- 14 Закрепление ремешка для руки
- 16 Прилагаемые; Беспроводной пульт дистанционного управления
- 17 Зарядка аккумуляторной батареи
- 19 Извлечение аккумуляторной батареи; Использование сетевой розетки в качестве источника питания
- 20 Зарядка аккумуляторной батареи за границей
- 21 Включение питания и установка даты и
- 22 Изменение настройки языка; Отключение питания; Отключение звуковых сигналов
- 23 Подготовка носителя записи; Карта памяти
- 24 Типы карт памяти, которые можно использовать с видеокамерой
- 26 Запись; Запись фильмов
- 27 Для отображения элементов на экран LCD; GPS-состояние триангуляции
- 28 Увеличение, оставшийся заряд батареи; Запись в зеркальном режиме
- 30 Увеличение
- 31 Воспроизведение; на видеокамере; Выберите изображение.
- 32 Отображение на дисплее экрана просмотра события
- 33 Когда вы используете картографические данные в первый раз
- 35 При просмотре фотографий
- 36 Четкая съемка; Коснитесь требуемого лица.
- 38 Распознавание дрожания камеры:
- 39 О качестве изображения
- 41 Запись информации; Запись информации о местоположении
- 44 Насладитесь; Нажмите
- 45 Видеокамера еще раз выполняет
- 47 Ваша видеокамера
- 49 О кабеле HDMI
- 51 Использование
- 53 Редактирование; Редактирование на; Удаление части фильма
- 56 Сохранение фильмов и фотографий на компьютере; При подключении видеокамеры к; Для Windows; Загрузить; Сетевые сервисы
- 57 Для Mac
- 60 Создание диска Blu-ray
- 63 Руководство по созданию дисков
- 64 Устройства, на которых можно воспроизводить созданный диск
- 68 Сохранение
- 71 Индивидуальная настройка видеокамеры; Использование меню; Камера/Микрофон (Элементы для индивидуальной настройки съемки)
- 73 Списки меню; Режим съемки
- 75 Установка
- 77 Устранение; Отключите источник питания
- 79 Отображение
- 81 Время записи
- 82 Время воспроизведения
- 84 Качество изображения высокой четкости (HD) в ч; Качество изображения стандартной четкости (STD) в; Качество изображения стандартной четкости (STD) в
- 85 Качество изображения высокой четкости (HD)
- 86 Качество изображения стандартной четкости (STD)
- 87 Обращение с; Использование и уход; Экран LCD
- 89 Конденсация влаги
- 91 Замена батареи в беспроводном пульте
- 92 Об обращении с корпусом
- 93 Настройки
- 94 Спецификации; Система
- 95 Разъемы входных/выходных сигналов
- 96 Подзаряжаемая аккумуляторная; О товарных знаках
- 99 АВТОРСКОЕ ПРАВО
- 102 Индикаторы экрана
- 103 Центр
- 104 Алфавитный указатель












