Видеокамеры Sony HDR-CX200ES - инструкция пользователя по применению, эксплуатации и установке на русском языке. Мы надеемся, она поможет вам решить возникшие у вас вопросы при эксплуатации техники.
Если остались вопросы, задайте их в комментариях после инструкции.
"Загружаем инструкцию", означает, что нужно подождать пока файл загрузится и можно будет его читать онлайн. Некоторые инструкции очень большие и время их появления зависит от вашей скорости интернета.

RU
Насладитесь
обзором ваших
фильмов
(Воспроизведение
выбранных)
Вы можете наслаждаться качеством
изображений высокой четкости (HD)
фильмов и фотографий подобно
короткому фильму.
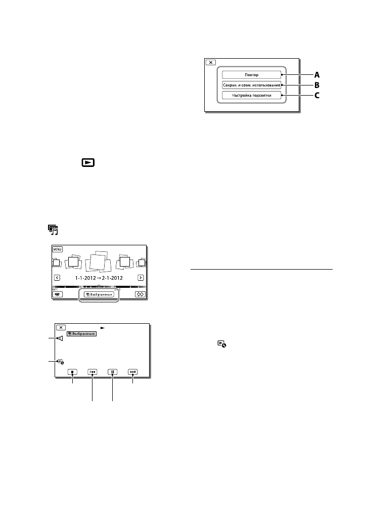
1
Нажмите
(Просмотр
изображений) (стр. 28).
2
Отобразите желаемое событие
в центре экрана просмотра
событий и выберите
[
Выбранные].
3
Выберите делаемую
ориентацию по окончании
воспроизведения выбранных.
A
:
Видеокамера еще раз выполняет
воспроизведение выбранных.
B
:
Вы можете сохранить сцены
воспроизведения выбранных
с качеством изображения
стандартного разрешения (STD)
и поделиться ими с другими
(загрузить в Интернет и т. п.).
C
:
Вы можете изменить настройки
для воспроизведения выбранных.
Изменение настроек для
Воспроизведения выбранных
Вы можете изменить настройки
воспроизведения выбранных выбрав
[Настройка подсветки] на экране
после завершения воспроизведения
выбранных.
Вы также можете изменить настройку,
выбрав
[Настройка подсветки]
во время воспроизведения выбранных
видеокамерой.
[Диапаз. воспроизв.]
Вы можете установить диапазон
воспроизведения (дату начала и окончания)
выбранных.
[Тема]
Вы можете выбрать тему для
Воспроизведения выбранных.
[музыкa]
Вы можете выбирать музыку.
[Аудиомикшер]
Оригинальный звук воспроизводится
вместе с музыкой.
Регулирование
громкости
Содержание
Пауза
Остановка
Предыдущее
Далее
Содержание
- 2 ПРЕДУПРЕЖДЕНИЕ; Батарейный блок
- 3 ДЛЯ ПОЛЬЗОВАТЕЛЕЙ В ЕВРОПЕ; Примечание для покупателей в
- 8 Содержание; Подготовка к работе; Запись/Воспроизведение; Расширенные функции
- 9 Редактирование
- 10 Индивидуальная настройка видеокамеры
- 13 Закрепление ремешок для руки
- 14 Прилагаемые; “Руководство по эксплуатации” (Данное руководство)
- 15 Зарядка аккумуляторной батареи
- 17 Извлечение аккумуляторной батареи; Использование сетевой розетки в качестве источника питания
- 18 Зарядка аккумуляторной батареи за границей
- 19 Включение питания и установка даты и
- 20 Изменение настройки языка; Отключение питания; Отключение звуковых сигналов
- 21 Подготовка носителя записи; Карта памяти
- 22 Извлечение карты памяти; Типы карт памяти, которые можно использовать с видеокамерой
- 23 Запись; Запись фильмов
- 25 Индикаторы экрана во время записи; Следящая фокусировка
- 26 Запись в зеркальном режиме
- 27 Увеличение
- 28 Воспроизведение; на видеокамере; Выберите изображение.
- 29 Отображение на дисплее экрана просмотра события; Фото
- 31 Для воспроизведения изображений на других устройствах
- 32 Четкая съемка; Коснитесь требуемого лица.
- 34 Распознавание дрожания камеры:
- 35 О качестве изображения
- 36 Нажмите; Видеокамера еще раз выполняет
- 39 О кабеле HDMI
- 40 Использование “BRAVIA” Sync
- 41 Использование; Вкл “Photo TV HD”
- 43 Редактирование на; Удаление части фильма
- 46 Сохранение фильмов и фотографий на компьютере; При подключении видеокамеры к; Для Windows; Загрузить; Сетевые сервисы
- 47 Для Mac
- 51 Создание диска Blu-ray
- 53 Сохранение изображений на внешнем устройстве; Руководство по созданию дисков
- 54 Устройства, на которых можно воспроизводить созданный диск
- 61 Использование меню; Камера/Микрофон (Элементы для индивидуальной настройки съемки)
- 63 Списки меню; Режим съемки
- 64 Установка
- 66 Отключите источник питания
- 69 Время записи
- 70 Время воспроизведения; Качество изображения высокой четкости (HD) в ч; Качество изображения стандартной четкости (STD) в; Качество изображения высокой четкости (HD)
- 71 Качество изображения стандартной четкости (STD)
- 72 Использование и уход; Экран LCD
- 73 Конденсация влаги
- 75 Об обращении с корпусом
- 76 Настройки
- 77 Спецификации; Система
- 78 Подзаряжаемая аккумуляторная
- 79 О товарных знаках
- 80 Индикаторы экрана
- 81 Нижняя часть
- 82 Алфавитный указатель













