Видеокамеры Sony HDR-CX110E - инструкция пользователя по применению, эксплуатации и установке на русском языке. Мы надеемся, она поможет вам решить возникшие у вас вопросы при эксплуатации техники.
Если остались вопросы, задайте их в комментариях после инструкции.
"Загружаем инструкцию", означает, что нужно подождать пока файл загрузится и можно будет его читать онлайн. Некоторые инструкции очень большие и время их появления зависит от вашей скорости интернета.

Збереж
енн
я зображ
ень на зовнішніх прис
троях
UA
*
HDR-CX110E/CX115E/CX116E/CX150E/
CX155E
**
HDR-XR150E/XR155E
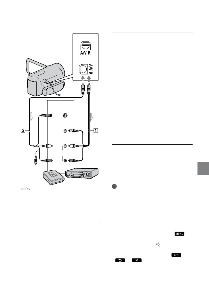
Вставте носій запису в
записуючий пристрій.
Якщо записуючий пристрій обладнаний
селектором входів, переведіть його у
вхідний режим.
Підключіть відеокамеру
до записуючого пристрою
(рекордер дисків тощо)
за допомогою кабелю A/V
(додається) або кабелю
A/V із штепселем S VIDEO
(продається окремо).
Підключіть відеокамеру до вхідних
роз’ємів записуючого пристрою.
Розпочніть відтворення на
відеокамері й запишіть дані на
записуючий пристрій.
Докладніше див. у посібнику з
експлуатації, який додається до
записуючого пристрою.
Після завершення копіювання
спочатку вимкніть записуючий
пристрій, потім відеокамеру.
Примітки
Оскільки запис виконується шляхом
передавання аналогових даних, якість
зображення може погіршитися.
Не можна копіювати зображення на
рекордерах, підключених за допомогою
кабелю HDMI.
Щоб приховати екранні індикатори
(наприклад, лічильник тощо) на моніторі
підключеного пристрою, торкніть
(MENU)
[Show others]
[OUTPUT
SETTINGS] (у категорії [GENERAL
SET])
[DISP OUTPUT]
[LCD PANEL]
(значення за промовчанням)
.
Дистанційний з’єднувач A/V
Потік сигналів
S VIDEO
VIDEO
(Жовтий)
(Білий)
AUDIO
(Червоний)
Вхід
(Жовтий)
*
**
Содержание
- 2 ПРЕДУПРЕЖДЕНИЕ; Батарейный блок
- 3 Дата изготовления изделия.; ДЛЯ ПОЛЬЗОВАТЕЛЕЙ В ЕВРОПЕ; Примечание для покупателей в; Внимание
- 5 Прилагаемые принадлежности; Аккумуляторный батарейный блок; Использование видеокамеры; Экран ЖКД; Элементы меню, панель ЖКД и; Черные точки
- 6 Сохраните данные всех записанных
- 8 Примечания по использованию
- 9 Примечание по использованию
- 10 Последовательность операций; Воспроизведение фильмов и фотографий
- 11 Содержание; Подготовка к работе
- 13 Действие 1: Зарядка аккумуляторной батареи
- 14 Извлечение аккумуляторной батареи
- 15 Использование сетевой розетки в качестве источника питания; Зарядка аккумуляторной батареи за границей
- 16 Откройте экран ЖКД видеокамеры.; Видеокамера включится.; Выберите нужный географический регион с помощью; Запускается отсчет времени.
- 17 Отключение питания; Выбор языка интерфейса
- 18 Действие 3: Подготовка носителя записи; Коснитесь; Носитель записи изменяется.
- 19 Проверка параметров носителя записи; Установка карты памяти; Типы карт памяти, которые можно использовать с видеокамерой
- 20 “Memory Stick PRO Duo”/“Memory Stick PRO-HG Duo”
- 21 Извлечение карты памяти; Откройте крышку и слегка однократно нажмите на карту памяти.; Перезапись или копирование фильмов и фотографий с внутреннего
- 22 Запись/Воспроизведение; Запись; Открытие крышки объектива; Для открытия сдвиньте переключатель LENS COVER.; Закрепите ремешок для руки.
- 24 Запись фильмов
- 25 Код данных во время записи; желаемая настройка
- 26 Фотосъемка; Мигает
- 27 Воспроизведение; на видеокамере; Фильмы отображаются и сортируются по дате записи.
- 28 Воспроизведение фильмов; Видеокамера начнет воспроизведение выбранного фильма.
- 29 Регулировка громкости звука фильмов; Во время воспроизведения фильмов коснитесь; Просмотр фотографий; На экране видеокамеры отображается выбранная фотография.
- 30 Гнездо HDMI OUT
- 31 Подключение к телевизору высокой четкости
- 33 О “Photo TV HD”; или компонентного кабеля
- 34 Оптимальное использование видеокамеры; Удаление фильмов и; Одновременное удаление всех; УДАЛИТЬ
- 35 В действии 2 коснитесь
- 36 Сохранение фильмов и фотографий на компьютере; Подготовка
- 37 Использование Macintosh; Отобразится экран установки.
- 38 Выберите страну или регион.
- 39 Отключение видеокамеры от
- 40 Запуск PMB; Чтение “Справка PMB”
- 43 Нажмите
- 45 В верхней части окна щелкните; Появится окно выбора фильмов.; Воспроизведение диска AVCHD
- 46 Создание диска Blu-ray
- 47 Копирование диска
- 48 Захват фотографий из фильма
- 49 Сохранение изображений на внешнем устройстве; Сохранение
- 50 на экране; При подключении внешнего
- 52 Выбор способа создания диска; или; Плейер
- 54 Настройка диска с помощью ФУНК.
- 55 Выберите носитель записи,; Коснитесь фильма, который нужно
- 60 Индивидуальная настройка видеокамеры; Использование меню; РУЧНАЯ НАСТР. (Элементы, которые настраиваются для соответствия; Меню настроек; Коснитесь элемента меню, который нужно изменить.
- 61 Использование МОЕ МЕНЮ
- 62 Использование OPTION MENU
- 63 Списки меню
- 69 Дополнительная информация; Устранение; Отключите источник питания
- 72 Использование и уход
- 74 Система; Примечание по утилизации/
- 75 Разъемы входных/выходных сигналов
- 76 Предполагаемое время зарядки; Качество изображения высокой четкости (HD) в ч
- 77 Пример предполагаемого времени
- 78 О товарных знаках
- 79 Краткое справочное руководство; Индикаторы экрана; Левый верхний угол
- 80 Детали и органы
- 83 Алфавитный указатель












