Видеокамеры SONY FDR-AX100 - инструкция пользователя по применению, эксплуатации и установке на русском языке. Мы надеемся, она поможет вам решить возникшие у вас вопросы при эксплуатации техники.
Если остались вопросы, задайте их в комментариях после инструкции.
"Загружаем инструкцию", означает, что нужно подождать пока файл загрузится и можно будет его читать онлайн. Некоторые инструкции очень большие и время их появления зависит от вашей скорости интернета.

RU
52
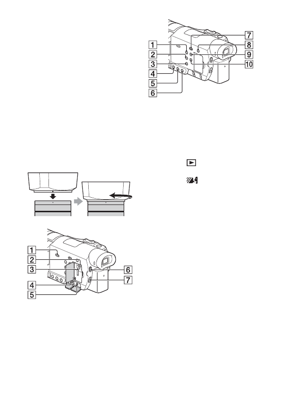
Переключатель ZOOM/
FOCUS
Кнопка AF/MF
Кнопка MANUAL
Диск MANUAL
Ручные функции могут быть 
присвоены кнопке и диску.
Установка бленды 
объектива (входит в 
комплект поставки)
Совместите красную линию на 
бленде объектива с красной 
точкой на объективе (указатель 
бленды), затем вставьте бленду 
в корпус объектива и поверните 
ее по часовой стрелке до 
защелкивания на месте.
Динамик
Индикатор доступа к карте 
памяти (16)
Слот для карты памяти (16)
Разъем HDMI OUT
Разъем
(для наушников)
Переключатель ND  FILTER 
(AUTO/MANUAL)
Переключатель ND FILTER
Кнопка POWER
Кнопка WHITE BALANCE
Кнопка PROGRAM AE
Кнопка IRIS
Кнопка GAIN/ISO
Кнопка SHUTTER SPEED
Кнопка
(Просмотр
изображений) (25)
Кнопка
(Отм.
Моего
голоса)
Устраняет голос лица, 
записывающего фильм.
Кнопка DISPLAY
Кнопка NIGHT SHOT
Содержание
- 2 Батарейный блок; ПРЕДУПРЕЖДЕНИЕ
 - 3 ИНФОРМАЦИЯ О
 - 4 ДЛЯ ПОЛЬЗОВАТЕЛЕЙ В
 - 5 Уведомление; Только для модели
 - 7 Выбор формата записи для фильмов; Что такое формат XAVC S?
 - 8 Формат записи и доступный режим съемки; Способ хранения
 - 9 Перемещение изображений на смартфон
 - 10 Подготовка к работе; Прилагаемые; Все модели
 - 12 Зарядка аккумуляторной батареи
 - 13 Зарядка батареи с использованием компьютера
 - 14 Извлечение аккумуляторной батареи; Зарядка аккумуляторной батареи за границей
 - 15 Включение питания
 - 16 Установка карты памяти; Запись изображений в формате XAVC S
 - 17 Форматирование носителя записи
 - 18 Запись/воспроизведение; Запись; Запись фильмов
 - 20 Съемка фотографий
 - 21 Приблизительное доступное время записи
 - 22 Для возврата в режим автоматической настройки
 - 23 Настройка экспозиции
 - 24 Настройка интенсивности освещенности (Фильтр; Установите переключатель ND FILTER; Фокусировка или увеличение при помощи кольца; для переключения в режим
 - 25 Воспроизведение; Откройте ЖК-монитор и нажмите кнопку
 - 26 Действия воспроизведения; Выберите изображение.
 - 27 Удаление изображений
 - 28 Воспроизведение изображений
 - 29 Настройка воспроизведения изображений
 - 31 Воспроизведение обрезанных фильмов, записанных; Коснитесь
 - 33 Сохранение изображений; Использование PlayMemories Home; Загрузка PlayMemories Home
 - 34 Подключение внешнего носителя; Устройство с внешним носителем; Как сохранять фильмы; Подключение устройства
 - 36 Использование; ОС Android
 - 37 Перемещение
 - 38 Android
 - 41 Индивидуальная настройка видеокамеры; Списки меню
 - 44 Прочее; Меры; Адаптер переменного тока
 - 45 Видоискатель
 - 46 Беспроводная ЛВС; Технические; Поиск и устранение
 - 50 Товарные знаки
 - 51 Детали и
 - 53 Беспроводной пульт
 - 55 Алфавитный
 
Характеристики
Остались вопросы?Не нашли свой ответ в руководстве или возникли другие проблемы? Задайте свой вопрос в форме ниже с подробным описанием вашей ситуации, чтобы другие люди и специалисты смогли дать на него ответ. Если вы знаете как решить проблему другого человека, пожалуйста, подскажите ему :)
 
 
 
 
 
 
 
 
 
 
 
 
 
 
 
 
 
 
 
 
 
 
 
 
 
 
 
 
 
 
 
 
 
 
 
 
 
 
 
 
 
 
 
 
 
 
 
 
 
 
 
 
 
 
 
 
 
 
 
 











