Видеокамеры Sony DSR-PD170P - инструкция пользователя по применению, эксплуатации и установке на русском языке. Мы надеемся, она поможет вам решить возникшие у вас вопросы при эксплуатации техники.
Если остались вопросы, задайте их в комментариях после инструкции.
"Загружаем инструкцию", означает, что нужно подождать пока файл загрузится и можно будет его читать онлайн. Некоторые инструкции очень большие и время их появления зависит от вашей скорости интернета.

Глава
8 –
Операции
с
“Memory Stick”
•
Когда
между
директорией
и
номером
файла
стоит
нижний
штрих
,
такое
имя
файла
данных
означает
,
что
этот
файл
не
соответствует
стандарту
DCF98.
•
Директория
не
указывается
,
если
файловая
структура
в
“Memory Stick”
не
соответствует
стандарту
DCF98.
•
Может
появиться
сообщение
“
DIRECTORY ERROR” (
Ошибка
директории
),
если
файловая
структу
-
ра
в
“Memory Stick”
не
соответствует
стандарту
DCF98.
В
этом
случае
запись
на
“Memory Stick”
произво
-
дить
нельзя
,
но
воспроизводить
изображения
,
содержащиеся
на
“Memory Stick”,
можно
.
•
Когда
имя
файла
данных
мигает
,
это
означает
,
что
,
возможно
,
поврежден
файл
или
формат
файла
не
соответствует
вашему
камкордеру
.
Одновременное
воспроизведение
шести
записанных
изображений
(index screen –
экран
ин
-
дексных
изображений
)
Вы
можете
одновременно
воспроизвести
шесть
записанных
изображений
.
Эта
функция
особенно
полезна
при
поиске
какого
-
то
определенного
изображения
.
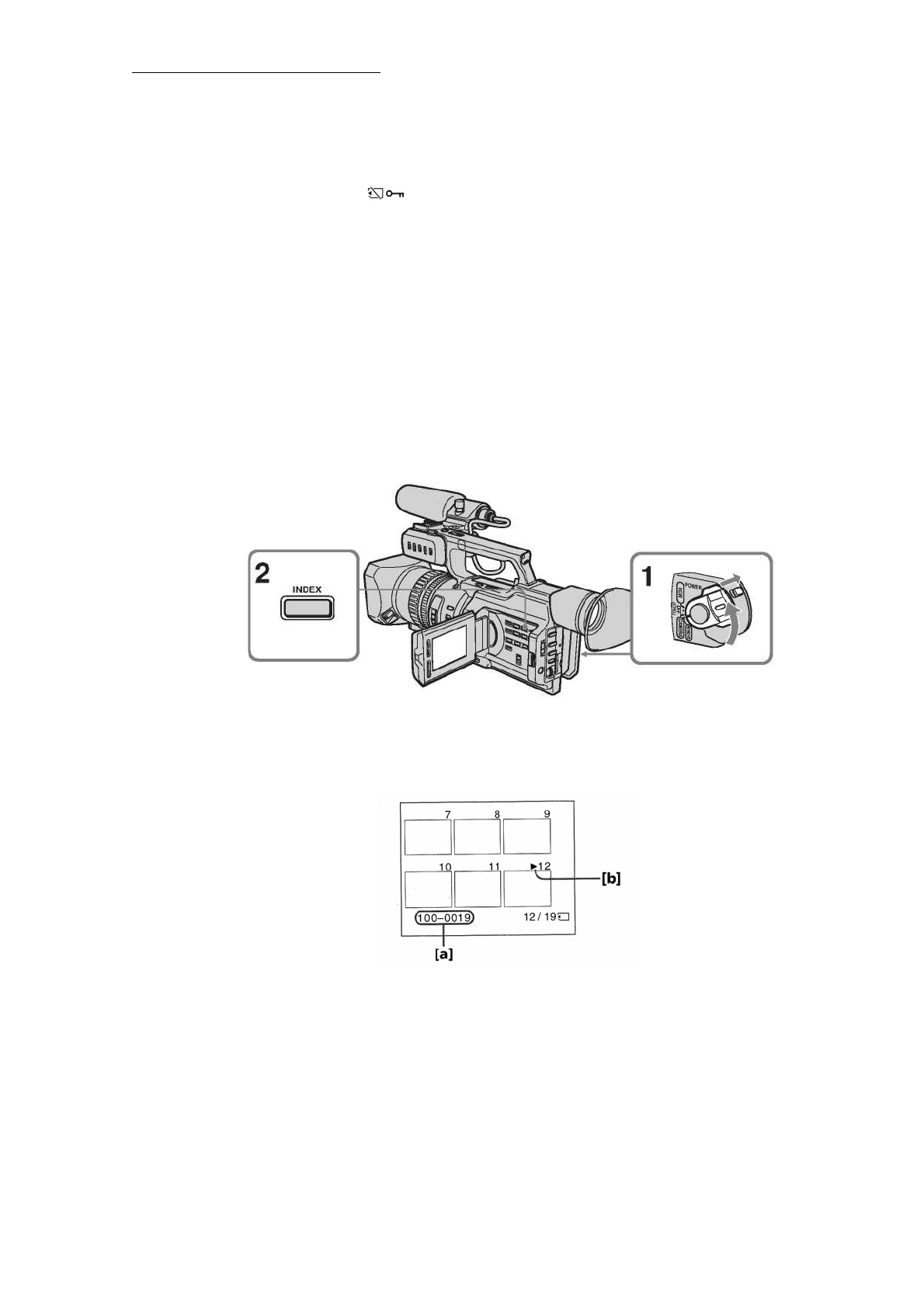
(1)
Установите
переключатель
POWER (
Питание
)
в
положение
VCR (
Видеомагнитофон
)
или
MEMORY (
Па
-
мять
).
(2)
Нажмите
MEMORY INDEX (
Индексные
изображения
из
памяти
).
Отображается
индексный
экран
– index
screen.
Над
изображением
,
которое
отображается
перед
переходом
на
режим
индексного
экрана
,
появляется
метка
.
MEMORY– :
отображение
предыдущих
шести
изображений
MEMORY+ :
отображение
следующих
шести
изображений
[a]
Имя
файла
[
b
]
Метка
Возврат
к
нормальному
экрану
воспроизведения
с
одним
изображением
(single screen)
Нажмите
на
кнопку
MEMORY +/–
для
установки
метки
на
изображение
,
которое
будет
отображаться
на
полном
экране
,
а
затем
нажмите
MEMORY PLAY (
Воспроизведение
из
памяти
).
Файлы
,
измененные
на
персональном
компьютере
Эти
файлы
могут
не
отображаться
на
индексном
экране
.
Файлы
изображений
,
снятых
другим
устройством
,
так
-
же
могут
не
отображаться
на
индексном
экране
.
8-14












