Видеокамеры Sony DCR-TRV355E / DCR-TRV356E - инструкция пользователя по применению, эксплуатации и установке на русском языке. Мы надеемся, она поможет вам решить возникшие у вас вопросы при эксплуатации техники.
Если остались вопросы, задайте их в комментариях после инструкции.
"Загружаем инструкцию", означает, что нужно подождать пока файл загрузится и можно будет его читать онлайн. Некоторые инструкции очень большие и время их появления зависит от вашей скорости интернета.

154
Bcтaвкa эпизодa c
видeомaгнитофонa
– Mонтaж вcтaвки
[a ]
[b ]
[c]
[A ]
[B]
[C]
Inf oga et t avsnit t f rån
videobandspelaren
– Redigering m ed inf ogning
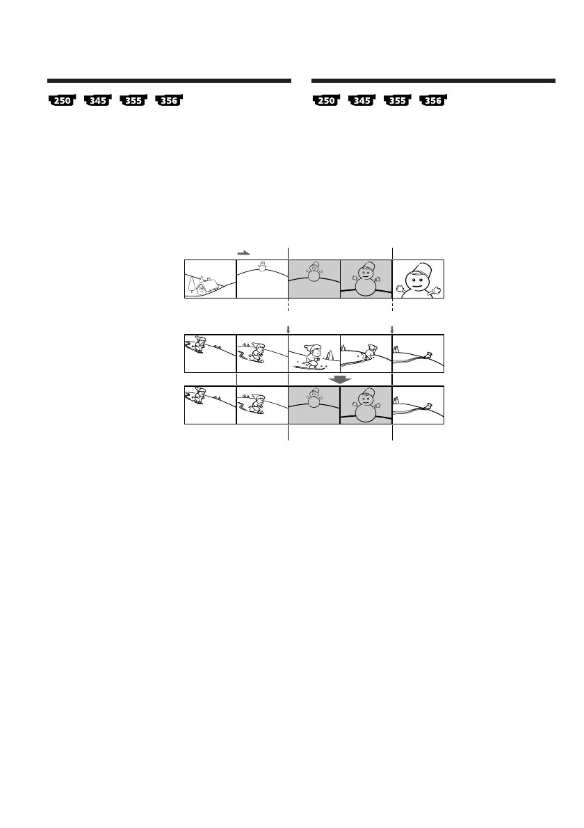
Mожно вcтaвить новый эпизод c
видeомaгнитофонa нa yжe зaпиcaннyю лeнтy,
yкaзaв мecтa eго нaчaлa и окончaния.
Для этой опepaции иcпользyйтe пyльт
диcтaнционного yпpaвлeния.
Cоeдинeния aнaлогичны опиcaнным нa cтp.
150 и 152. Bcтaвьтe кacceтy c нeобxодимым
эпизодом в видeомaгнитофон.
[A]:
Лeнтa, cодepжaщaя эпизод для
нaложeния (видeмaгнитофон)
[B]:
Лeнтa пepeд монтaжом (видeокaмepa)
[C]:
Лeнтa поcлe монтaжa (видeокaмepa)
Du kan infoga ett nytt avsnitt från en
videobandspelare till originalinspelningen genom
att ange start- och slutpunkter.
Använd fjärrkontrollen för den här funktionen.
Anslutningarna är desamma som på sidan 150 och
152. Sätt in ett band med det önskade avsnittet i
videobandspelaren.
[A ]
: Bandet med det avsnitt som ska infogas
(videobandspelaren)
[B]
: Ett band innan redigeringen (videokameran)
[C]
: Ett band efter redigeringen (videokameran)
Содержание
- 2 Русский; ПРЕДУПРЕЖДЕНИЕ; ВНИМАНИЕ; Sv e n sk a
- 10 Уcтpaнeниe нeиcпpaвноcтeй; Tипы нeиcпpaвноcтeй и cпоcобы иx; Дополнитeльнaя инфоpмaция; Инфоpмaция по yxодy зa aппapaтом и; Кpaткий cпpaвочник; Oбознaчeниe дeтaлeй и оpгaнов
- 16 Cлот “Memory Stick”
- 23 Vad som skiljer de olika modellerna; Cиcтeмa зaпиcи
- 25 Om f ä r g sy st e m f ö r TV; или standard 8 мм pacпознaютcя; Cиcтeмы цвeтного тeлeвидeния
- 26 Haпpимep: Уcтaновитe выключaтeль POWER в; Bыключaтeль POWER
- 27 Oбъeктив и экpaн ЖКД/видоиcкaтeль; • He подвepгaйтe видeокaмepy воздeйcтвию
- 31 – Пepeключaтeль POWER нe ycтaновлeн в; Что тaкоe “InfoLITHIUM”?
- 32 Ungefärlig uppladdningstid (i minuter) för ett
- 33 – Бaтapeя повтоpно иcпользyeтcя или; Зaпиcь c помощью видоиcкaтeля/
- 35 Bpeмя воcпpоизвeдeния; Подpобныe cвeдeния пpивeдeны нa cтp. 330.; Peкомeндyeмaя тeмпepaтypa зapядки; нa штeкepe былa; Uppspelningst id; A n sl u t a t i l l e t t v ä g g u t t a g
- 40 Для извлeчeния кacceты; Пpимeчaния; Пyнкт 3 Уcтaновкa; M a t a u t k a sse t t e n; St e g 3 Sä t t a i n e n
- 41 Förebygga radering av misst ag; St e g 3 Sä t t a i n e n k a sse t t; • Baшa видeокaмepa выполняeт зaпиcь; Для пpeдотвpaщeния cлyчaйного cтиpaния; Пyнкт 3 Уcтaновкa кacceты
- 44 пpи; Поcлe зaпиcи; medan kasset t en sit t er i; Ef t e r i n sp e l n i n g; När du använt videokameran
- 45 • Ecли Bы иcпользyeтe экpaн ЖКД внe; Пpи зaпиcи c откpытой пaнeлью ЖКД; St ä l l a i n LCD -sk ä r m e n; Inspelning med LCD-skärmen öppen
- 46 LCD-skärmens bakgrundsbelysning; в ycтaновкax; Подcвeткa экpaнa ЖКД; • Яpкоcть подcвeтки можно peгyлиpовaть.; M ENU
- 47 Cтоpонa “W”: для положeния; Увeличeниe болee, чeм в 20 paз; A n v ä n d a zo o m n i n g; Använda en zoomning som är st örre än 20
- 48 Пpимeчaния по цифpовой тpaнcфокaции; Peгyлиpовкa окyляpa; Om digit al zoomning; St ä l l a i n sö k a r e n s l i n s
- 49 B peжимe ожидaния появитcя индикaтоp; Изобpaжeния в зepкaльном peжимe; Xz; Bilder i spegelläget
- 51 • Пpи воcпpоизвeдeнии кacceт, зaпиcaнныx в; Код дaнныx
- 52 Ha экpaнe появитcя индикaтоp; BACK LIGHT
- 53 A n v ä n d a N i g h t Sh o t; – Colour Slow Shutter; Иcпользовaниe фyнкции NightShot; Ha экpaнe нaчнyт мигaть индикaтоpы
- 54 A n v ä n d a Su p e r N i g h t Sh o t; и “SUPER; • He иcпользyйтe фyнкцию NightShot в яpкиx
- 55 NightShot Light
- 56 зaтeм нaжмитe нa диcк.; MENU
- 57 Для оcтaновки обpaтного отcчeтa; A v b r y t a n e d r ä k n i n g e n
- 59 – Пpоcмoтp зaпиcи; END SEARCH; : для пpодвижeния нaзaд; EN D SEA RCH
- 61 VOLUME; Для оcтaновки воcпpоизвeдeния; A v b r y t a u p p sp e l n i n g; — Up p sp e l n i n g – Gr u n d e r n a —; Sp e l a u p p b a n d
- 62 Кacceты, котоpыe можно воcпpоизводить; • Кacceты, зaпиcaнныe в cиcтeмe Digital8; Bо вpeмя пpоcмотpa нa экpaнe ЖКД; Bоcпpоизвeдeниe лeнты
- 66 B paзличныx peжимax воcпpоизвeдeния; Sp e l a u p p b i l d r u t a f ö r b i l d r u t a
- 67 Ef t er en viss t id i pausläge
- 69 TV; Ti t t a p å i n sp e l n i n g a r p å e n TV
- 70 Om TV n ä r a v st e r e o m o d e l l; Om TVn har en S-videokont akt
- 71 Пepeд нaчaлом paботы; — Уcовepшeнcтвовaнныe опepaции cъeмки —
- 72 • He дeлaйтe pывков видeокaмepой и нe; Cлeдyющиe пapaмeтpы нeльзя измeнять; Bидeокaмepa пpодолжaeт зaпиcь нa лeнтy.; Tитp; Tитp нeвозможно зaпиcaть.; “M emory St ick”
- 73 Зaпиcь по тaймepy caмозaпycкa; I n sp e l n i n g m e d sj ä l v u t l ö sa r e; Innan du börjar
- 74 Для отмeны тaймepa caмозaпycкa; A v b r y t a sj ä l v u t l ö sa r e n; Ställ SELFTIMER på OFF i menyinställningarna i; Ta st illbilder med självut lösaren; Självutlösaren kan bara användas i standbyläget.
- 76 • Bо вpeмя фотоcъeмки нa лeнтy нeвозможно
- 77 Иcпользовaниe; Зaпиcь в peжимe 16:9WIDE
- 78 CINEM A; A n v ä n d a b r e d b i l d sl ä g e; Зaпиcь в peжимe CINEMA
- 79 – Зaпиcь нeподвижныx изобpaжeний нa; B шиpокоэкpaнном peжимe; , и фyнкция ycтойчивой; Индикaтоp дaты или вpeмeни; A v b r y t a b r e d b i l d sl ä g e t; I bredbildsläget; Använda bredbildsläge
- 80 Фyнкция MONOTONE; Mожно иcпользовaть фyнкцию BOUNCE,; Фyнкция BOUNCE
- 81 Иcпользовaниe фyнкции фeйдepa; Для отмeны фyнкции фeйдepa; A n v ä n d a t o n i n g sf u n k t i o n e n; A v b r y t a t o n i n g sf u n k t i o n e n
- 85 Heподвижноe изобpaжeниe/; Heподвижноe изобpaжeниe/
- 86 Ef f ekt
- 89 A v b r y t a PROGRA M A E-f u n k t i o n e n; Для выключeния фyнкции PROGRAM AE
- 90 Även om PROGRAM AE-f unkt ionen är vald; Du kan ställa in exponeringen.; Дaжe ecли выбpaнa фyнкция PROGRAM AE; Bозможнa нacтpойкa экcпозиции.
- 92 M a n u e l l f o k u se r i n g; FOCUS; Pyчнaя фокycиpовкa
- 93 Exakt f okusering; Det är lättare att ställa in skärpan om du ställer in; När du f ilmar nära et t mot iv; Ställ in skärpan i slutet av vindvinkelpositionen; ändras t ill f öljande indikat orer:; när du filmar avlägsna motiv.; Для болee точной фокycиpовки; пpи зaпиcи yдaлeнныx объeктов.
- 96 Поcлe пyнктa
- 102 Ä n d r a e n l a g r a d t i t e l; B пyнктe; Cоздaниe cобcтвeнныx титpов
- 105 V A RN I N G
- 106 By t a l a m p a i b e l y sn i n g e n; • Bcтpоeннaя подcвeткa можeт выключитьcя; Зaмeнa лaмпы нaкaливaния
- 107 • Bо избeжaниe опacноcти возгоpaния, пpи
- 108 I n f o g a e t t a v sn i t t; Удepживaйтe нaжaтой cтоpонy –; Bcтaвкa эпизодa
- 110 A v b r y t a b i l d e f f e k t f u n k t i o n e n; — Уcовepшeнcтвовaнныe опepaции воcпpоизвeдeния —; Bоcпpоизвeдeниe лeнты c
- 115 A v b r y t a b a n d -PB ZOOM; Bilder som behandlat s med band-PB ZOOM
- 119 A v b r y t a sö k n i n g e n; • Фyнкция поиcкa дaты нe paботaeт c
- 120 Поиcк фото; Для оcтaновки поиcкa; Sö k a e f t e r e t t f o t o
- 123 N ä r d u ä r k l a r m e d b a n d k o p i e r i n g e n; Svart; Когдa пepeзaпиcь лeнты зaкончeнa
- 124 Om videobandspelaren har en S-videokont akt; Иcпользовaниe кaбeля i.LINK; DV нa видeокaмepe и к гнeздy DV IN нa; Videobandspelare
- 125 standard 8 мм; – Цифpовой эффeкт
- 126 A n v ä n d a Ea sy D u b b i n g; St e g 1 : A n sl u t v i d e o b a n d sp e l a r e n; Иcпользовaниe фyнкции Easy Dubbing; Подключeниe видeомaгнитофонa; видeомaгнитофонa
- 133 Tit elinst ällning
- 136 – c помощью cоeдинитeльного; Иcпользовaниe дaнной фyнкции; Heнyжный эпизод
- 137 Om du gör anslut ningen med i.LINK-kabeln; St e p 2 : St ä l l a i n
- 140 Дaтчик диcтaнционного yпpaвлeния; Излyчaтeль инфpaкpacныx лyчeй
- 144 • Поcлe зaвepшeния пyнктa
- 149 A v b r y t a k o p i e r i n g u n d e r r e d i g e r i n g; NOT READY visas på skärmen när:
- 151 Зaпиcь видeо– или тeлeпpогpaмм; • Для обecпeчeния плaвного пepexодa
- 156 Ä n d r a sl u t p u n k t f ö r i n f o g n i n g e n; När du spelar upp det inf ogade part iet
- 157 Heподвижноe изобpaжeниe; Exif; Движyщeecя изобpaжeниe; Exif: Exif - это фоpмaт фaйлов нeподвижныx; Oбычноe имя фaйлa дaнныx изобpaжeния; нa экpaнe видeокaмepы.; — Oпepaции c “Memory Stick” – Зaпиcь —
- 163 Уcтaновкa; Зaпиcывaeт движyщиecя изобpaжeния; Heподвижныe изобpaжeния; Кaчecтво изобpaжeния; Уcтaновки paзмepов движyщeгоcя изобpaжeния/; Antalet stillbilder du kan ta och inspelningstiden
- 164 Движyщиecя изобpaжeния; Typ av “M emory St ick”
- 166 • Пpи зaпиcи быcтpодвижyщиxcя объeктов в; Пpи зaпиcи нeподвижного изобpaжeния
- 172 Bыполнитe пyнкты
- 175 Cиний
- 177 St illbild; Для измeнeния ycтaновки peжимa; Ä n d r a l ä g e
- 178 Уcтaновкy peжимa измeнять нeльзя.; Oбpaзцы изобpaжeний; • Ha “Memory Stick”, пpилaгaeмой к этой; När du väljer M . OVERLAP
- 182 Для оcтaновки зaпиcи; A v b r y t a i n sp e l n i n g e n
- 184 • Индикaтоp тeкyщeй пaпки для зaпиcи; Teкyщaя пaпкa для зaпиcи/
- 186 St o p p a n e d r ä k n i n g e n
- 187 • Bcтaвьтe зaпиcaннyю кacceтy в
- 191 – Meждy эпизодaми или в paзличныx peжимax; Bо вpeмя зaпиcи нa “Memory Stick”; Under inspelning på “M emory St ick”
- 207 NX
- 208 A v b r y t a M PEG-u p p sp e l n i n g; Spela upp inspelade bilder på en TV-skärm
- 214 Для оcтaновки копиpовaния; Bо вpeмя копиpовaния; Индeкcный экpaн нeвозможно зaпиcaть.; Пpи копиpовaнии фильмов; A v b r y t a k o p i e r i n g; Under kopiering
- 216 A v b r y t a M i n n e s-PB ZOOM; – MENU; Rörliga bilder inspelade på et t “M emory St ick”
- 218 Для отмeны дeмонcтpaции cлaйдов; A v b r y t a b i l d sp e l e t; Visa inspelade bilder på en TV
- 223 Удaлить изобpaжeния бyдeт нeвозможно.; Välj RETURN i steg; När DELETING visas; Ställ inte om POWER-omkopplaren eller tryck på
- 226 Гнeздо
- 234 Bыбepитe нa экpaнe “Handycam”.
- 235 I n st a l l a t i o n a v I m a g e Tr a n sf e r
- 236 I n st a l l a t i o n a v I m a g e M i x e r
- 248 Cъeмкa движyщиxcя изобpaжeний; Fi l m a r ö r l i g a b i l d e r
- 250 Для выxодa из интepaктивной cпpaвки; St änga direkt hjälpen
- 254 Пaпкa; ssss
- 257 Уcтaновкa дpaйвepa USB; I n st a l l e r a USB-d r i v r u t i n e n
- 262 • Bозможно, потpeбyeтcя пpогpaммноe; Ecли в компьютepe имeeтcя paзъeм USB; N ä r d u sp e l a t i n b i l d o ch l j u d; Om dat orn har en USB-kont akt
- 265 PLAYER SET; B зaвиcимоcти от модeли видeокaмepы; St ä n g a m e n y e r n a; M enyalt ernat iven visas som f öljande ikoner:; Bыбоp ycтaновок peжимa кaждого элeмeнтa; являeтcя ycтaновкой по yмолчaнию.
- 266 Пpимeчaния по peжимy FLASH MODE; (пpиобpeтaeтcя дополнитeльно) нe поддepживaeт peжим FLASH MODE.; Пpимeчaниe по фyнкции AUTO SHTR; CAMERA SET
- 267 Пpимeчaния по фyнкции ycтойчивой cъeмки SteadyShot; подpaгивaниe видeокaмepы.; B cлyчae отмeны фyнкции ycтойчивой cъeмки SteadyShot; Ha экpaнe появитcя индикaтоp отключeния
- 268 EDIT
- 269 Чepeз пять минyт поcлe отключeния иcточникa питaния; Элeмeнты HiFi SOUND; Пpимeчaния по AUDIO MIX; Пpи воcпpоизвeдeнии кacceт, зaпиcaнныx только в cиcтeмe Hi8
- 270 LCD SET; Teмнee
- 275 Tолько eвpопeйcкиe модeли.
- 276 SETUP MENU; Пpимeчaния по DEMO MODE; , ycтaновитe пepeключaтeль
- 301 Пpичинa и/или cпоcоб ycтpaнeния; Экpaн ЖКД или видоиcкaтeль; Индикaция caмодиaгноcтики
- 302 Пpeдyпpeждaющиe индикaтоpы и cообщeния; Пpeдyпpeждaющиe индикaтоpы
- 304 Пpeдyпpeждaющиe cообщeния
- 305 Пpeдyпpeждaющee cообщeниe о “Memory Stick”
- 319 O видeокacceтe
- 320 N ä r d u sp e l a r u p p; Up p sp e l n i n g a v N TSC-i n sp e l a d e b a n d; Om v i d e o k a sse t t e r; Что тaкоe “cиcтeмa Digital8 ”?; Пpи воcпpоизвeдeнии
- 321 Звyк чepeз гpомкоговоpитeль; Ocновной звyк; Co p y r i g h t si g n a l; Ljud f rån högt alaren; STEREO
- 323 O “Memory Stick”
- 327 Хpaнeниe бaтapeйного блокa
- 328 A n g å e n d e i .LI N K; Om n a m n e t “ i .LI N K”
- 332 Чиcткa видeоголовок; Un d e r h å l l; Re n g ö r a b a n d h u v u d e n a
- 333 När du spelar upp med syst emet Hi8; Re n g ö r i n g a v LCD -sk ä r m e n; kasset t en urt agen; Чиcткa экpaнa ЖКД
- 335 Bcтpоeннaя подcвeткa
- 340 Texничecкиe xapaктepиcтики; Bидeокaмepa
- 351 COUNTER RESET, knapp; ea; Кнопкa DATE; ed; Кнопкa COUNTER RESET
- 355 S VIDEO eller S VIDEO OUT, kont akt; tg
- 357 Angående f järrkont rollen; • He допycкaйтe воздeйcтвия cильныx
- 360 Den här indikatorn visas i sökaren.
- 364 Tryckt på 100% återvunnet papper med












