Видеокамеры Sony DCR-TRV110E - инструкция пользователя по применению, эксплуатации и установке на русском языке. Мы надеемся, она поможет вам решить возникшие у вас вопросы при эксплуатации техники.
Если остались вопросы, задайте их в комментариях после инструкции.
"Загружаем инструкцию", означает, что нужно подождать пока файл загрузится и можно будет его читать онлайн. Некоторые инструкции очень большие и время их появления зависит от вашей скорости интернета.

76
Re p l a ci n g r e co r d i n g o n a t a p e
– I n se r t Ed i t i n g
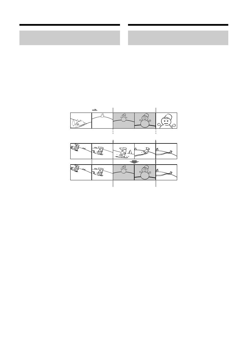
You can insert a new scene from a VCR onto
your originally recorded tape by specifying the
insert start and end points. Use the Remote
Commander for this operation. Connections are
the same as in “Recording video or TV
programmes” on page 74.
Insert a cassette containing the desired scene to
insert into the VCR.
I n se r t i n g a sce n e f ro m
a V CR
[a ]
[b ]
[c]
Вставка эпизода с
КВМ
Замена записи на ленте
– Монтаж вставок
Вы можете вставить новый эпизод с КВМ на
Вашу оригинально записанную ленту путем
указания точек начала и окончания вставки.
Вы можете выполнить это с помощью пульта
дистанционного управления. Подсоединения
являются такими же, как и в разделе “Запись
видео- или телепрограмм” на стр. 74.
Вставьте кассету с нужными эпизодами для
выполнения монтажа на КВМ.
Содержание
- 2 En g l i sh; camcorder. With your Digital; W ARNING; Русский; ПРЕДУПРЕЖДЕНИЕ
- 4 Оглавление; Руководство по быстрому; Подготовка к эксплуатации
- 5 Stick this label on the recorded cassette.
- 8 Руководство по быстрому запуску; был; Установка кассеты; Сетевой адаптер переменного тока (прилагается)
- 9 Запись изображения; Видоискатель; Контроль воспроизводимого изображения на; ПРИМЕЧАНИЕ
- 10 — Ge t t i n g st a r t e d —; Usi n g t h i s m a n u a l; Be f o r e u si n g y o u r ca m co r d e r; standard 8; N o t e o n TV co l o u r sy st e m s; — Подготовка к эксплуатации —; Использование данного руководства; /стандартной системе 8
- 11 • Do not let your camcorder get wet. Keep your
- 12 BATT RELEASE; I n st a l l i n g t h e b a t t e r y p a ck; Slide the battery pack down.; To r e m o v e t h e b a t t e r y p a ck; Af t er inst alling t he bat t ery pack; St e p 1 Pre p a r i n g t h e; Установка батарейного блока; Передвиньте батарейный блок вниз.; Для снятия батарейного блока; После установки батарейного блока; Пункт 1 Подготовка
- 13 St e p 1 Pr e p a r i n g t h e p o w e r; normal charge; Пункт 1 Подготовка источника; “InfoLITHIUM” является фирменным знаком; нормальная зарядка; завершена. Для полной
- 14 “– – – – min” appears in the display window.; Plug t he mains lead deeply; Примечание
- 15 Ch a r g i n g t i m e; )” указывают время при
- 16 Pl a y i n g t i m e; Af t er charging t he bat t ery pack; Playing t ime; Время воспроизведения; После зарядки батарейного блока; Пункт 1 Подготовка источника
- 17 Co n n e ct i n g t o t h e m a i n s; Connect the mains lead to the mains.; на
- 18 • The AC power adaptor can supply power even; Using a car bat t ery; ВНИМАНИЕ; • Питание от сетевого адаптера переменного; Использование автомобильного аккумулятора
- 19 We recommend using Hi8 video cassettes; To e j e ct a ca sse t t e; St e p 2 I n se r t i n g a; . Если Вы используете; Для извлечения кассеты; Пункт 2 Установка
- 20 Not es; • The recording time when you use your Digital8; To prevent accident al erasure; • Время записи при использовании Вашей; Для предотвращения случайного стирания; St e p 2 I n se r t i n g a ca sse t t e
- 21 — Re co r d i n g – Ba si cs —; Re co rd i n g a p i ct u re; Your camcorder automatically focuses for you.; Микрофон
- 22 Not e; A d j u st i n g t h e LCD scr e e n; indicator appears in the; M irror; ярче; Регулировка экрана ЖКД; Зеркальный режим
- 23 Pr; A f t e r r e co r d i n g; Индикатор STBY появится в виде; После записи
- 25 Usi n g t h e zo o m f e a t u r e; Zoom greater than 20; W hen you shoot close t o a subject; • Digital zoom starts to function when zoom; Сторона “W”: для широкоугольного вида; При съемке объекта с близкого положения; • Цифровой вариообъектив начинает
- 26 STA RT/STOP M OD E se t t i n g; • You cannot use the fader function in the 5SEC; Установка START/STOP MODE; ANTI GROUND SHOOTING; Примечания; • Вы не можете использовать функцию
- 27 The indicators are not recorded on tape.; Remaining t ape indicat or; This appears after you insert a cassette for a while.; Индикатор оставшейся ленты; Индикаторы не записываются на ленту.; STANDBY/ REC indicat or
- 28 BACK LIGHT; Функция задней подсветки будет отменена.
- 29 and “NIGHTSHOT” indicators flash on the; Night Shot Light emit t er; Usi n g +SLOW SHUTTER; и “NIGHTSHOT” начнут
- 31 Ch e ck i n g t h e re co rd i n g; EN D SEA RCH; You can search for the next recording start point.; Проверка записи; END SEARCH
- 32 Re c Re v i e w; You can check the last recorded section.; •END SEARCH, EDITSEARCH and Rec Review; Просмотр записи; Нажмите кратковременно сторону – (; • Функции END SEARCH, EDITSEARCH и
- 33 — Pl a y b a ck – Ba si cs —; Pl a y i n g b a ck a t a p e; Open the LCD panel while pressing OPEN.; To st o p p l a y b a ck; PLAY; — Воспроизведение – Основные положения —; Воспроизведение ленты; Для остановки воспроизведения
- 34 W hen monit oring on t he LCD screen; . You can adjust the angle of the; DISPLAY; Во время контроля на экране ЖКД
- 35 Usi n g t h e d a t a co d e f u n ct i o n; Not t o display recording dat a; Использование функции кода даты; Примечание по функции кода данных
- 36 V a r i o u s p l a y b a ck m o d e s; To a d v a n ce t h e t a p e
- 37 To v i e w t h e p i ct u r e a t d o u b l e sp e e d; In t he various playback modes; В переменных режимах воспроизведения
- 38 Передача сигнала
- 39 If your TV or VCR has an S video jack; V i e w i n g t h e r e co r d i n g o n TV
- 40 To ca n ce l t h e l a se r l i n k f u n ct i o n; LASER LINK; Нажмите кнопку
- 41 If you t urn t he pow er of f; Если Вы выключите питание
- 42 — A d v a n ce d Re co r d i n g Op e r a t i o n s —; Ph o t o re co rd i n g; Set the POWER switch to CAMERA.; — Усовершенствованные операции съемки —; Фотосъемка
- 43 Ph o t o r e co r d i n g
- 44 LINE IN
- 45 picture on a normal TV or in the viewfinder; To ca n ce l t h e w i d e m o d e; Set 16:9WIDE to OFF in the MENU settings.; In t he w ide mode; You cannot select or cancel the wide mode.; Usi n g t h e w i d e m o d e; M ENU
- 46 You cannot use this function when D ZOOM is; MONOTONE
- 47 Usi n g t h e f a d e r f u n ct i o n; To ca n ce l t h e f a d e r f u n ct i o n; Использование функции фейдера; При введении изображения; BOUNCE; Для отмены функции фейдера
- 48 • The overlap function works only for tapes; W hen t he OVERLAP indicat or appears; You cannot use the fader function.; Not e on t he bounce f unct ion; Usi n g t h e Fa d e r f u n ct i o n; • Функция наложения изображения работает; Если появился индикатор OVERLAP; ON в установках MENU
- 49 : The colour and brightness of the; The picture is sepia.; SEPIA; : Яркость света будет
- 51 Still picture; STILL
- 52 It ems t o adjust; DIGITAL EFFECT; Пункты для регулировки
- 53 To ca n ce l t h e d i g i t a l e f f e ct; Для отмены цифрового эффекта
- 55 Usi n g t h e PROGRA M A E f u n ct i o n; Появится индикатор PROGRAM
- 56 • In the spotlight, sports lesson and beach & ski; • В режимах прожекторного освещения,
- 57 faithfully; ночных сцен) с большой достоверностью
- 58 Fo cu si n g m a n u a l l y; FOCUS; Фокусировка вручную; таком фоне, как стена или небо
- 59 To r e t u r n t o t h e a u t o f o cu s m o d e; indicator appears. When; W hen you shoot close t o t he subject; Для съемки удаленных объектов; Следующие индикаторы могут появиться; чтобы выполнить фокусировку на него.
- 60 I n se r t i n g a sce n e; Keep pressing the –; Вставка эпизода; Держите нажатой сторону –
- 61 • The zero set memory function works only for; W hen START/ STOP M ODE is set t o or 5SEC; You cannot use the zero set memory function.; • Функция памяти нуля не работает для лент,
- 62 To ca n ce l t h e p i ct u r e e f f e ct f u n ct i o n; Нажмите кнопку PICTURE EFFECT.; • Функция эффектов изображения работает
- 63 To ca n ce l t h e d i g i t a l e f f e ct f u n ct i o n; Press DIGITAL EFFECT.
- 64 • The digital effect function works only for tapes; • Функция цифровых эффектов работает
- 66 Поиск записи по дате
- 67 To st o p se a r ch i n g; Not es on t he dat e search mode; • The date search works only for tapes recorded; Se a r ch i n g a r e co r d i n g b y d a t e; Для остановки поиска; Примечания по режиму поиска даты; • Режим поиска даты функционирует только
- 68 Se a r ch i n g f o r a p h o t o; Поиск фото
- 69 Sca n n i n g p h o t o; To st o p sca n n i n g; Сканирование фото; Для остановки сканирования
- 70 — Ed i t i n g o n Ot h e r Eq u i p m e n t —; D u b b i n g a t a p e; Set the POWER switch to VTR.; — Монтаж на другую аппаратуру —; Перезапись ленты; Начните запись на Вашем КВМ.; Если Вы закончили перезапись ленты
- 71 mini; If your VCR is a monaural t ype; DV; Если Ваш КВМ монофонического типа
- 72 Usi n g t h e i .LI N K ca b l e; Использование кабеля i.LINK; Начните запись на КВМ.
- 73 During digit al edit t ing; • You can use your camcorder as a player or; Во время цифрового монтажа; • Вы можете использовать Вашу видеокамеру
- 75 • To enable smooth transition, we recommend; Запись видео- или телепрограмм; • Для обеспечения плавного перехода
- 77 To ch a n g e t h e i n se r t e n d p o i n t; I n se r t i n g a sce n e f r o m a V CR; Вставка эпизода с КВМ
- 78 W hen t he insert ed pict ure is played back; Skip step 3 and 4. Press; • Функция памяти нулевой отметки работает
- 79 — Cu st o m i zi n g Y o u r Ca m co r d e r —
- 80 Ch a n g i n g t h e M EN U se t t i n g s; To m a k e t h e M EN U d i sp l a y d i sa p p e a r; Se l e ct i n g t h e m o d e se t t i n g o f e a ch i t e m; is the factory setting.; Not es on t he St eadyShot f unct ion; Изменение установок MENU
- 84 Выбор установок режима по каждому пункту; D ZOOM; Примечания по функции устойчивой съемки; функцию устойчивой съемки.
- 85 HiFi SOUND; Примечания по функции AUDIO MIX; примерно на 10 процентов при записи.
- 86 Режим; Примечание по режиму AUDIO MODE
- 87 Если после извлечения источника питания пройдет более 5 минут; примерно на 10 процентов во время записи.
- 88 Turn the SEL/PUSH EXEC dial to select
- 89 Re se t t i n g t h e d a t e a n d t i m e; The year changes as f ollow s:; Переустановка даты и времени; Год изменяется следующим образом:
- 90 — A d d i t i o n a l I n f o r m a t i o n —; D i g i t a l 8; W h a t i s t h e “ D i g i t a l 8; Pl a y b a ck sy st e m; Display during aut omat ic det ect ion of syst em; Что такое “система Digital8 ”?; Система воспроизведения
- 91 W h e n y o u p l a y b a ck; Playing back an NTSC-recorded t ape; • During playback, a black band appears on the; Co p y r i g h t si g n a l; W h e n y o u r e co r d; При воспроизведении; • Во время воспроизведения в нижней части; Сигнал авторского права; Во время записи
- 92 sy st e m
- 93 replace t he bat t ery
- 101 Поиск и устранение неисправностей; В режиме записи; Возможная неисправность
- 102 В режиме воспроизведения; Возможная причина
- 103 В режимах записи и воспроизведения
- 105 Пятизначная индикация
- 106 Предупреждающие индикаторы и сообщения; Предупреждающие индикаторы; Загрязнились видеоголовки; Предупреждающие сообщения; Загрязнились видеоголовки.
- 107 Usi n g y o u r ca m co r d e r a b r o a d; PAL syst em; Brazil; NTSC syst em; Бразилия; Система NTSC
- 108 M o i st u r e co n d e n sa t i o n; I f m o i st u r e co n d e n sa t i o n o ccu r r e d; Not e on moist ure condensat ion; Конденсация влаги; Если произошла конденсация влаги; Примечание по конденсации влаги
- 109 M a i n t e n a n ce i n f o r m a t i o n; Cl e a n i n g t h e v i d e o h e a d; indicator and “; Cl e a n i n g t h e LCD scr e e n
- 110 Caut ion; Pr e ca u t i o n s; Ca m co r d e r o p e r a t i o n; Внимание; Меры предосторожности; Эксплуатация видеокамеры
- 111 On h a n d l i n g t a p e s
- 112 N o t e s o n d r y b a t t e r i e s; If bat t eries are leaking; Примечание к сухим батарейкам
- 114 Технические характеристики; Видеокамера
- 115 Ca m co r d e r
- 116 I d e n t i f y i n g t h e p a r t s a n d co n t r o l s; mark by using infrared rays.
- 118 • The intelligent accessory shoe supplies power; Кнопка DATA CODE; • Держатель для установки принадлежностей
- 119 control jack is used for
- 121 To p r e p a r e t h e Re m o t e Co m m a n d e r; Not es on t he Remot e Commander; • Point the remote sensor away from strong light; Fast ening t he grip st rap; Fasten the grip strap firmly.; Прикрепление ремня для захвата; Плотно прикрепите ремень для захвата.
- 122 V i e w f i n d e r /; or; STBY; Появится индикатор ,; Рабочие индикаторы
- 125 Функции для регулировки экспозиции (в режиме записи); Руководство по быстрым функциям
- 127 Алфавитный указатель












