Видеокамеры Sony DCR-SX43E / DCR-SX44E - инструкция пользователя по применению, эксплуатации и установке на русском языке. Мы надеемся, она поможет вам решить возникшие у вас вопросы при эксплуатации техники.
Если остались вопросы, задайте их в комментариях после инструкции.
"Загружаем инструкцию", означает, что нужно подождать пока файл загрузится и можно будет его читать онлайн. Некоторые инструкции очень большие и время их появления зависит от вашей скорости интернета.

UA
Аби зареєструвати інші пункти меню у розділі MY MENU, повторіть описані вище
кроки й насолоджуйтеся користуванням вашої відеокамери «Handycam».
Поради
Якщо підключено зовнішній запам’ятовувальний пристрій, відображається єдиний розділ MY
MENU.
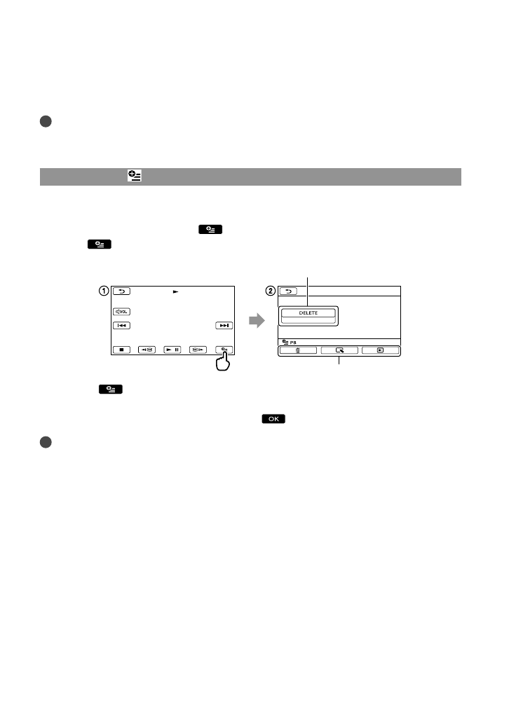
Використання OPTION MENU
Меню OPTION MENU відображається так само, як спливаюче вікно, яке відкривається
після клацання правою кнопкою миші на комп’ютері. Якщо у нижньому правому куті
екрана відображається позначка
, можна скористатися OPTION MENU. Після
торкання
відображаються пункти меню, які можна змінити у відповідному
контексті.
Торкніть
(OPTION).
Торкніть бажану вкладку
пункт меню, параметри якого потрібно змінити.
Після завершення настроювання, торкніть
.
Примітки
Затінені пункти меню й параметри недоступні.
Якщо бажаний пункт не відображено на екрані, торкніть іншу вкладку. (Можливо, вкладок
немає.)
Вкладки та елементи відображаються на екрані залежно від поточного стану записування або
відтворення відеокамери.
Пункт меню
Вкладка
Содержание
- 2 ПРЕДУПРЕЖДЕНИЕ; Батарейный блок
- 3 Дата изготовления изделия.; ДЛЯ ПОЛЬЗОВАТЕЛЕЙ В ЕВРОПЕ; Примечание для покупателей в странах,
- 5 Прилагаемые принадлежности; обозначают количество прилагаемых; Использование видеокамеры; Экран ЖКД; Элементы меню, панель ЖКД и
- 8 Примечания по эксплуатации; Примечание относительно
- 9 Последовательность операций; Воспроизведение фильмов и фотографий
- 10 Содержание
- 11 Настройка видеокамеры
- 12 Начало работы; Шаг 1: зарядка батарейного блока
- 13 Извлечение батарейного блока
- 14 Использование сетевой розетки в качестве источника питания; Зарядка батарейного блока за границей; Примечания о батарейном блоке
- 15 Шаг 2: включение питания и установка даты и; Откройте экран ЖКД видеокамеры.; Видеокамера включится.; Выберите нужный географический регион с помощью кнопок
- 16 Запускается отсчет времени.; Отключение питания; Изменение настройки языка
- 17 Шаг 3: подготовка носителя записи; видеокамеры отображаются следующие значки.; Носитель записи изменяется.; Нажмите
- 18 Выберите требуемый носитель записи.; Проверка параметров носителя записи; Типы карт памяти, которые можно использовать с видеокамерой; маркировкой
- 19 “Memory Stick PRO Duo”/“Memory Stick PRO-HG Duo”
- 20 Извлечение карты памяти; Откройте крышку и однократно слегка нажмите на карту памяти.; Копирование фильмов и фотографий с внутреннего носителя записи
- 21 Запись/воспроизведение; Запись; По умолчанию фильмы записываются на следующий носитель записи.; Открытие крышки объектива; Передвиньте переключатель LENS COVER, чтобы открыть.; Закрепите наручный ремешок.
- 23 Запись фильмов
- 24 Код данных во время записи; Для отображения элемента нажмите
- 25 Фотосъемка
- 26 Воспроизведение; на видеокамере; следующие носители записи.; Через несколько секунд появляется экран VISUAL INDEX.; ) для воспроизведения; Фильмы отображаются и сортируются по дате записи.
- 27 Переключение отображения функциональной кнопки.; Воспроизведение фильмов; Видеокамера начнет воспроизведение выбранного фильма.
- 28 Регулировка громкости фильмов; Во время воспроизведения фильмов нажмите; Просмотр фотографий; На экране видеокамеры отображается выбранная фотография.
- 29 Воспроизведение изображений на телевизоре; помощью соединительного кабеля A/V
- 30 Подключение к телевизору через видеомагнитофон; телевизора или видеомагнитофона.
- 32 Эффективное использование видеокамеры; Удаление фильмов и; Можно освободить пространство на; Одновременное удаление всех
- 34 Сохранение фильмов и фотографий на компьютере; Подготовка; При использовании Macintosh
- 35 Появится экран установки.; Выберите страну или регион.; На дисплее видеокамеры
- 37 Запуск PMB; Использование “Справка PMB”; Отключение видеокамеры от
- 38 Фильмы и фотографии, записанные на
- 40 Создание диска; ранее импортированные на компьютер; В верхней части окна щелкните; Появится окно для выбора фильмов.; Копирование диска
- 41 Захват фотографии из фильма
- 42 Сохранение изображений с помощью внешнего устройства; Сохранение; Можно сохранить фильмы и; Когда отобразится экран [Создать
- 43 на экране; При подключении внешнего
- 44 Завершение соединения внешнего; Создание диска с
- 45 Настройка диска с помощью ФУНК.
- 48 Отсоедините кабель USB.; Соединительный кабель A/V
- 51 Использование меню; РУЧНАЯ НАСТР. (Элементы, настраиваемые для соответствия условиям; Меню настроек
- 52 Использование МОЕ МЕНЮ
- 53 Использование OPTION MENU
- 54 Списки меню; Категория
- 59 Дополнительная информация; Устранение; В случае возникновения неполадок
- 62 Использование и уход
- 64 Технические; Система
- 65 Разъемы входных/выходных сигналов
- 67 О товарных знаках
- 68 Краткий справочник; Индикаторы экрана; Левый верхний угол
- 69 Детали и элементы
- 72 Алфавитный












