Видеокамеры Sony DCR-PJ5E - инструкция пользователя по применению, эксплуатации и установке на русском языке. Мы надеемся, она поможет вам решить возникшие у вас вопросы при эксплуатации техники.
Если остались вопросы, задайте их в комментариях после инструкции.
"Загружаем инструкцию", означает, что нужно подождать пока файл загрузится и можно будет его читать онлайн. Некоторые инструкции очень большие и время их появления зависит от вашей скорости интернета.

UA
Використання OPTION MENU
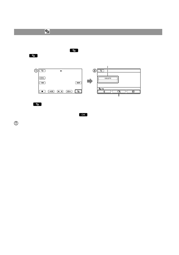
Меню OPTION MENU відображається так само, як розкривне вікно, яке з’являється
після клацання правою кнопкою миші на комп’ютері. Якщо в нижньому правому куті
екрана відображається позначка
, можна скористатися OPTION MENU. Після
обрання
відображаються пункти меню, які можна змінити в контексті.
Оберіть
(OPTION).
Оберіть потрібну вкладку
пункт меню, значення якого потрібно змінити.
Виконавши налаштування, оберіть
.
Примітки
Затінені пункти меню й параметри недоступні.
Якщо потрібний пункт не відображено на екрані, оберіть іншу вкладку. (Можливо, вкладок
немає.)
Вкладки та пункти відображаються на екрані залежно від поточного стану записування або
відтворення відеокамери.
Пункт меню
Вкладка
Содержание
- 3 Дата изготовления изделия.; ДЛЯ ПОЛЬЗОВАТЕЛЕЙ В ЕВРОПЕ; Примечание для покупателей в; Внимание
- 8 Содержание
- 9 Подготовка; Зарядка; Подключите батарейный; Подсоедините адаптер
- 10 Настройка
- 12 Запись/Воспроизведение; Запись; Откройте крышку объектива.
- 13 Запись при слабом освещении
- 14 Воспроизведение; на видеокамере; Нажмите кнопку
- 15 Экран воспроизведения фильма
- 16 Выберите
- 17 Выберите изображения,
- 18 Нажмите кнопку PROJECTOR.
- 19 Просмотр изображений, записанных на других; Изменение форматного соотношения изображения
- 20 Подключите видеокамеру
- 21 Сохранение фильмов и фотографий; Сохранение изображений на; Использование DVDirect Express
- 22 Воспроизведение диска на DVD-рекордере
- 27 Просмотр изображений, записанных на внешний носитель,
- 28 Использование компьютера; При подключении видеокамеры к компьютеру; Простая загрузка вне дома; Вид
- 29 При использовании Macintosh
- 30 Выберите страну или регион.
- 31 Отключение видеокамеры от
- 32 Запуск PMB; Использование “PMB; Щелкните “PMB Portable”.
- 34 Настройка видеокамеры; Использование меню; РУЧНАЯ НАСТР. (Элементы, настраиваемые для соответствия условиям; Рабочие меню
- 36 Использование OPTION MENU
- 37 Списки меню
- 41 Получение
- 42 Дополнительная информация; Индикаторы экрана
- 43 Детали и элементы
- 45 Поиск и; Закрепление наручного ремешка
- 50 Предполагаемое время зарядки и
- 51 О товарных знаках; Меры
- 53 Если видеокамера не используется в
- 57 Примечание относительно
- 58 Алфавитный указатель












