Видеокамеры Sony DCR-PC350E - инструкция пользователя по применению, эксплуатации и установке на русском языке. Мы надеемся, она поможет вам решить возникшие у вас вопросы при эксплуатации техники.
Если остались вопросы, задайте их в комментариях после инструкции.
"Загружаем инструкцию", означает, что нужно подождать пока файл загрузится и можно будет его читать онлайн. Некоторые инструкции очень большие и время их появления зависит от вашей скорости интернета.

Воспроизведение
60
Ускоренная перемотка ленты вперед
или назад
В режиме остановки нажмите
(ускоренная перемотка вперед) или
(ускоренная перемотка назад).
Просмотр фильмов в видоискателе
Закройте панель LCD.
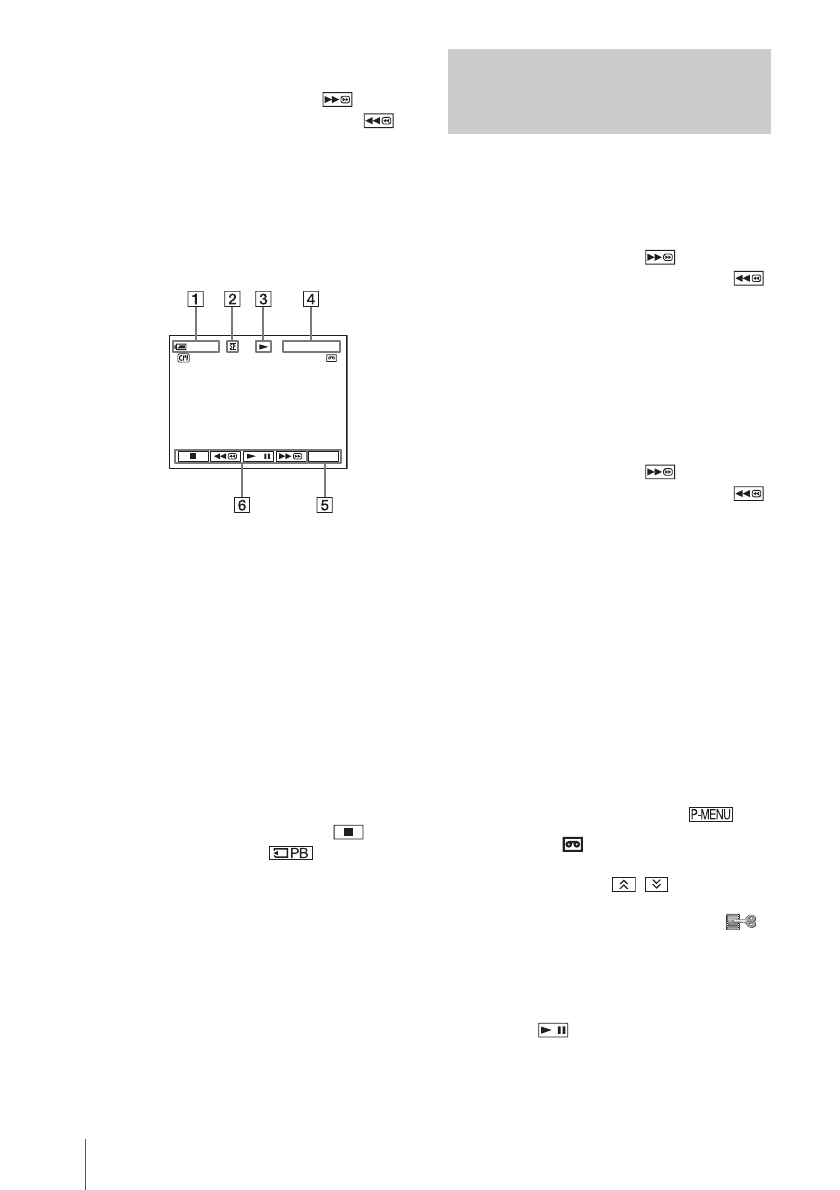
Индикаторы, отображаемые во
время воспроизведения кассеты
A
Оставшееся время работы
батарейного блока
B
Режим записи (SP или LP)
C
Индикатор движения ленты
D
Код времени (час: минуты: секунды:
кадр) или счетчик ленты (час:
минуты: секунды)
E
Кнопка персонального меню (стр. 74)
F
Кнопки управления
видеоизображением
Если установлена карта “Memory
Stick Duo”, при остановке
воспроизведения индикатор
(стоп) изменится на
(воспроизведение “Memory Stick
Duo”).
b
Примечание
• Если во время воспроизведения кассеты
нажать кнопку REC START/STOP (стр. 164),
фильм, записанный на кассете, запишется на
“Memory Stick Duo” (MPEG MOVIE EX).
Воспроизведение в различных
режимах
Ускоренная перемотка ленты вперед
или назад во время
воспроизведения – Поиск
изображения
Продолжайте нажимать
(ускоренная перемотка вперед) или
(ускоренная перемотка назад) во время
воспроизведения.
Для перехода к обычному
воспроизведению отпустите кнопку.
Просмотр изображения при
ускоренной перемотке ленты вперед
или назад – Поиск методом прогона
Продолжайте нажимать
(ускоренная перемотка вперед) или
(ускоренная перемотка назад) во время
ускоренной перемотки кассеты вперед
или назад.
Для возобновления обычной перемотки
ленты вперед или назад отпустите
кнопку.
Воспроизведение в различных
режимах
Записанный звук не будет слышен.
Можно также видеть, что на экране
останутся мозаичные элементы ранее
воспроизведенного изображения.
1
Во время воспроизведения или паузы
воспроизведения нажмите
.
2
Нажмите [
ИЗМ. СКОР.].
Если элемент не отображается на
экране, нажмите
/
. Если его не
удается найти, нажмите [MENU] и
выберите этот элемент в меню
(РЕД И ВОСПР).
3
Выберите режим воспроизведения.
Для возврата в обычный режим
воспроизведения дважды нажмите
кнопку
(воспроизведение/пауза)
(один раз для возврата из режима
покадрового воспроизведения).
0 : 0 0 : 0 0 : 15
6 0 мин
3 0 мин
P-MENU
Содержание
- 2 ПРЕДУПРЕЖДЕНИЕ; Дата изготовления фотоаппарата; ДЛЯ ПОКУПАТЕЛЕЙ В ЕВРОПЕ; ВНИМАНИЕ; Примечание
- 3 Примечания по записи
- 6 Запись неподвижных изображений; функции, доступные только для; Содержание
- 7 Поиск точки начала записи; Воспроизведение; Просмотр фильмов, записанных на кассету
- 8 Использование меню
- 9 Использование видеокамеры за; Краткий справочник; Обозначение деталей и органов
- 10 Краткое руководство; Запись фильмов; Присоедините заряженный батарейный блок к
- 11 ратк; Начните запись, глядя на экран LCD для контроля
- 12 Запись неподвижных; Вставьте “Memory Stick Duo” в видеокамеру.; была в правом
- 13 Начните запись, глядя на экран LCD для контроля снимаемого
- 14 Простое выполнение операций; размер шрифта на экране (
- 15 Подготовка к эксплуатации
- 16 Можно зарядить; батарейный блок
- 17 была
- 18 на; После зарядки батареи
- 19 Время зарядки; * Приблизительное время в минутах при; Батарейный блок; BATTERY INFO; записи
- 20 Время воспроизведения; * Переключатель LCD BACKLIGHT; ПРЕДОСТЕРЕЖЕНИЕ
- 21 записи на “Memory Stick Duo”.; Выключение питания
- 22 видоискателя; Регулировка панели LCD; Регулировка яркости экрана LCD; Совет
- 23 Регулировка видоискателя
- 24 месяцев; Выберите; УСТ; УСТАН
- 25 Часы начнут работать.; Установка кассеты
- 26 Нажмите кнопку; Выньте кассету, затем нажмите; Установка “Memory Stick Duo”; была в
- 27 экране; Включите видеокамеру.
- 29 Запись; Выберите режим записи.; Запись на кассету
- 30 – Просмотр
- 31 Папка для записи
- 32 В меню; * Минимальное расстояние между
- 33 Съемка панорамных изображений; Запись в зеркальном режиме
- 34 Появится индикация; Отмена времени выдержки; – Режим прогрессивной
- 36 изображений; – Фотосъемка в память
- 37 Нажмите кнопку PHOTO до конца.; для возврата в режим; или; Качество изображения
- 38 Использование вспышки
- 39 производится без вспышки.
- 42 – Easy Handycam; Запись фильма; Нажмите кнопку EASY.; Запуск режима
- 43 Нажмите кнопку EASY еще раз.
- 44 Нажмите нужный элемент.; затем
- 45 На экране появится индикация
- 46 затем нажмите
- 47 Запись в темноте; – Super NightShot
- 48 Фокусировка
- 49 Автоматическая фокусировка; Ручная фокусировка
- 50 Нажмите кнопку FOCUS еще раз.; – FADER
- 51 Нажмите
- 52 – Цифровой
- 53 Эффект
- 54 Отмена цифрового эффекта
- 55 Нажимая; в левой части экрана; Для функции [ЦВЕТ КАМ; Дважды нажмите
- 56 При записи на кассету; Отмена функции MEMORY MIX
- 57 Отмена операции; Ручной поиск – EDIT SEARCH; Удерживайте
- 58 Один раз нажмите
- 59 Пауза
- 60 В режиме остановки нажмите; Просмотр фильмов в видоискателе; Индикатор движения ленты; Продолжайте нажимать; Выберите режим воспроизведения.
- 61 пока; Действие
- 62 Duo”
- 63 Размер изображения
- 64 Кнопка выбора изображения; Поиск эпизода фильма
- 65 При воспроизведении кассеты; Отмена функции Easy Handycam
- 67 воспроизведения; Выберите меню
- 69 Скорость затвора; * Отображается только во время
- 70 экране телевизора; * При использовании кабеля S video; IN
- 71 кассете
- 72 Нажимайте кнопки
- 73 ПОИСК] установлено значение
- 74 Усовершенствованные; Выбор элементов; УСТ ПАМЯТИ; РЕЖИМ ЗАП
- 75 Выберите нужную установку.; Индикация; Также можно нажать кнопку
- 76 . После выбора установки; УСТ КАМЕРЫ
- 78 РЕЗКОСТЬ; появится, когда значение резкости
- 79 АВТОЗАТВОP; Можно отрегулировать экспозицию с помощью кнопок
- 80 SUPER NS; Полосатый узор не записывается.
- 81 АВТОЗАПУСК
- 82 STEADYSHOT; Эта функция служит для компенсации подрагивания видеокамеры.; ПРОГР ЗАПИСЬ
- 83 ЗАПУСК; УСТ ПАМЯТИ
- 84 РАЗМ СНИМК; РАЗМ ИЗОБР
- 85 ОСТАЛОСЬ; ФОРМАТ; Нажмите дважды
- 86 НОМЕP ФАЙЛА; ПАПКА ЗАПИСИ; выберите; ПАПКА ВОСПР; Выберите папку для воспроизведения с помощью кнопок
- 87 – ЭФФЕКТ; ФЕЙДЕР
- 88 MEMORY MIX
- 89 ПОКАДР ЗАП
- 90 Чтобы выбрать нужный интервал, нажмите; Начнется запись, а индикатор
- 92 Начнет мигать индикатор; Индикатор; РЕЖИМ ДЕМО; ПЕЧАТЬ
- 93 . Набор настраиваемых; РЕД И ВОСПР
- 94 ЗАПИСЬ DVD; с функцией
- 95 Цвет
- 96 С помощью кнопок; ОТОБP ТИТР; Можно просмотреть титр во время воспроизведения изображения.
- 97 нажмите
- 98 – РЕЖИМ; После выбора установки; АУДИОPЕЖИМ; СТАНД НАБОР
- 99 МУЛЬТИЗВУК; БАЛАНС ЗВУКА; Эта установка не повлияет на записанное изображение.; ЯРКОСТЬ ЖКД; Можно отрегулировать яркость подсветки экрана LCD.
- 100 ЦВЕТ ЖКД; DV
- 101 КОНТР РАМКА
- 102 ПУЛЬТ ДУ; ИНДИК ЗАПИСИ
- 103 МЕНЮ НАЗАД
- 104 Экран отображает те; УСТАН ЧАСОВ; . Установка часов будет выполнена с учетом разницы во времени.; LANGUAGE
- 105 меню; Добавление меню – Добавить; несколько раз, пока оно не; Меню добавлено в конец списка.
- 106 Удаление меню – Удалить
- 107 чтобы; Сброс
- 112 со значком; При записи на “Memory Stick Duo”
- 113 При записи фильма
- 115 эпизодов с кассеты; – Цифровой монтаж программы
- 116 При использовании кабеля i.LINK
- 118 видеомагнитофон”
- 121 Удаление программ
- 122 Подготовка к записи звука
- 123 Запись звука; Воспроизведение остановится.
- 126 исчезнет с изображения.
- 127 Отмена установки метки печати
- 129 Печать; Чтобы остановить процесс печати
- 130 Устранение неполадок; Общие функции; Неполадка
- 131 Батарейки/источники питания
- 132 Кассеты
- 136 “Memory Stick Duo”
- 140 сообщения; Индикация самодиагностики/предупреждающие индикаторы
- 143 Предупреждающие сообщения; Тематики; Батарея
- 147 Дополнительная информация; Подача питания; Система; Система
- 148 Cassette Memory; является торговой маркой.; Сигнал авторского права; При воспроизведении
- 149 Примечания по эксплуатации; После использования кассеты
- 150 Типы “Memory Stick”
- 151 Обращение
- 153 Зарядка батарейного блока
- 154 О хранении батарейного блока
- 156 О требуемом кабеле i.LINK
- 157 Конденсация влаги; Если произошла конденсация влаги
- 158 Примечание по конденсации влаги; Видеоголовка; Очистка экрана LCD
- 159 Прикоснитесь к знаку “; Обращение с корпусом
- 161 Видеокамера; Цветовой сигнал PAL, стандарт CCIR
- 162 Экран LCD; сопротивление менее 2,2 k
- 163 Емкость
- 164 Динамик; * Этой кнопкой нельзя воспользоваться в; qa
- 166 Гнездо S VIDEO; Крючок для плечевого ремня
- 168 Гнездо; Гнездо управления; Крышка гнезда; * Этими кнопками нельзя воспользоваться в; qs
- 169 Разъем интерфейса; Удобно при переноске видеокамеры.
- 170 Прикрепление ремня для захвата; Handycam Station
- 171 Пульт дистанционного управления; Кнопки; Удаление изоляционной вкладки.
- 173 Индикаторы экрана LCD и видоискателя; Индикаторы
- 175 ра; Указатель












