Видеокамеры Sony CCD-TRV438E - инструкция пользователя по применению, эксплуатации и установке на русском языке. Мы надеемся, она поможет вам решить возникшие у вас вопросы при эксплуатации техники.
Если остались вопросы, задайте их в комментариях после инструкции.
"Загружаем инструкцию", означает, что нужно подождать пока файл загрузится и можно будет его читать онлайн. Некоторые инструкции очень большие и время их появления зависит от вашей скорости интернета.

Воспроизведение
38
Просмотр фильмов в
видоискателе
Закройте панель LCD.
Индикаторы, отображаемые во
время воспроизведения
Для TRV238E/438E:
Для TRV270E/285E:
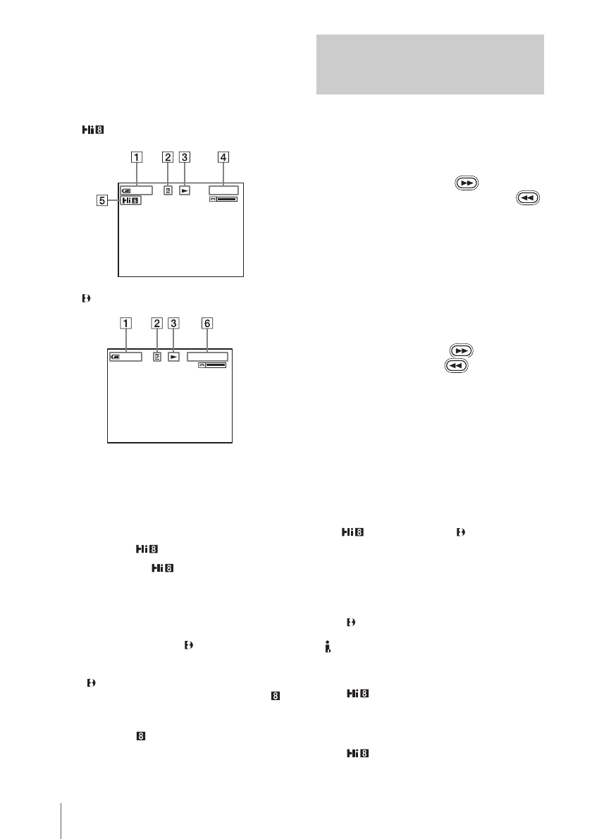
A
Оставшееся время работы
батарейного блока
B
Режим записи (SP или LP)
C
Индикатор движения ленты
D
Счетчик ленты (час: минуты:
секунды) (
TRV238E/438E)
E
Формат Hi8 (
TRV238E/438E)
Этот индикатор появляется во время
воспроизведения кассет формата Hi8.
F
Код времени (час: минуты: секунды:
кадр) или счетчик ленты (час:
минуты: секунды) ( TRV270E/285E)
b
Примечание
• Для TRV270E/285E:
При использовании кассеты standard 8 mm
обязательно воспроизводите кассету на
видеокамере. При воспроизведении кассеты
standard 8 mm
на других видеокамерах
(включая другие модели DCR-TRV270E/
TRV285E) могут появиться мозаичные
помехи.
Воспроизведение в различных
режимах
Ускоренная перемотка вперед
или назад во время
воспроизведения
– Поиск изображения
Продолжайте нажимать
(ускоренная перемотка вперед) или
(ускоренная перемотка назад) во время
воспроизведения.
Для перехода к обычному
воспроизведению отпустите кнопку.
Просмотр изображения при
ускоренной перемотке вперед
или назад – Поиск методом
прогона
Продолжайте нажимать
(ускоренная
перемотка вперед) или
(ускоренная
перемотка назад) во время ускоренной
перемотки ленты вперед или назад.
Для возобновления обычной перемотки
кассеты вперед или назад отпустите
кнопку.
Для просмотра изображений на
замедленной скорости
(замедленное
воспроизведение)
*
Для TRV238E/438E/
TRV285E:
Нажмите кнопку SLOW
y
на пульте
дистанционного управления во время
воспроизведения. Для возобновления
обычного воспроизведения нажмите
кнопку PLAY.
* Для TRV285E:
Изображения, выведенные через интерфейс
DV, нельзя воспроизвести в замедленном
режиме без помех.
b
Примечания
• Для TRV238E/438E:
Если замедленное воспроизведение длится
приблизительно более 1 минуты,
видеокамера автоматически вернется в
режим обычного воспроизведения.
• Для TRV238E/438E:
При воспроизведении кассеты, записанной в
0 : 0 0 : 0 0
6 0
мин
0 : 0 0 : 0 0 : 0 0
6 0
мин
Содержание
- 2 ПРЕДУПРЕЖДЕНИЕ; Дата изготовления изделия.; ДЛЯ ПОКУПАТЕЛЕЙ В ЕВРОПЕ; paздeльного cбоpa отxодов); Примечания по эксплуатации; Примечание относительно кассет; Примечания по записи
- 5 Запись неподвижных изображений – Фотосъемка на кассету; Содержание
- 6 Поиск последнего эпизода самой последней записи; Воспроизведение
- 8 Краткое руководство; Запись фильмов; Присоедините заряженный батарейный блок к видеокамере.
- 9 Кра; Начните запись, глядя на экран LCD для контроля
- 10 Простая запись и; В режиме Easy Handycam запись и воспроизведение выполнить; шрифта увеличивается (
- 11 Подгот; Подготовка к эксплуатации
- 12 Можно зарядить; батарейный блок; Примечания; Поднимите видоискатель.
- 13 Примечание
- 14 Время зарядки; Батарейный блок
- 15 Время воспроизведения; ПРЕДОСТЕРЕЖЕНИЕ
- 16 или монтаж изображений на кассете.; Выключение питания; Регулировка панели LCD
- 17 Советы; Регулировка видоискателя
- 18 месяцев
- 19 Передвиньте рычажок
- 20 Нажмите кнопку; Извлечение кассеты; Включите видеокамеру.
- 21 Совет
- 22 Запись
- 23 Оставшееся время записи; установки кассеты и записи в течение
- 24 В меню
- 25 : автоматически включается; Запись в зеркальном режиме
- 28 Простая запись; – Easy Handycam; Можно записывать только фильмы.; Нажмите кнопку EASY.; Нажмите кнопку EASY еще раз.; Запуск режима
- 29 На экране появится индикация; Нажмите кнопку EXPOSURE.
- 30 Запись в темноте; – NightShot plus; Появятся индикаторы
- 31 Ручная фокусировка; Автоматическая фокусировка
- 32 Это функция только для; Отмена операции
- 33 Наложение титра
- 35 – END SEARCH
- 36 Нажмите кнопку END SEARCH еще раз.
- 37 Просмотр; Нажмите; Регулировка громкости; Пауза
- 38 Индикатор движения ленты
- 40 Воспроизведите кассету.; Можно использовать следующие
- 41 Код данных
- 43 Быстрый поиск эпизода
- 44 Поиск фото
- 45 Фотосканирование
- 46 Усовершенствованные; Настройка видеокамеры; Отобразится экран меню.
- 47 . Набор настраиваемых; ПРОГР АЭ
- 49 АВТОЗАТВОР
- 52 для просмотра на экране широкоэкранного TV с размером экрана 16:9
- 53 STEADYSHOT; Эта функция служит для компенсации подрагивания видеокамеры.
- 54 На этом экране; ЗВУК HiFi; МОНТАЖ
- 56 ЦВЕТ ЖКД
- 57 АУДИОРЕЖИМ
- 58 УСТАН ORC; ОСТАЛОСЬ
- 59 Поверните диск SEL/PUSH EXEC для выбора [; Загорится индикатор
- 60 Нажмите кнопку MENU, чтобы скрыть установки меню.; Начнет мигать индикатор
- 61 АВТОДАТА; ПОТОК USB
- 62 LANGUAGE
- 63 КОД ДАННЫХ
- 64 АВТЗТВ ВЫК; ПУЛЬТ ДУ; ДИСПЛЕЙ
- 67 пис
- 69 Нажмите кнопку EASY DUB.
- 72 Титр высветится на экране.; c. Время воспроизведения
- 79 Можно удалить все программы.
- 80 Использование с компьютером; Функции; • Существует два способа подключения; Music Video/Slideshow Producer
- 81 Burning Video CD
- 82 Системные требования; Для пользователей Windows; При использовании Picture Package; Для пользователей Macintosh; При использовании ImageMixer VCD2
- 83 До подключения видеокамеры; Появится экран установки.
- 87 Дважды нажмите на значок; Цетнр Поддержки Пользователя Pixela; Об авторских правах
- 88 О товарных знаках
- 90 копирование
- 91 док; Устранение неполадок; Устранение; ss; Общие функции; Неполадка
- 92 Кассеты
- 93 Экран LCD/видоискатель
- 98 Подключение к компьютеру
- 99 В системах Windows 98; Установите диск CD-ROM в дисковод компьютера.
- 101 В системе Windows XP
- 103 Индикация самодиагностики/Предупреждающие индикаторы; Индикация
- 104 Предупреждающие сообщения; Батарея
- 105 Тема
- 106 Дополнительная информация; Использование; Подача питания; Система; Система
- 107 Система Hi8; При воспроизведении
- 108 После использования кассеты; и являются; Зарядка батарейного блока; • Перед использованием видеокамеры
- 109 О хранении батарейного блока
- 110 • Срок службы батарейного блока
- 111 О требуемом кабеле i.LINK
- 113 Конденсация влаги; Конденсация влаги. Извлеките; Примечания по конденсации влаги; Видеоголовка
- 114 Экран LCD; Очистка экрана LCD; Обращение с корпусом
- 115 Процедуры; Спецификации; Видеокамера; Цветовой сигнал PAL, стандарт МККР
- 116 Для TRV; Авто
- 118 Типы различий
- 119 Краткий справочник; Обозначение; Динамик
- 120 Объектив
- 121 REW (ускоренная перемотка
- 122 Окуляр; Прикрепление плечевого ремня
- 123 Пульт дистанционного управления; Передатчик
- 124 ВНИМАНИЕ
- 125 Индикаторы экрана LCD и видоискателя; Индикаторы
- 126 Указатель












