Видеокамеры Sony CCD-TRV238E - инструкция пользователя по применению, эксплуатации и установке на русском языке. Мы надеемся, она поможет вам решить возникшие у вас вопросы при эксплуатации техники.
Если остались вопросы, задайте их в комментариях после инструкции.
"Загружаем инструкцию", означает, что нужно подождать пока файл загрузится и можно будет его читать онлайн. Некоторые инструкции очень большие и время их появления зависит от вашей скорости интернета.

Перезапись/Монтаж
74
z
Совет
• На экране отобразится индикация
,
если соединение видеокамеры с другими
устройствами выполнено с помощью кабеля
i.LINK (этот индикатор может также
отобразиться на экране TV).
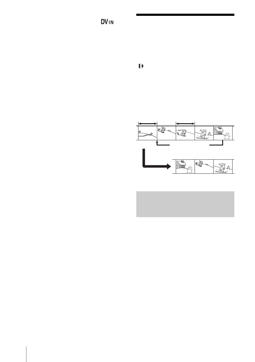
Перезапись
выбранных
эпизодов с кассеты
– Цифровой монтаж программы
( TRV270E/285E)
Можно выбрать до 20 эпизодов
(программ) и записать их в нужном
порядке на другом записывающем
устройстве, например,
видеомагнитофоне.
Шаг 1: подготовка
видеокамеры и
видеомагнитофона к работе
Если цифровой монтаж программы на
кассету в видеомагнитофоне
выполняется в первый раз, выполните
указанные ниже действия. Их можно
пропустить, если указанный ниже
процесс настройки видеомагнитофона
выполнялся ранее.
b
Примечания
• Нельзя выполнить цифровой монтаж
программы на следующих устройствах:
– видеомагнитофон, который не
поддерживает коды [УСТАН ИК];
– записывающее устройство DVD,
записывающее устройство DVD,
оснащенное жестким диском и т.д.
Изменить порядок
следования
Результаты монтажа
Удалить ненужные эпизоды
Содержание
- 2 ПРЕДУПРЕЖДЕНИЕ; Дата изготовления изделия.; ДЛЯ ПОКУПАТЕЛЕЙ В ЕВРОПЕ; paздeльного cбоpa отxодов); Примечания по эксплуатации; Примечание относительно кассет; Примечания по записи
- 5 Запись неподвижных изображений – Фотосъемка на кассету; Содержание
- 6 Поиск последнего эпизода самой последней записи; Воспроизведение
- 8 Краткое руководство; Запись фильмов; Присоедините заряженный батарейный блок к видеокамере.
- 9 Кра; Начните запись, глядя на экран LCD для контроля
- 10 Простая запись и; В режиме Easy Handycam запись и воспроизведение выполнить; шрифта увеличивается (
- 11 Подгот; Подготовка к эксплуатации
- 12 Можно зарядить; батарейный блок; Примечания; Поднимите видоискатель.
- 13 Примечание
- 14 Время зарядки; Батарейный блок
- 15 Время воспроизведения; ПРЕДОСТЕРЕЖЕНИЕ
- 16 или монтаж изображений на кассете.; Выключение питания; Регулировка панели LCD
- 17 Советы; Регулировка видоискателя
- 18 месяцев
- 19 Передвиньте рычажок
- 20 Нажмите кнопку; Извлечение кассеты; Включите видеокамеру.
- 21 Совет
- 22 Запись
- 23 Оставшееся время записи; установки кассеты и записи в течение
- 24 В меню
- 25 : автоматически включается; Запись в зеркальном режиме
- 28 Простая запись; – Easy Handycam; Можно записывать только фильмы.; Нажмите кнопку EASY.; Нажмите кнопку EASY еще раз.; Запуск режима
- 29 На экране появится индикация; Нажмите кнопку EXPOSURE.
- 30 Запись в темноте; – NightShot plus; Появятся индикаторы
- 31 Ручная фокусировка; Автоматическая фокусировка
- 32 Это функция только для; Отмена операции
- 33 Наложение титра
- 35 – END SEARCH
- 36 Нажмите кнопку END SEARCH еще раз.
- 37 Просмотр; Нажмите; Регулировка громкости; Пауза
- 38 Индикатор движения ленты
- 40 Воспроизведите кассету.; Можно использовать следующие
- 41 Код данных
- 43 Быстрый поиск эпизода
- 44 Поиск фото
- 45 Фотосканирование
- 46 Усовершенствованные; Настройка видеокамеры; Отобразится экран меню.
- 47 . Набор настраиваемых; ПРОГР АЭ
- 49 АВТОЗАТВОР
- 52 для просмотра на экране широкоэкранного TV с размером экрана 16:9
- 53 STEADYSHOT; Эта функция служит для компенсации подрагивания видеокамеры.
- 54 На этом экране; ЗВУК HiFi; МОНТАЖ
- 56 ЦВЕТ ЖКД
- 57 АУДИОРЕЖИМ
- 58 УСТАН ORC; ОСТАЛОСЬ
- 59 Поверните диск SEL/PUSH EXEC для выбора [; Загорится индикатор
- 60 Нажмите кнопку MENU, чтобы скрыть установки меню.; Начнет мигать индикатор
- 61 АВТОДАТА; ПОТОК USB
- 62 LANGUAGE
- 63 КОД ДАННЫХ
- 64 АВТЗТВ ВЫК; ПУЛЬТ ДУ; ДИСПЛЕЙ
- 67 пис
- 69 Нажмите кнопку EASY DUB.
- 72 Титр высветится на экране.; c. Время воспроизведения
- 79 Можно удалить все программы.
- 80 Использование с компьютером; Функции; • Существует два способа подключения; Music Video/Slideshow Producer
- 81 Burning Video CD
- 82 Системные требования; Для пользователей Windows; При использовании Picture Package; Для пользователей Macintosh; При использовании ImageMixer VCD2
- 83 До подключения видеокамеры; Появится экран установки.
- 87 Дважды нажмите на значок; Цетнр Поддержки Пользователя Pixela; Об авторских правах
- 88 О товарных знаках
- 90 копирование
- 91 док; Устранение неполадок; Устранение; ss; Общие функции; Неполадка
- 92 Кассеты
- 93 Экран LCD/видоискатель
- 98 Подключение к компьютеру
- 99 В системах Windows 98; Установите диск CD-ROM в дисковод компьютера.
- 101 В системе Windows XP
- 103 Индикация самодиагностики/Предупреждающие индикаторы; Индикация
- 104 Предупреждающие сообщения; Батарея
- 105 Тема
- 106 Дополнительная информация; Использование; Подача питания; Система; Система
- 107 Система Hi8; При воспроизведении
- 108 После использования кассеты; и являются; Зарядка батарейного блока; • Перед использованием видеокамеры
- 109 О хранении батарейного блока
- 110 • Срок службы батарейного блока
- 111 О требуемом кабеле i.LINK
- 113 Конденсация влаги; Конденсация влаги. Извлеките; Примечания по конденсации влаги; Видеоголовка
- 114 Экран LCD; Очистка экрана LCD; Обращение с корпусом
- 115 Процедуры; Спецификации; Видеокамера; Цветовой сигнал PAL, стандарт МККР
- 116 Для TRV; Авто
- 118 Типы различий
- 119 Краткий справочник; Обозначение; Динамик
- 120 Объектив
- 121 REW (ускоренная перемотка
- 122 Окуляр; Прикрепление плечевого ремня
- 123 Пульт дистанционного управления; Передатчик
- 124 ВНИМАНИЕ
- 125 Индикаторы экрана LCD и видоискателя; Индикаторы
- 126 Указатель












