Видеокамеры Sony CCD-TRV228E - инструкция пользователя по применению, эксплуатации и установке на русском языке. Мы надеемся, она поможет вам решить возникшие у вас вопросы при эксплуатации техники.
Если остались вопросы, задайте их в комментариях после инструкции.
"Загружаем инструкцию", означает, что нужно подождать пока файл загрузится и можно будет его читать онлайн. Некоторые инструкции очень большие и время их появления зависит от вашей скорости интернета.

Вос
произ
ве
де
ние
Воспроизведение
43
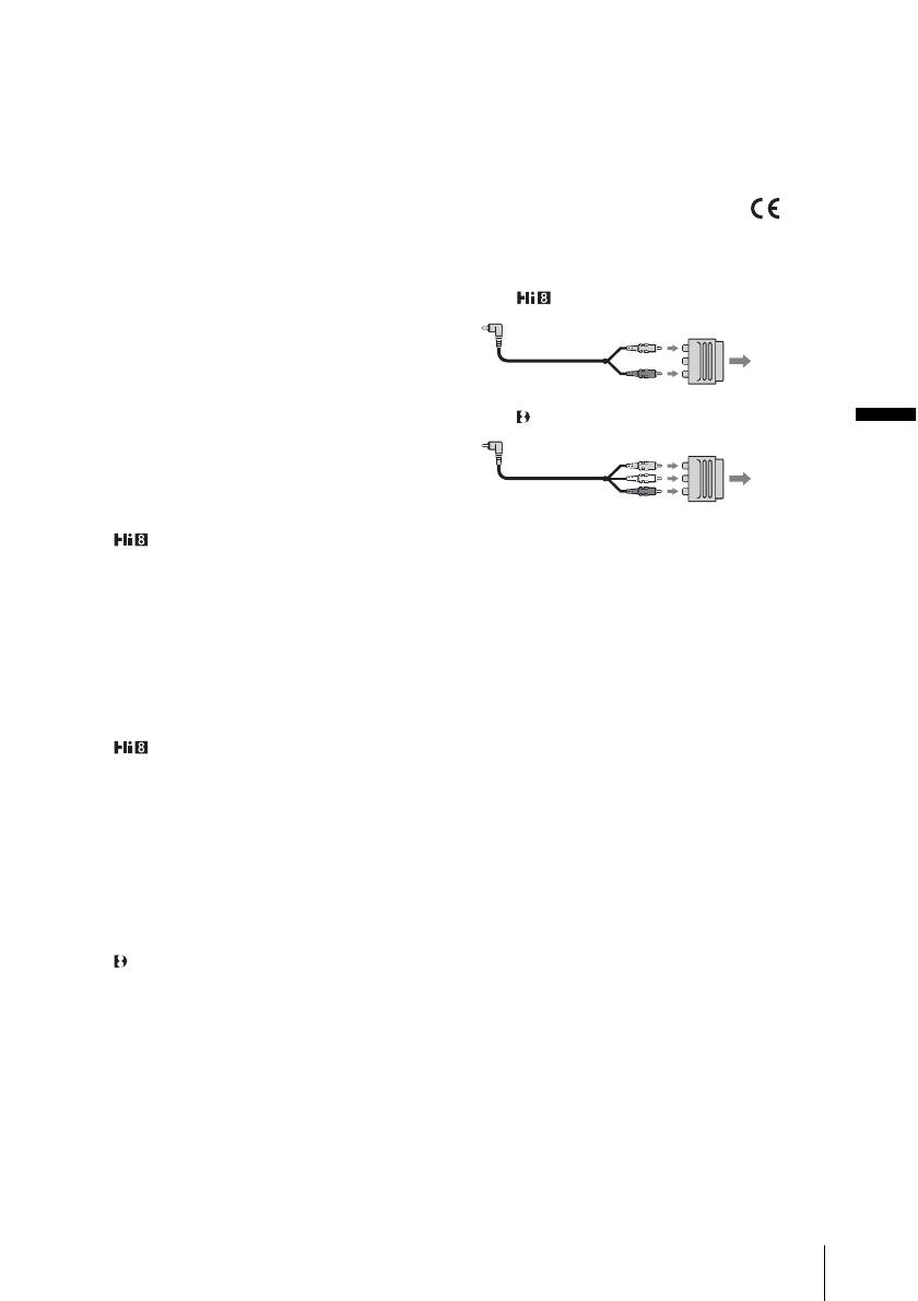
* Изображение может быть воспроизведено
более достоверно при использовании кабеля
S video (приобретается дополнительно). Если
на устройстве, к которому выполняется
подключение, имеется гнездо S video, то
вместо желтого штекера рекомендуется
подсоединить кабель S video (приобретается
дополнительно) к гнездам S video на
видеокамере и устройстве.
Если подсоединен только штекер S video,
звук выводиться не будет.
Если TV подсоединен к
видеомагнитофону
Подключите видеокамеру к входному
гнезду LINE IN видеомагнитофона с
помощью соединительного кабеля A/V.
Установите селектор входного сигнала
на видеомагнитофоне в положение LINE.
Для подключения к телевизору
без гнезд аудио/видеовхода
Для TRV228E/428E:
Используйте для системы PAL адаптер
RFU (приобретается дополнительно).
Обратитесь к инструкции по
эксплуатации телевизора и адаптера
RFU.
При наличии телевизора,
поддерживающего стерео
Для TRV228E/428E:
Подсоедините аудиоштекер
соединительного кабеля A/V к левому
(белому) входному гнезду телевизора.
Если используется TV
монофонического типа (т.е. на
TV имеется только одно
входное гнездо аудиосигнала)
Для TRV255E/265E:
Подсоедините желтый штекер
соединительного кабеля A/V к входному
гнезду видеосигнала, а белый или
красный штекер - к входному гнезду
аудиосигнала на TV или
видеомагнитофоне.
Для воспроизведения звука в
монофоническом режиме используйте
соединительный кабель (приобретается
дополнительно).
Если в телевизоре или
видеомагнитофоне имеется 21-
штырьковый разъем
(EUROCONNECTOR)
Используйте 21-штырьковый адаптер,
прилагаемый к этой видеокамере
(только для моделей со знаком
на
нижней стороне). Данный адаптер
предназначен исключительно для
вывода.
Для TRV228E/428E:
Для TRV255E/265E:
Телевизор/
видеомагни-
тофон
Телевизор/
видеомагни-
тофон
Содержание
- 102 Примечание относительно кассет
- 104 Запись неподвижных изображений – Фотосъемка на кассету; Содержание
- 105 Поиск последнего эпизода самой последней записи; Воспроизведение; Поиск эпизода для воспроизведения на кассете
- 108 Краткое руководство; Запись фильмов; Присоедините заряженный батарейный блок к видеокамере.
- 109 Кра; Начните запись, глядя на экран LCD для контроля
- 110 шрифта увеличивается (
- 111 Подготовка к эксплуатации; Только для моделей со знаком
- 112 Можно зарядить; батарейный блок; Поднимите видоискатель.
- 113 После зарядки батареи
- 114 Время зарядки; Батарейный блок
- 115 Время воспроизведения; ПРЕДОСТЕРЕЖЕНИЕ
- 116 или монтаж изображений на кассете.; Выключение питания; видоискателя; Регулировка панели LCD
- 117 Регулировка видоискателя
- 119 и Hi8; Передвиньте рычажок
- 120 Нажмите кнопку; Извлечение кассеты; экране; Включите видеокамеру.
- 122 Запись
- 123 Оставшееся время записи
- 124 В меню
- 125 : автоматически включается; Запись в зеркальном режиме
- 127 изображений
- 128 Простая запись; Можно записывать только фильмы.; Нажмите кнопку EASY.; Нажмите кнопку EASY еще раз.; Запуск режима
- 129 На экране появится индикация; Нажмите кнопку EXPOSURE.
- 130 Запись в темноте; – NightShot plus; Появятся индикаторы
- 131 Ручная фокусировка; Автоматическая фокусировка
- 132 Это функция только для; Отмена операции
- 133 Наложение титра
- 135 последней записи
- 136 Нажмите кнопку END SEARCH еще раз.
- 137 кассету; Нажмите; Регулировка громкости; Пауза
- 138 Индикатор движения ленты
- 140 Воспроизведите кассету.; Можно использовать следующие; воспроизведения
- 141 Код данных
- 142 экране TV
- 143 на
- 144 кассете; Быстрый поиск эпизода
- 145 Поиск фото; Фотосканирование
- 147 Усовершенствованные; Настройка видеокамеры; Изменение; Отобразится экран меню.
- 148 . Набор настраиваемых; ПРОГР АЭ
- 150 АВТОЗАТВОР
- 153 для просмотра на экране широкоэкранного TV с размером экрана 16:9
- 154 Эта функция служит для компенсации подрагивания видеокамеры.
- 155 На этом экране; ЗВУК HiFi; МОНТАЖ
- 157 ЦВЕТ ЖКД
- 158 АУДИОРЕЖИМ
- 159 УСТАН ORC; ОСТАЛОСЬ
- 160 Поверните диск SEL/PUSH EXEC для выбора [; Загорится индикатор
- 161 Нажмите кнопку MENU, чтобы скрыть установки меню.; Начнет мигать индикатор
- 162 АВТОДАТА; ПОТОК USB
- 163 LANGUAGE
- 164 КОД ДАННЫХ
- 165 АВТЗТВ ВЫК; ПУЛЬТ ДУ; ДИСПЛЕЙ
- 167 ез
- 171 Нажмите кнопку EASY DUB.
- 173 Титр высветится на экране.
- 175 видеокамеры
- 176 эпизодов с кассеты
- 181 Можно удалить все программы.
- 182 Устранение неполадок; Общие функции; Неполадка
- 183 Кассеты
- 184 Экран LCD/видоискатель
- 188 сообщения; Индикация самодиагностики/Предупреждающие индикаторы; Индикация
- 189 Предупреждающие сообщения
- 190 Тема
- 191 Дополнительная информация; Подача питания; Система
- 192 Система Hi8; Эта система Hi8; Система Digital8; –кассета была извлечена во время; Сигнал авторского права; При воспроизведении; Примечания по эксплуатации
- 193 После использования кассеты; являются; Зарядка батарейного блока; • Перед использованием видеокамеры
- 194 О хранении батарейного блока
- 195 • Срок службы батарейного блока
- 196 О требуемом кабеле i.LINK
- 198 Конденсация влаги; Конденсация влаги. Извлеките; Примечания по конденсации влаги; Видеоголовка
- 199 Экран LCD; Очистка экрана LCD; Обращение с корпусом
- 200 Процедуры; Спецификации; Видеокамера
- 201 Для TRV
- 203 Типы различий
- 204 Краткий справочник; Динамик
- 205 Объектив
- 206 REW (ускоренная перемотка
- 207 Окуляр; Прикрепление плечевого ремня
- 208 Пульт дистанционного управления; Передатчик
- 209 ВНИМАНИЕ
- 210 Индикаторы экрана LCD и видоискателя; Индикаторы
- 211 Указатель












