Видеокамеры Rekam DVC 540 - инструкция пользователя по применению, эксплуатации и установке на русском языке. Мы надеемся, она поможет вам решить возникшие у вас вопросы при эксплуатации техники.
Если остались вопросы, задайте их в комментариях после инструкции.
"Загружаем инструкцию", означает, что нужно подождать пока файл загрузится и можно будет его читать онлайн. Некоторые инструкции очень большие и время их появления зависит от вашей скорости интернета.

3
1.
P R E PA R I N G F O R U S I N G
1.1
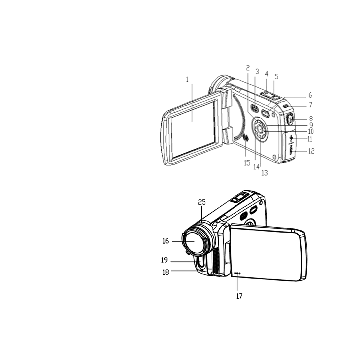
Parts of the camera
1 . LCD screen
2 . Up/Playback
button
3 . Power button
4 . T/Zoom in button
5 . W/Zoom out
button
6 . Mode button
7 . Charging indicator
light
8 . Shutter button
9 . OK/MENU button
10 . Right/LED lamp
button
11 . USB jack
12 . HDMI jack
13 . Down / Wi-Fi
button
Содержание
- 27 Установка батареи и карты памяти
- 29 Форматирование карты памяти
- 30 Смена режимов работы
- 31 Отображение элементов на LCD экране; Видео режим
- 33 Настройки камеры; Перед тем как приступить к фотосъемке или записи видео,
- 35 З А П И С Ь В И Д Е О
- 37 Режим видео меню
- 38 Р Е Ж И М Ф ОТО СЪ Е М К И; Включите камеру и нажмите кнопку «Режим», чтобы пе
- 40 Меню Режима фотосъемки
- 41 В О С П Р О И З В Е Д Е Н И Е; Переключите камеру в режим воспроизведения.
- 42 Меню режима воспроизведения
- 43 Загрузка файлов на компьютер
- 46 Использование камеры как PC-камеры
- 47 С П Е Ц И Ф И КА Ц И И